lemon-mirror:
Home >> Infiniti >> 2012 >> EX35 Base, AWD >> Repair and Diagnosis >> Body & Frame >> Seats >> Automatic Drive Positioner System >> System Description >> Automatic Drive Positioner System >> Memory Function >> MEMORY FUNCTION: System Diagram

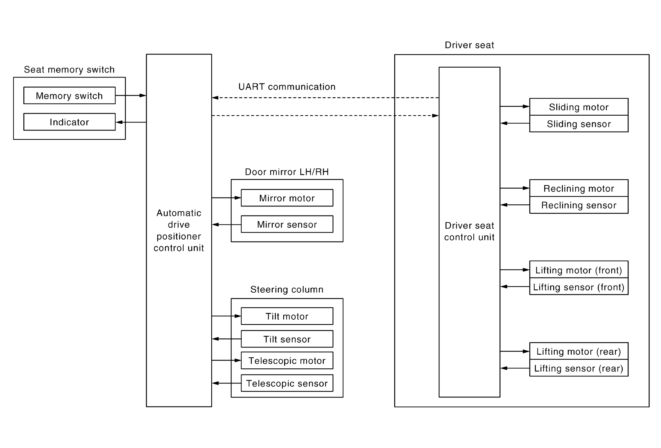
MEMORY FUNCTION: System Diagram

Fig 1: Memory Function - System Diagram
G05226262Courtesy of NISSAN NORTH AMERICA, INC.