lemon-mirror:
Home >> Infiniti >> 2012 >> EX35 Base, AWD >> Repair and Diagnosis >> Transmission >> Automatic Transmission >> System Description >> A/T Control System >> System Diagram

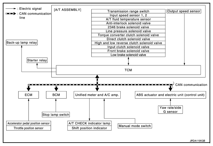
System Diagram

Fig 1: A/T Control - System Diagram
G08197031Courtesy of NISSAN NORTH AMERICA, INC.