lemon-mirror:
Home >> Infiniti >> 2012 >> EX35 Base, AWD >> Repair and Diagnosis >> Transmission >> Automatic Transmission >> System Description >> Shift Change Control >> System Diagram

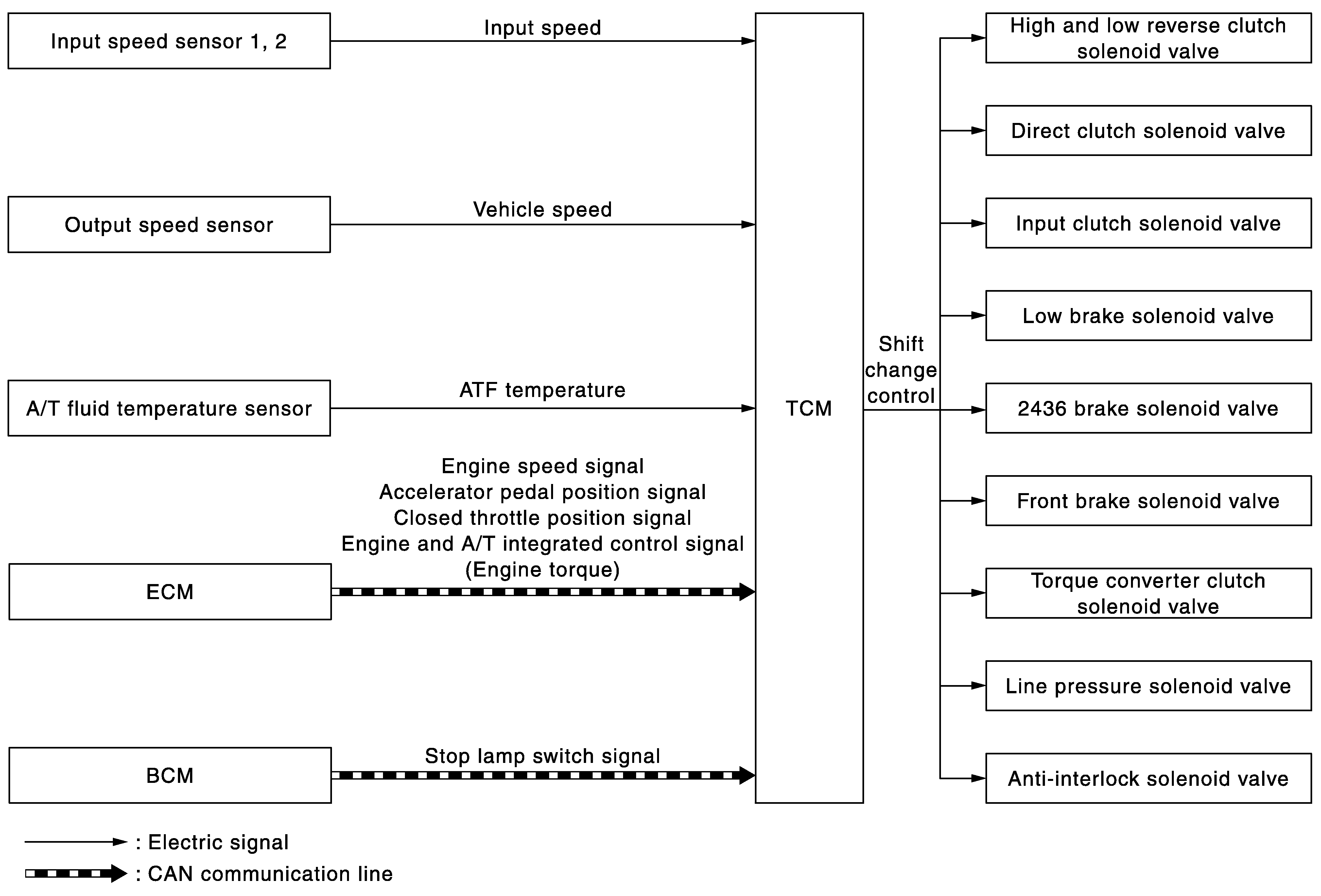
System Diagram

Fig 1: Shift Change Control - System Diagram
G05969729Courtesy of NISSAN NORTH AMERICA, INC.