lemon-mirror:
Home >> Infiniti >> 2012 >> FX35 RWD >> Repair and Diagnosis >> Transmission >> Automatic Transmission >> System Description >> A/T Control System >> System Diagram

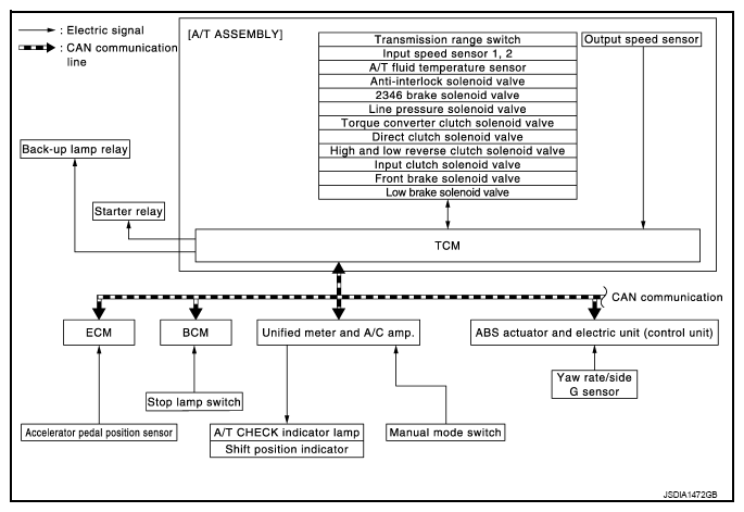
System Diagram

Fig 1: A/T Control System - System Diagram
G08217196Courtesy of NISSAN NORTH AMERICA, INC.