lemon-mirror:
Home >> Infiniti >> 2012 >> FX50 >> Repair and Diagnosis >> Brakes >> Traction Control >> Brake Control System (VDC/TCS/Abs) >> System Description >> Abs >> System Diagram

System Diagram

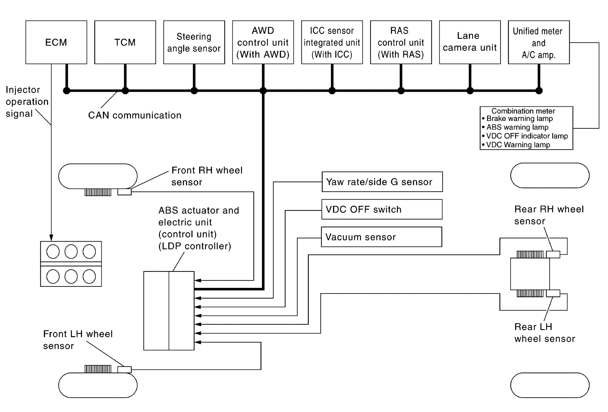
Fig 1: ABS - System Diagram With LDP (VK50VE Models)
G08218031Courtesy of NISSAN NORTH AMERICA, INC.
Fig 2: ABS - System Diagram With LDP (VQ35HR Models)
G08218032Courtesy of NISSAN NORTH AMERICA, INC.
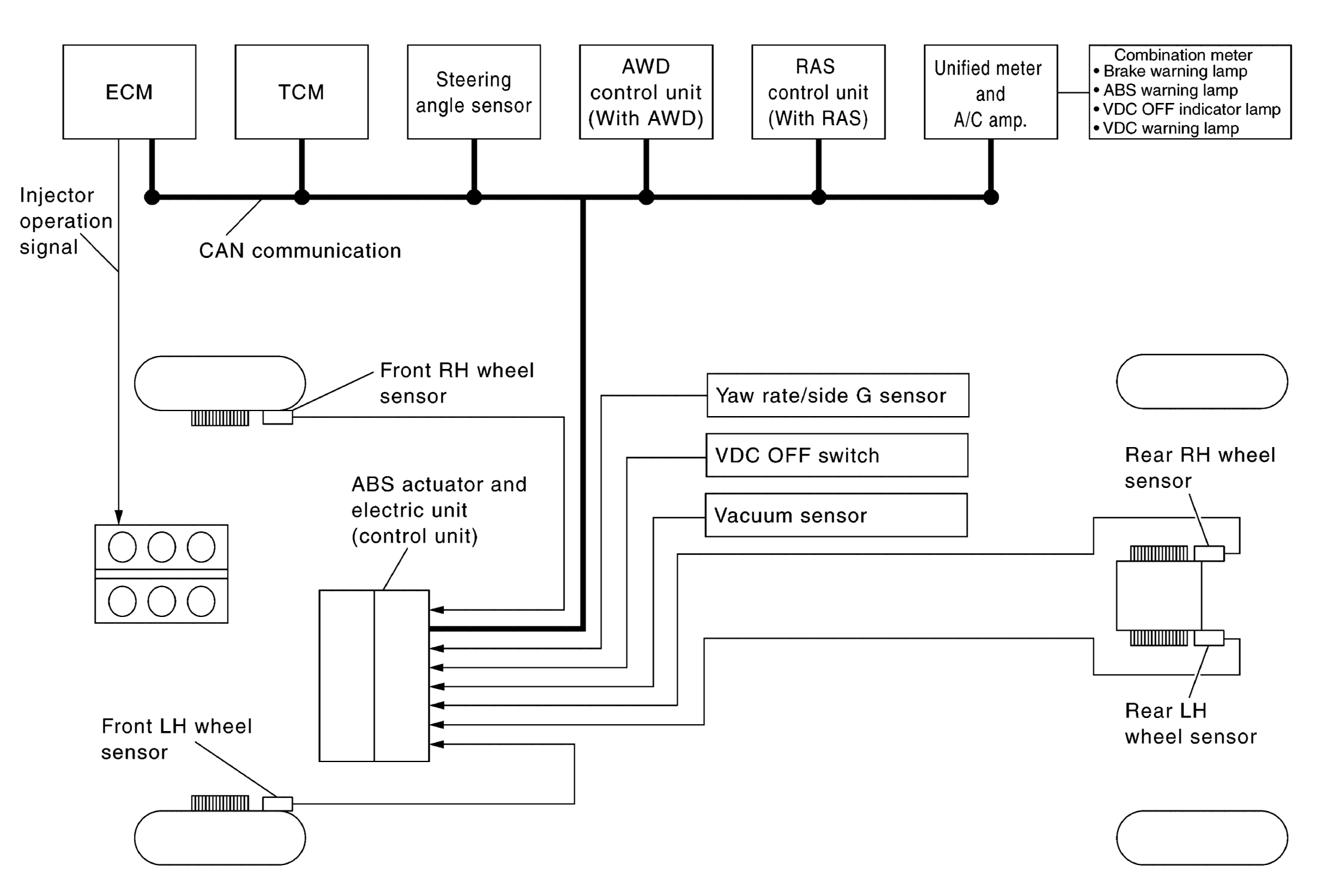
Fig 3: ABS - System Diagram Without LDP (VK50VE Models)
G08218033Courtesy of NISSAN NORTH AMERICA, INC.
Fig 4: ABS - System Diagram Without LDP (VQ35HR Models)
G08218034Courtesy of NISSAN NORTH AMERICA, INC.