lemon-mirror:
Home >> Infiniti >> 2012 >> FX50 >> Repair and Diagnosis >> Electrical >> Body Electrical >> Power Control System (IPDM E/R) >> System Description >> Power Consumption Control System >> System Diagram

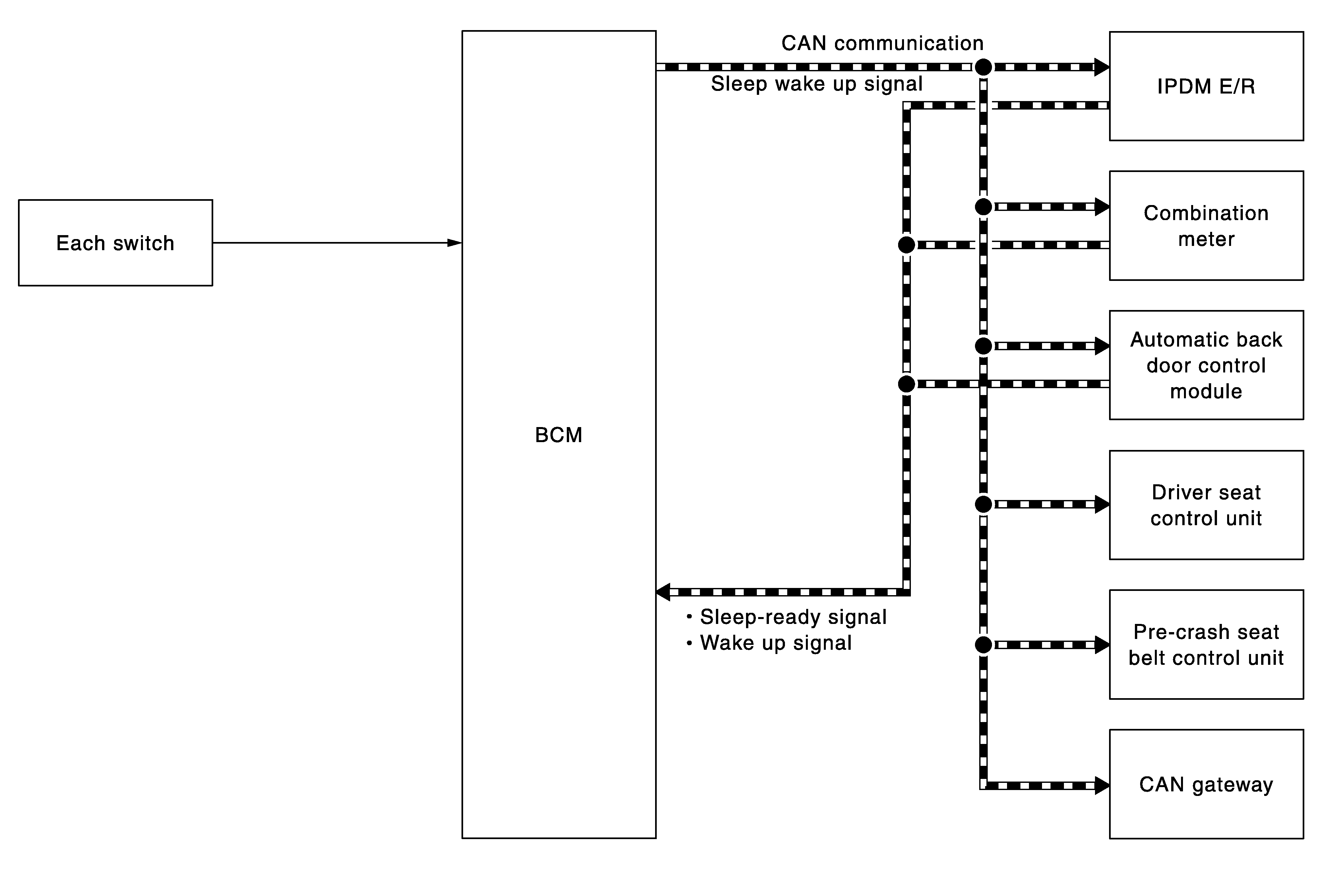
System Diagram

Fig 1: Power Consumption Control - System Diagram
G07024498Courtesy of NISSAN NORTH AMERICA, INC.
NOTE: Combination meter is received via unified meter and A/C amp.