lemon-mirror:
Home >> Infiniti >> 2012 >> FX50 >> Repair and Diagnosis >> External Pages >> Different car >> Section 9 (Power Window Control System (CROSSCABRIOLET)) >> System Description >> System >> System Diagram

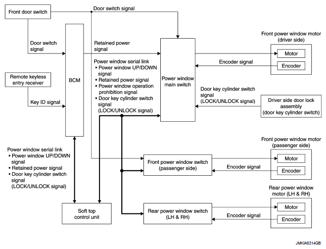
System Diagram

WARNING: This page is about a different car, the 2011 Nissan Murano. However, it is still accessible from the selected car via links, so may be relevant.
Fig 1: Power Window Control System Diagram
G07133822Courtesy of NISSAN MOTOR CO., U.S.A.