lemon-mirror:
Home >> Infiniti >> 2012 >> FX50 >> Repair and Diagnosis >> Transmission >> Automatic Transmission >> Unit Disassembly And Assembly >> Transmission Assembly >> Assembly

Transmission Assembly: Assembly

  1. As shown in the figure, use a drift [22 mm (0.87 in) Dia. commercial service tool] to drive manual shaft oil seals into the transmission case until it is flush.
    CAUTION:
    • Never reuse manual shaft oil seals.
    • Apply ATF to manual shaft oil seals.
    Fig 1: Installing Driving Manual Shaft Oil Seals Into Transmission Case Using Drift
    G07013621Courtesy of NISSAN NORTH AMERICA, INC.
  2. Install detent spring to transmission case. Tighten detent spring bolt to the specified torque.
    Fig 2: Locating Detent Spring Mounting Bolts
    G08217844Courtesy of NISSAN NORTH AMERICA, INC.
  3. Install manual shaft to transmission case.
    Fig 3: Removing/Installing Transmission Case Manual Shaft
    G07013613Courtesy of NISSAN NORTH AMERICA, INC.
  4. Install parking rod (1) to manual plate (2).
    Fig 4: Installing Manual Plate Parking Rod
    G07013624Courtesy of NISSAN NORTH AMERICA, INC.
  5. Install manual plate (with parking rod) to manual shaft.
    Fig 5: Removing/Installing Manual Plate
    G07013625Courtesy of NISSAN NORTH AMERICA, INC.
  6. Install retaining pin (1) into the manual plate and manual shaft.
    1. Fit pinhole of the manual plate to pinhole of the manual shaft with a pin punch.
    2. Use a hammer to tap the retaining pin into the manual plate.

    A: Approx. 2 mm (0.08in) 

    CAUTION: Drive retaining pin to 2±0.5 mm (0.08±0.020 in) over the manual plate.
    Fig 6: Identifying Retaining Pin
    G08104198Courtesy of NISSAN NORTH AMERICA, INC.
  7. Install retaining pin into the transmission case and manual shaft.
    1. Fit pinhole of the transmission case to pinhole of the manual shaft with a pin punch.
    2. Use a hammer to tap the retaining pin into the transmission case.
    CAUTION: Drive retaining pin to 5±1 mm (0.20±0.04 in) over the transmission case.
    Fig 7: Identifying Retaining Pin, Transmission Case And Manual Shaft
    G07013627Courtesy of NISSAN NORTH AMERICA, INC.
  8. Install D-rings to reverse brake piston.
    Fig 8: Identifying D-Rings And Reverse Brake Piston
    G07013608Courtesy of NISSAN NORTH AMERICA, INC.
  9. Install reverse brake piston to transmission case.
    Fig 9: Identifying Reverse Brake Piston
    G07013629Courtesy of NISSAN NORTH AMERICA, INC.
  10. Install needle bearing to drum support edge surface.
    CAUTION: Check the direction of needle bearing. Refer to "LOCATION OF NEEDLE BEARINGS AND BEARING RACES ".
    Fig 10: Identifying Needle Bearing And Drum Support
    G07016159Courtesy of NISSAN NORTH AMERICA, INC.
  11. Install seal rings to drum support.
    Fig 11: Identifying Seal Rings And Drum Support
    G07013631Courtesy of NISSAN NORTH AMERICA, INC.
  12. Install reverse brake spring retainer and reverse brake return spring to transmission case.
    Fig 12: Identifying Spring Retainer
    G07016157Courtesy of NISSAN NORTH AMERICA, INC.
  13. Set the clutch spring compressor [SST: KV31102400 (J-34285 I and J-34285-87)]on reverse brake spring retainer and install snap ring (fixing spring retainer) to transmission case while compressing return spring.
    CAUTION:
    • Securely assemble them using a flat-bladed screwdriver so that snap ring tension is slightly weak.
    • Be careful not to damage snap ring.
    Fig 13: Installing Snap Ring In Transmission Case Using Press
    G04876166Courtesy of NISSAN NORTH AMERICA, INC.
  14. Install reverse brake component part (drive plates, driven plates, dish plates and retaining plate) to transmission case.
    CAUTION: Check order of plates.
    Fig 14: Identifying Snap Ring, Retaining, Drive, Driven And Dish Plate
    G08217856Courtesy of NISSAN NORTH AMERICA, INC.
  15. Assemble N-spring.
  16. Install reverse brake retaining plate to transmission case.
    Fig 15: Identifying N-Spring, Drive, Driven Plates And Transmission Case
    G07013635Courtesy of NISSAN NORTH AMERICA, INC.
  17. Install snap ring to transmission case.
    CAUTION: Be careful not to damage snap ring.
    Fig 16: Identifying Transmission Case Snap Ring
    G07013636Courtesy of NISSAN NORTH AMERICA, INC.
  18. Measure clearance between retaining plate and snap ring. If not within specified clearance, select proper retaining plate.

    Specified clearance "A" 

    Standard: " REVERSE BRAKE CLEARANCE  ". 

    Retaining plate  : Refer to "REVERSE BRAKE CLEARANCE "

    Fig 17: Identifying Clearance Between Retaining Plate And Snap Ring
    G07013637Courtesy of NISSAN NORTH AMERICA, INC.
  19. Install needle bearing to transmission case.
    CAUTION: Check the direction of needle bearing. Refer to "LOCATION OF NEEDLE BEARINGS AND BEARING RACES ".
    Fig 18: Identifying Transmission Case Needle Bearing
    G07013638Courtesy of NISSAN NORTH AMERICA, INC.
  20. Install output speed sensor (1) to transmission case. Tighten revolution sensor bolt to the specified torque.
    CAUTION:
    • Never subject it to impact by dropping or hitting it.
    • Never disassemble.
    • Never allow metal filings, etc. to get on the sensor's front edge magnetic area.
    • Never place in an area affected by magnetism.
    Fig 19: Locating Output Speed Sensor Mounting Bolt
    G08217861Courtesy of NISSAN NORTH AMERICA, INC.
  21. As shown in the figure, use the drift [64 mm (2.52 in) Dia. commercial service tool] (A) to drive rear oil seal into adapter case until it is flush.
    CAUTION:
    • Never reuse rear oil seal.
    • Apply ATF to rear oil seal.
    Fig 20: Installing Rear Oil Into Adapter Case Using Drift
    G06307577Courtesy of NISSAN NORTH AMERICA, INC.
  22. Install return spring (1) to parking pawl (2).
    Fig 21: Identifying Return Spring And Parking Pawl
    G07013540Courtesy of NISSAN NORTH AMERICA, INC.
  23. Install parking pawl (with return spring) and pawl shaft to adapter case.
    Fig 22: Removing/Installing Rear Extension Parking Pawl And Pawl Shaft
    G07013618Courtesy of NISSAN NORTH AMERICA, INC.
  24. Install parking actuator support to adapter case.
    Fig 23: Removing/Installing Rear Extension Parking Actuator Support
    G07013617Courtesy of NISSAN NORTH AMERICA, INC.
  25. Install needle bearing (1) to adapter case.
    CAUTION: Check the direction of needle bearing. Refer to "LOCATION OF NEEDLE BEARINGS AND BEARING RACES ".
    Fig 24: Identifying Adapter Case Needle Bearing
    G07013537Courtesy of NISSAN NORTH AMERICA, INC.
  26. Install seal rings (1) to output shaft.
    Fig 25: Identifying Output Shaft Seal Rings
    G07013536Courtesy of NISSAN NORTH AMERICA, INC.
  27. Install parking gear (1) to output shaft (2).
    Fig 26: Removing/Installing Output Shaft Parking Gear
    G07016141Courtesy of NISSAN NORTH AMERICA, INC.
  28. Install output shaft to transmission case.
    CAUTION: Be careful not to mistake front for rear because both sides looks similar. (Thinner end is front side.)
    Fig 27: Rotating Left/Right To Output Shaft
    G07016140Courtesy of NISSAN NORTH AMERICA, INC.
  29. Install bearing race to output shaft.
    Fig 28: Removing/Installing Output Shaft Bearing Race
    G07016139Courtesy of NISSAN NORTH AMERICA, INC.
  30. Install gasket onto transmission case.
    CAUTION:
    • Completely remove all moisture, oil and old gasket, etc. from the transmission case and adapter case assembly mounting surfaces.
    • Never reuse gasket.
    Fig 29: Removing/Installing Transmission Case Gasket
    G07016148Courtesy of NISSAN NORTH AMERICA, INC.
  31. Install adapter case assembly to transmission case.
    CAUTION: Insert the tip of parking rod between the parking pawl and the parking actuator support when assembling the adapter case assembly.
    Fig 30: Removing/Installing Adapter Case Assembly
    G07016145Courtesy of NISSAN NORTH AMERICA, INC.
  32. Tighten adapter case assembly bolts to the specified torque.
    Fig 31: Identifying Adapter Case Assembly Bracket And Self-Sealing Bolt
    G08217873Courtesy of NISSAN NORTH AMERICA, INC.
  33. Install needle bearing to drum support.
    CAUTION: Check the direction of needle bearing. Refer to "LOCATION OF NEEDLE BEARINGS AND BEARING RACES ".
    Fig 32: Identifying Needle Bearing And Drum Support
    G07016126Courtesy of NISSAN NORTH AMERICA, INC.
  34. Install direct clutch assembly to reverse brake.
    CAUTION: Make sure that drum support edge surface and direct clutch inner boss edge surface come to almost same place.
    Fig 33: Identifying Direct Clutch Assembly
    G07016125Courtesy of NISSAN NORTH AMERICA, INC.
  35. Install high and low reverse clutch assembly to direct clutch.
    Fig 34: Identifying High And Low Reverse Clutch Assembly
    G07016124Courtesy of NISSAN NORTH AMERICA, INC.
  36. Align the drive plate using a flat-bladed screwdriver.
    Fig 35: Aligning Drive Plate Using Flat-Bladed Screwdriver
    G07013662Courtesy of NISSAN NORTH AMERICA, INC.
  37. Install high and low reverse clutch hub, mid sun gear assembly, and rear sun gear assembly as a unit.
    Fig 36: Identifying Rear And Mid Sun Gear Assembly
    G07016123Courtesy of NISSAN NORTH AMERICA, INC.
    CAUTION: Make sure that portion "A" of high and low reverse clutch drum protrudes approximately 2 mm (0.08 in) beyond portion "B" of rear sun gear.
    Fig 37: Identifying Portion Of High And Low Reverse Clutch Drum
    G07013664Courtesy of NISSAN NORTH AMERICA, INC.
  38. Install needle bearing to rear carrier assembly.
    CAUTION: Check the direction of needle bearing. Refer to "LOCATION OF NEEDLE BEARINGS AND BEARING RACES ".
    Fig 38: Removing/Installing Rear Carrier Assembly Needle Bearing
    G07013665Courtesy of NISSAN NORTH AMERICA, INC.
  39. Install bearing race to rear carrier assembly.
    CAUTION: Check the direction of needle bearing. Refer to "LOCATION OF NEEDLE BEARINGS AND BEARING RACES ".
    Fig 39: Removing/Installing Rear Carrier Assembly Bearing Race
    G07016121Courtesy of NISSAN NORTH AMERICA, INC.
  40. Install rear carrier assembly to direct clutch drum.
    Fig 40: Identifying Rear Carrier Assembly
    G07013667Courtesy of NISSAN NORTH AMERICA, INC.
  41. Install needle bearing (rear side) to mid carrier assembly.
    CAUTION: Check the direction of needle bearing. Refer to "LOCATION OF NEEDLE BEARINGS AND BEARING RACES ".
    Fig 41: Removing/Installing Mid Carrier Assembly Needle Bearing (Rear Side)
    G07016120Courtesy of NISSAN NORTH AMERICA, INC.
  42. Install needle bearing (front side) to mid carrier assembly.
    CAUTION: Check the direction of needle bearing. Refer to "LOCATION OF NEEDLE BEARINGS AND BEARING RACES ".
    Fig 42: Removing/Installing Mid Carrier Assembly Needle Bearing (Front Side)
    G07016119Courtesy of NISSAN NORTH AMERICA, INC.
  43. Install mid carrier assembly to rear carrier assembly.
    Fig 43: Identifying Rear Mid Carrier Assembly
    G07016117Courtesy of NISSAN NORTH AMERICA, INC.
  44. Install seal rings (1) to input clutch assembly.
    Fig 44: Identifying Input Clutch Assembly Seal Rings
    G07016116Courtesy of NISSAN NORTH AMERICA, INC.
  45. Install needle bearing (1) to front carrier assembly.
    CAUTION: Check the direction of needle bearing. Refer to "LOCATION OF NEEDLE BEARINGS AND BEARING RACES ".
    Fig 45: Identifying Front Carrier Assembly Needle Bearing
    G07016115Courtesy of NISSAN NORTH AMERICA, INC.
  46. Install input clutch assembly (with front carrier assembly and rear internal gear) (1) to transmission case.
    CAUTION: Check that the needle bearing (2) is securely positioned. If the needle bearing position is misaligned, adjust it to the specified position.
    Fig 46: Installing Transmission Case Input Clutch Assembly
    G07013673Courtesy of NISSAN NORTH AMERICA, INC.
  47. Install 1st one-way clutch (1) to front brake hub (with under drive carrier) (2).
  48. Check operation of 1st one-way clutch.
    1. Hold 1st one-way clutch.
    2. Check front brake hub for correct locking and unlocking directions.
    CAUTION: If not shown in figure, check installation direction of 1st one-way clutch.
    Fig 47: Identifying 1st One-Way Clutch And Front Brake Hub
    G08217889Courtesy of NISSAN NORTH AMERICA, INC.
  49. Install under drive carrier (with 1st one-way clutch) (1) to transmission case.
    Fig 48: Identifying Drive Carrier (With 1st One-Way Clutch)
    G07013675Courtesy of NISSAN NORTH AMERICA, INC.
  50. Install snap ring (1) to transmission case.
    CAUTION: Be careful not to damage snap ring.
    Fig 49: Identifying Transmission Case Snap Ring
    G07016111Courtesy of NISSAN NORTH AMERICA, INC.
  51. Install front brake component part (retaining plates, drive plates and driven plate) to transmission case.
    CAUTION: Check order of plates.
    Fig 50: Identifying Drive, Driven And Retaining Plates
    G08217892Courtesy of NISSAN NORTH AMERICA, INC.
  52. Install needle bearing (1) to under drive carrier assembly.
    CAUTION: Check the direction of needle bearing. Refer to "LOCATION OF NEEDLE BEARINGS AND BEARING RACES ".
    Fig 51: Identifying Drive Carrier Assembly Needle Bearing
    G07016109Courtesy of NISSAN NORTH AMERICA, INC.
  53. Install under drive sun gear (1) to under drive carrier assembly.
    Fig 52: Identifying Drive Carrier Assembly Sun Gear
    G07016107Courtesy of NISSAN NORTH AMERICA, INC.
  54. Adjustment of total end play "T".
    • Measure clearance between bearing race (1) and oil pump cover (2).
    • Select proper thickness of bearing race so that end play is within specifications.
    Fig 53: Identifying Clearance Between Bearing Race And Oil Pump Cover
    G07013680Courtesy of NISSAN NORTH AMERICA, INC.
    1. Measure dimensions "K" and "L", and calculate dimension "J".

      "J": Distance between the oil pump fitting surface of transmission case and the needle bearing mating surface of under drive sun gear. 

      J = K - L 

      Fig 54: Identifying Distance Between Oil Pump Fitting Surface And Needle Bearing Mating Surface Of Drive Sun Gear
      G08217896Courtesy of NISSAN NORTH AMERICA, INC.
      1. Measure dimension "K" between the converter housing fitting surface of transmission case and the needle bearing mating surface of under drive sun gear.
        CAUTION: Never change the straight edge installation position before the completion of "L" measurement.
        Fig 55: Measuring Dimension Between Converter Housing Fitting Surface And Needle Bearing Mating Surface
        G07013682Courtesy of NISSAN NORTH AMERICA, INC.
      2. ii. Measure dimension "L" between the converter housing fitting surface of transmission case and the oil pump fitting surface of transmission case.
      3. iii. Measure dimension "K" and "L" in at least three places, and take the average.
      4. iv. Calculate dimension "J".

      J = K - L 

      Fig 56: Identifying Dimension Between Converter Housing Fitting Surface And Oil Pump Fitting Surface Of Transmission Case
      G07013683Courtesy of NISSAN NORTH AMERICA, INC.
    2. Measure dimensions "M1" and "M2", and calculate dimension "M".

      "M": Distance between the transmission case fitting surface of oil pump and the needle bearing on oil pump. 

      M = M1- M2 

      Fig 57: Identifying Distance Between Transmission Case Fitting Surface And Needle Bearing On Oil Pump
      G08217899Courtesy of NISSAN NORTH AMERICA, INC.
      1. Place bearing race (1) and needle bearing (2) on oil pump assembly (3).
        Fig 58: Identifying Bearing Race, Needle Bearing And Oil Pump Assembly
        G07013685Courtesy of NISSAN NORTH AMERICA, INC.
      2. ii. Measure dimension "M1" between the transmission case fitting surface of oil pump and the end of oil pump.
        CAUTION: Measure dimension "M1" in at least three places, and take the average.
        Fig 59: Identifying Dimension Between Transmission Case Fitting Surface Of Oil Pump And End Of Oil Pump
        G08217901Courtesy of NISSAN NORTH AMERICA, INC.
      3. iii. Measure dimension "M2" between the needle bearing on oil pump and the end of oil pump.
        CAUTION: Measure dimension "M2" in at least three places, and take the average.
        Fig 60: Identifying Dimension Between Needle Bearing On Oil Pump And End Of Oil Pump
        G08217902Courtesy of NISSAN NORTH AMERICA, INC.
      4. iv. Calculate dimension "M".

        M = M1- M2 

    3. Adjust total end play "T".

      T = J - M 

      Total end play "T": Refer to " TOTAL END PLAY  ". 

      • Select proper thickness of bearing race so that total end play is within specifications.

      Bearing races: Refer to " TOTAL END PLAY  ". 

      Fig 61: Identifying Total End Play
      G08217903Courtesy of NISSAN NORTH AMERICA, INC.
  55. Adjustment of front brake clearance "C".
    • Measure clearance between front brake piston (1) and front brake retaining plate (2).
    • Select proper thickness of front brake retaining plat so that clearance is within specifications.
    Fig 62: Identifying Front Brake Clearance
    G07013689Courtesy of NISSAN NORTH AMERICA, INC.
    1. Measure dimensions "O" and "P", and calculate dimension "N".

      "N": Distance between the oil pump fitting surface of transmission case and the front brake retaining plate. 

      N = O - P 

      Fig 63: Identifying Distance Between Oil Pump Fitting Surface Of Transmission Case And Front Brake Retaining Plate
      G08217905Courtesy of NISSAN NORTH AMERICA, INC.
      1. Measure dimension "O" between the converter housing fitting surface of transmission case and the front brake retaining plate.
        CAUTION: Never change the straight edge installation position before the completion of "P" measurement.
        Fig 64: Identifying Dimension Between Converter Housing Fitting Surface Of Transmission Case And Front Brake Retaining Plate
        G08217906Courtesy of NISSAN NORTH AMERICA, INC.
      2. ii. Measure dimension "P" between the converter housing fitting surface of transmission case and the oil pump fitting surface of transmission case.
      3. iii. Measure dimension "O" and "P" in at least three places, and take the average.
      4. iv. Calculate dimension "N".

      N = O - P 

      Fig 65: Identifying Dimension Between Converter Housing And Oil Pump Fitting Surface Of Transmission Case
      G08217907Courtesy of NISSAN NORTH AMERICA, INC.
    2. Measure dimensions "Q1" and "Q2", and calculate dimension "Q".

      "Q": Distance between the transmission case fitting surface of oil pump and the front brake piston. 

      5Q = Q1- Q2 

      Fig 66: Identifying Distance Between Transmission Case Fitting Surface Of Oil Pump And Front Brake Piston
      G08217908Courtesy of NISSAN NORTH AMERICA, INC.
      1. Measure dimension "Q1" between the transmission case fitting surface of oil pump and the straightedge on front brake piston.
        CAUTION: Measure dimension "M2" in at least three places, and take the average.
        Fig 67: Identifying Dimension Between Transmission Case Fitting Surface Of Oil Pump And Straightedge On Front Brake Piston
        G08217909Courtesy of NISSAN NORTH AMERICA, INC.
      2. ii. Measure dimension "Q2" of the straightedge.
      3. iii. Calculate dimension "Q".

      Q = Q1- Q2 

      Fig 68: Identifying Straightedge Dimension Q2
      G08217910Courtesy of NISSAN NORTH AMERICA, INC.
    3. Adjust front brake clearance "C".

      C = N - Q 

      Front brake clearance "C": Refer to " FRONT BRAKE CLEARANCE  ". 

      • Select proper thickness of retaining plate so that front brake clearance is within specifications.
      Fig 69: Identifying Front Brake Clearance
      G08217911Courtesy of NISSAN NORTH AMERICA, INC.

      Retaining plate: Refer to " FRONT BRAKE CLEARANCE  ". 

  56. Remove under drive sun gear (1) from under drive carrier assembly.
    Fig 70: Identifying Drive Carrier Assembly Sun Gear
    G07016107Courtesy of NISSAN NORTH AMERICA, INC.
  57. Install needle bearing (1) to under drive sun gear.
    CAUTION: Check the direction of needle bearing. Refer to "LOCATION OF NEEDLE BEARINGS AND BEARING RACES ".
    Fig 71: Removing/Installing Drive Sun Gear Needle Bearing
    G07016108Courtesy of NISSAN NORTH AMERICA, INC.
  58. Install O-ring (1) to oil pump assembly.
    Fig 72: Identifying Oil Pump Assembly O-Ring
    G07016104Courtesy of NISSAN NORTH AMERICA, INC.
  59. Install seal ring (1) to oil pump assembly.
    Fig 73: Identifying Oil Pump Assembly Seal Ring
    G07016106Courtesy of NISSAN NORTH AMERICA, INC.
  60. Install bearing race (1) to oil pump assembly.
    Fig 74: Identifying Oil Pump Assembly Bearing Race
    G07016105Courtesy of NISSAN NORTH AMERICA, INC.
  61. Install under drive sun gear (with needle bearing) (1) to oil pump assembly (2).
    Fig 75: Identifying Under Drive Sun Gear And Oil Pump Assembly
    G07013702Courtesy of NISSAN NORTH AMERICA, INC.
  62. Install oil pump assembly (with under drive sun gear) to transmission case.
    CAUTION: Apply ATF to oil pump bearing.
    Fig 76: Installing Oil Pump Assembly (With Under Drive Sun Gear) To Transmission Case
    G07013703Courtesy of NISSAN NORTH AMERICA, INC.
  63. Apply recommended sealant to oil pump assembly as shown in the figure.
    CAUTION: Completely remove all moisture, oil and old sealant, etc. from the oil pump mounting bolts and oil pump mounting bolt mounting surfaces.
    Fig 77: Identifying Sealant Applying Areas On Oil Pump Assembly
    G08217919Courtesy of NISSAN NORTH AMERICA, INC.

    : Refer to "RECOMMENDED CHEMICAL PRODUCTS AND SEALANTS ".

  64. Tighten oil pump bolts ( indicated by Black arrows in the figure) to the specified torque.
    Fig 78: Locating Oil Pump Assembly Mounting Bolts
    G07013606Courtesy of NISSAN NORTH AMERICA, INC.
  65. Install O-ring to input clutch assembly.
    Fig 79: Identifying Input Clutch Assembly O-Ring
    G07013605Courtesy of NISSAN NORTH AMERICA, INC.
  66. Install converter housing to transmission case, and tighten converter housing bolts ( indicated by Black arrows in the figure) to the specified torque.
    Fig 80: Locating Converter Housing Bolts
    G07023132Courtesy of NISSAN NORTH AMERICA, INC.
  67. Connect TCM connector (A).
    Fig 81: Identifying TCM Connector
    G07016135Courtesy of NISSAN NORTH AMERICA, INC.
  68. Install joint connector (1) to the control valve & TCM.
    CAUTION: Apply ATF to O-ring of joint connector.
    Fig 82: Installing Control Valve Joint Connector
    G07013709Courtesy of NISSAN NORTH AMERICA, INC.
  69. Install the control valve & TCM (1) to transmission case.
    Fig 83: Removing/Installing Transmission Case Control Valve And TCM
    G07016133Courtesy of NISSAN NORTH AMERICA, INC.
    CAUTION:
    • Make sure that input speed sensor securely installs input [speed sensor holes (A).
    • Hang down output speed sensor harness toward outside so as not to disturb installation of the control valve & TCM.
    • Adjust A/T assembly harness connector of the control valve & TCM to terminal hole of transmission case.
      Fig 84: Identifying Input Speed Sensor Holes
      G07013524Courtesy of NISSAN NORTH AMERICA, INC.
    • Assemble it so that manual valve cutout is engaged with manual plate projection.
    Fig 85: Identifying Manual Valve And Plate
    G07013712Courtesy of NISSAN NORTH AMERICA, INC.
  70. Install bolts and clip (1) to the control valve & TCM. Tighten bolt (E) to the specified torque before tightening the other than bolts.
    Fig 86: Identifying Control Valve And TCM Mounting Bolt And Clips
    G08217928Courtesy of NISSAN NORTH AMERICA, INC.
    Bolt symbol Length mm (in) Number of bolts
    A 43 (1.69) 3
    B 40 (1.57) 2
    C 54 (2.13) 6
    D 50 (1.97) 2
    E(1) 50 (1.97) 1
    (1) Reamer bolt
  71. Connect output speed sensor connector (A).
  72. Engage output speed sensor harness with terminal clips ( indicated by Black arrows in the figure).
    Fig 87: Locating Output Speed Sensor Harness Terminal Clips
    G07013520Courtesy of NISSAN NORTH AMERICA, INC.
  73. Pull down joint connector (1).
    CAUTION: Be careful not to damage connector.
    Fig 88: Pulling Down Joint Connector
    G07013715Courtesy of NISSAN NORTH AMERICA, INC.
  74. Install snap ring (1) to joint connector (2).
    Fig 89: Identifying Joint Connector Snap Ring
    G07013716Courtesy of NISSAN NORTH AMERICA, INC.
  75. Install magnets (1) to oil pan.
  76. Install oil pan gasket to transmission case.
    CAUTION:
    • Never reuse oil pan gasket.
    • Install it in the direction to align hole positions.
    • Completely remove all moisture, oil and old gasket, etc. from oil pan gasket mounting surface.
    Fig 90: Identifying Oil Pan Magnets
    G07013517Courtesy of NISSAN NORTH AMERICA, INC.
  77. Install oil pan (2) and clips (1) to transmission case.
    CAUTION:
    • Be careful not to pinch harnesses.
    • Completely remove all moisture, oil and old gasket, etc. from oil pan mounting surface.
    Fig 91: Identifying Oil Pan Mounting Bolt
    G08217933Courtesy of NISSAN NORTH AMERICA, INC.
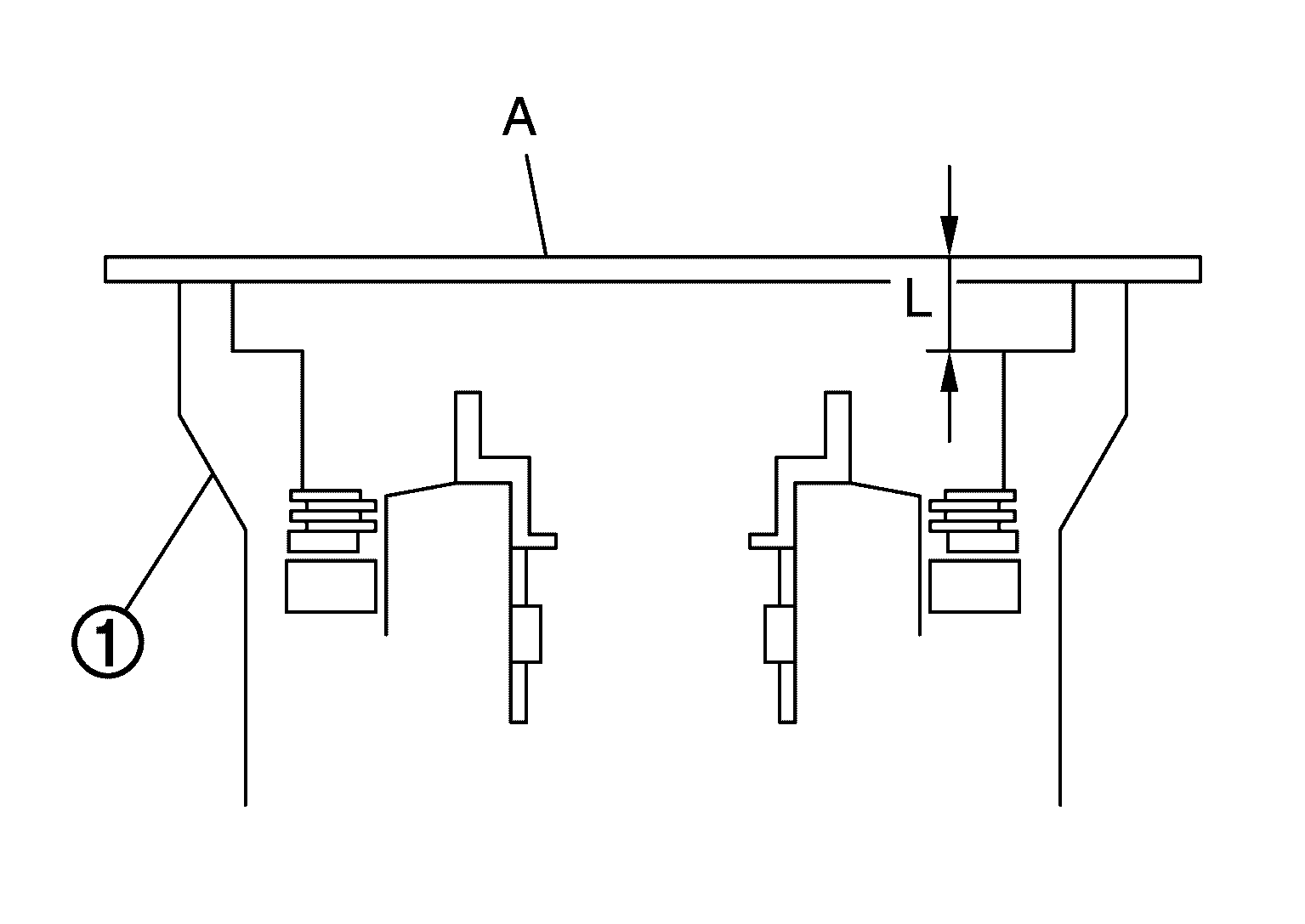
  78. Tighten oil pan mounting bolts to the specified torque in numerical order shown in the figure after temporarily tightening them. Tighten oil pan mounting bolts to the specified torque.
    CAUTION: Never reuse oil pan mounting bolts.
    Fig 92: Identifying Tightening Sequence Of Oil Pan Mounting Bolt
    G08217934Courtesy of NISSAN NORTH AMERICA, INC.
  79. Install drain plug to oil pan. Tighten drain plug to the specified torque.
    CAUTION: Never reuse drain plug gasket.
  80. Pour ATF into torque converter. r
    • Approximately 2 liter (2-1/8 US qt, 1-3/4 Imp qt) of ATF is required for a new torque converter.
    • When reusing old torque converter, add the same amount of ATF as was drained.
    Fig 93: Filling ATF Into Torque Converter
    G07013720Courtesy of NISSAN NORTH AMERICA, INC.
  81. Install torque converter while aligning notches of torque converter with notches of oil pump.
    CAUTION: Install torque converter while rotating it.
    Fig 94: Removing/Installing Torque Converter
    G07013721Courtesy of NISSAN NORTH AMERICA, INC.
  82. Measure dimension "A" to make sure that torque converter is in proper position.

    Dimension "A": Refer to " TORQUE CONVERTER  ". 

Fig 95: Measuring Dimension Between Torque Converter And Transmission Assembly Using Scale
G08217937Courtesy of NISSAN NORTH AMERICA, INC.