lemon-mirror:
Home >> Infiniti >> 2012 >> G25 Base >> Repair and Diagnosis (Single Page) >> Engine Mechanical >> Engine Mechanical >> Unit Disassembly And Assembly >> Cylinder Block >> Exploded View

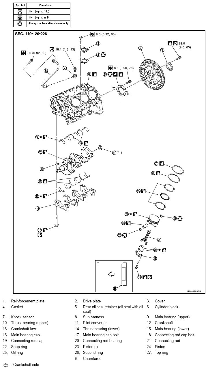
Exploded View

Fig 1: Exploded View Of Cylinder Block With Torque Specifications
G08456394Courtesy of NISSAN NORTH AMERICA, INC.

Refer to "COMPONENTS " for symbols in the figure.

Fig 2: Exploded View Of Cylinder Block With Torque Specifications (For Canada)
G08456395Courtesy of NISSAN NORTH AMERICA, INC.

Refer to "COMPONENTS " for symbols in the figure.