lemon-mirror:
Home >> Infiniti >> 2012 >> G25 Base >> Repair and Diagnosis >> Electrical >> Body Electrical >> Power Control System (Sedan) >> IPDM E/R >> System Description >> Relay Control System >> System Diagram

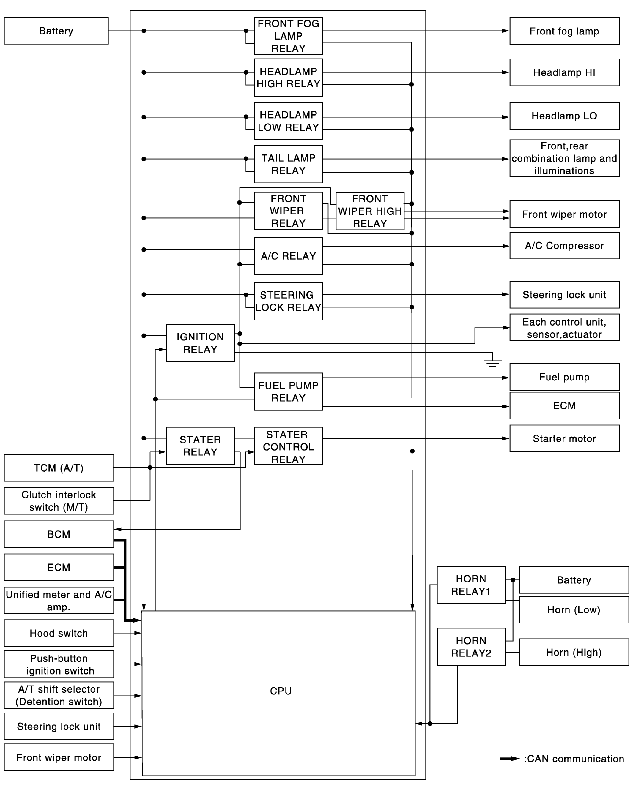
System Diagram

Fig 1: Relay Control - System Diagram
G05975004Courtesy of NISSAN NORTH AMERICA, INC.