lemon-mirror:
Home >> Infiniti >> 2012 >> G25 Base >> Repair and Diagnosis >> External Pages >> Different car >> Section 85 (Power Control System) >> IPDM E/R >> System Description >> Relay Control System >> System Diagram

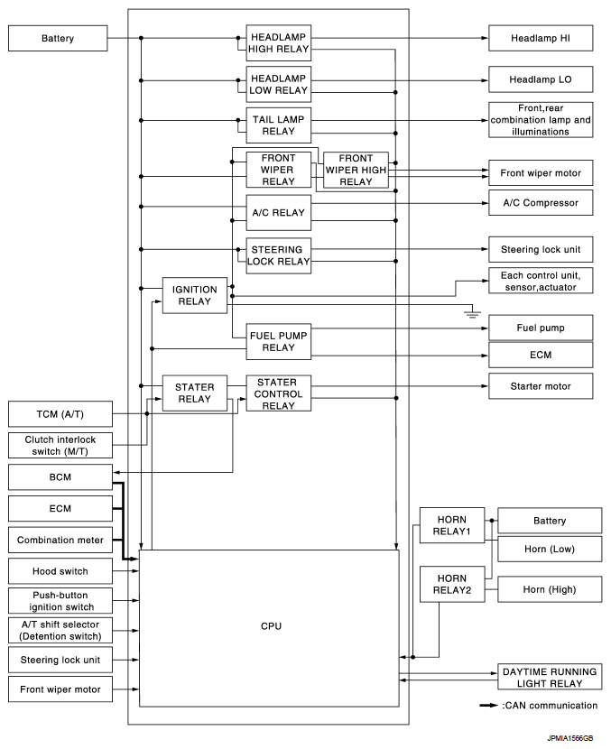
System Diagram

WARNING: This page is about a different car, the 2011 Nissan 370Z. However, it is still accessible from the selected car via links, so may be relevant.
Fig 1: Relay Control System - System Diagram
G06574509Courtesy of NISSAN MOTOR CO., U.S.A.
NOTE: Steering lock relay and steering lock unit, as shown in the system diagram, are for models with steering lock unit only.