lemon-mirror:
Home >> Infiniti >> 2012 >> G37 IPL, Automatic Trans >> Repair and Diagnosis >> Body & Frame >> Windows >> Power Window Control System (Coupe) >> System Description >> Power Window System >> System Diagram

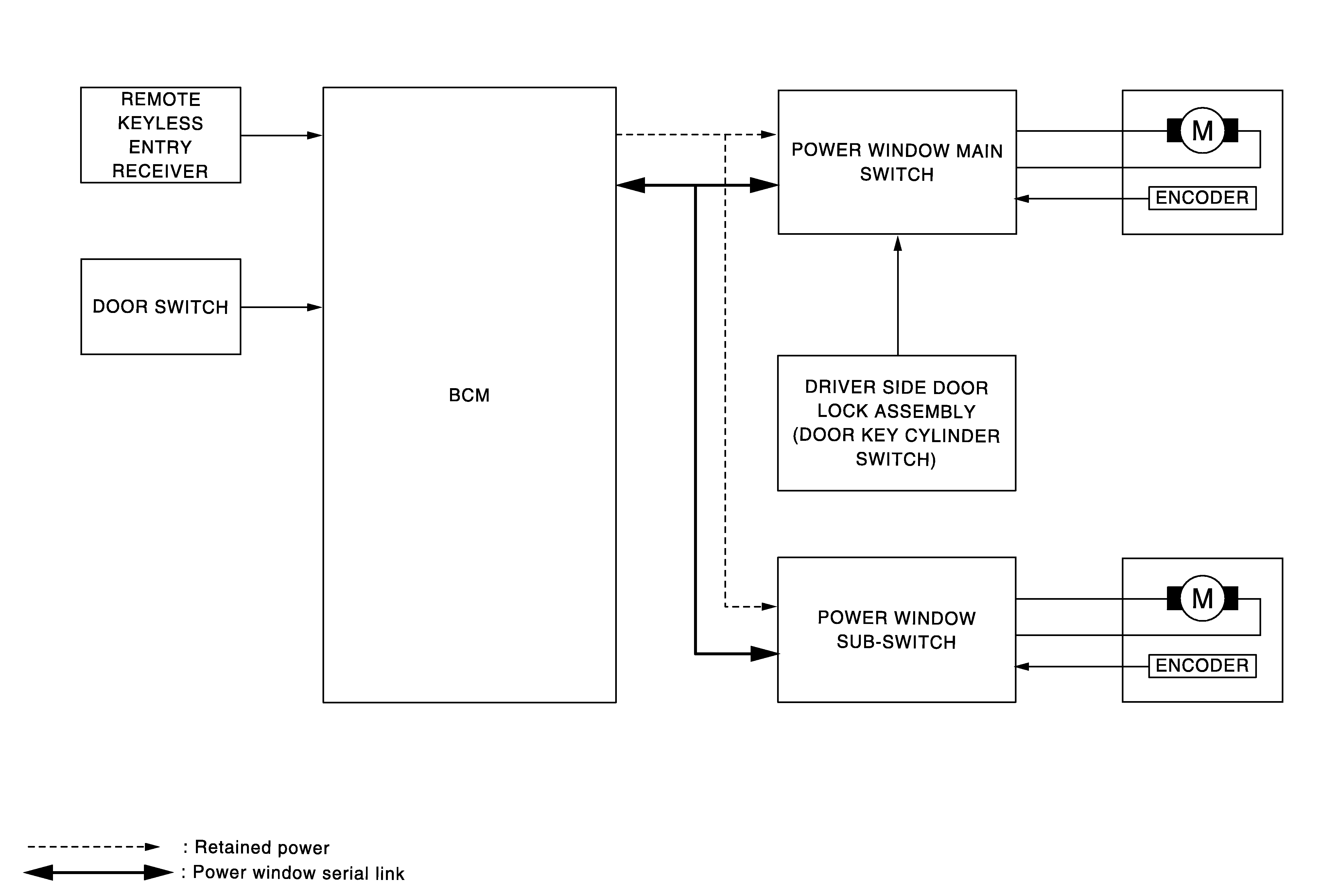
System Diagram

Fig 1: Power Window System Diagram
G06049948Courtesy of NISSAN NORTH AMERICA, INC.