lemon-mirror:
Home >> Infiniti >> 2012 >> M35h >> Repair and Diagnosis >> Brakes >> Traction Control >> Brake Control System (With VDC) >> System Description >> System >> System Description >> System Diagram

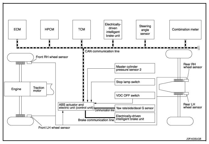
System Diagram

Fig 1: ABS Actuator And Electric Unit (Control Unit) - System Diagram
G08248895Courtesy of NISSAN NORTH AMERICA, INC.