lemon-mirror:
Home >> Infiniti >> 2012 >> M37 Base >> Repair and Diagnosis >> Transmission >> Automatic Transmission >> Unit Disassembly And Assembly >> Transmission Assembly >> Assembly

Transmission Assembly: Assembly

  1. As shown in the figure below, use a drift [22 mm (0.87 in) dia. commercial service tool] to drive manual shaft oil seals into the transmission case until it is flush.
    CAUTION:
    • Never reuse manual shaft oil seals.
    • Apply ATF to manual shaft oil seals.
    Fig 1: Driving Manual Shaft Oil Seals Into Transmission Case
    G04876150Courtesy of NISSAN NORTH AMERICA, INC.
  2. Install detent spring to transmission case. Tighten detent spring bolt to the specified torque.
    Fig 2: Identifying Detent Spring
    G08649603Courtesy of NISSAN NORTH AMERICA, INC.
  3. Install manual shaft to transmission case.
    Fig 3: Installing Manual Shaft To Transmission Case
    G04876080Courtesy of NISSAN NORTH AMERICA, INC.
  4. Install parking rod (1) to manual plate (2).
    Fig 4: Installing Parking Rod To Manual Plate
    G07013624Courtesy of NISSAN NORTH AMERICA, INC.
  5. Install manual plate (with parking rod) to manual shaft.
    Fig 5: Identifying Manual Plate And Manual Shaft
    G04876078Courtesy of NISSAN NORTH AMERICA, INC.
  6. Install retaining pin (1) into the manual plate and manual shaft.
    1. Fit pinhole of the manual plate to pinhole of the manual shaft with a pin punch.
    2. Use a hammer to tap the retaining pin into the manual plate.

      A: Approx. 2 mm (0.08in) 

      Fig 6: Identifying Retaining Pin
      G07023211Courtesy of NISSAN NORTH AMERICA, INC.
      CAUTION: Drive retaining pin to 2±0.5 mm (0.08±0.020 in) over the manual plate.
  7. Install retaining pin into the transmission case and manual shaft.
    1. Fit pinhole of the transmission case to pinhole of the manual shaft with a pin punch.
    2. Use a hammer to tap the retaining pin into the transmission case.
      CAUTION: Drive retaining pin to 5±1 mm (0.20±0.04 in) over the transmission case.
      Fig 7: Identifying Retaining Pin, Transmission Case & Manual Shaft
      G04876156Courtesy of NISSAN NORTH AMERICA, INC.
  8. Install D-rings to reverse brake piston.
    Fig 8: Identifying D-Rings In Reverse Brake Piston
    G04876075Courtesy of NISSAN NORTH AMERICA, INC.
  9. Install reverse brake piston to transmission case.
    Fig 9: Identifying Reverse Brake Piston
    G04876162Courtesy of NISSAN NORTH AMERICA, INC.
  10. Install needle bearing to drum support edge surface.
    CAUTION: Check the direction of needle bearing. Refer to "LOCATION OF NEEDLE BEARINGS AND BEARING RACES ".
    Fig 10: Identifying Needle Bearing
    G04876073Courtesy of NISSAN NORTH AMERICA, INC.
  11. Install seal rings to drum support.
    Fig 11: Identifying Seal Rings
    G06647527Courtesy of NISSAN NORTH AMERICA, INC.
  12. Install reverse brake spring retainer and reverse brake return spring to transmission case.
    Fig 12: Identifying Spring Retainer
    G04876071Courtesy of NISSAN NORTH AMERICA, INC.
  13. Set the clutch spring compressor [SST: KV31102400 (J-34285 and J-34285-87)] (A) on reverse brake spring retainer and install snap ring (fixing spring retainer) (1) to transmission case while compressing return spring.
    CAUTION:
    • Securely assemble them using a flat-bladed screwdriver so that snap ring tension is slightly weak.
    • Be careful not to damage snap ring.
    Fig 13: Installing Snap Ring (Fixing Spring Retainer) To Transmission Case
    G07165490Courtesy of NISSAN NORTH AMERICA, INC.
  14. Install reverse brake component part (drive plates, driven plates, dish plates and retaining plate) to transmission case.
    Fig 14: Identifying Reverse Brake Components (Drive Plates, Driven Plates, Dish Plates And Retaining Plate)
    G08649615Courtesy of NISSAN NORTH AMERICA, INC.
    CAUTION: Check order of plates.
  15. Assemble N-spring.
  16. Install reverse brake retaining plate to transmission case.
    Fig 15: Identifying N-Spring, Plates, Driven Plates And Transmission Case
    G04876168Courtesy of NISSAN NORTH AMERICA, INC.
  17. Install snap ring to transmission case.
    CAUTION: Be careful not to damage snap ring.
    Fig 16: Identifying Snap Ring
    G04876169Courtesy of NISSAN NORTH AMERICA, INC.
  18. Measure clearance between retaining plate and snap ring. If not within specified clearance, select proper retaining plate.

    Specified clearance "A" Standard: Refer to  "REVERSE BRAKE CLEARANCE ".

    Retaining plate: Refer to  "REVERSE BRAKE CLEARANCE "

    Fig 17: Identifying Clearance Between Retaining Plate And Snap Ring
    G04876170Courtesy of NISSAN NORTH AMERICA, INC.
  19. Install needle bearing to transmission case.
    CAUTION: Check the direction of needle bearing. Refer to "LOCATION OF NEEDLE BEARINGS AND BEARING RACES ".
    Fig 18: Identifying Needle Bearing
    G04876065Courtesy of NISSAN NORTH AMERICA, INC.
  20. Install output speed sensor (1) to transmission case. Tighten output speed sensor bolt to the specified torque.
    Fig 19: Locating Output Speed Sensor & Bolt
    G08649620Courtesy of NISSAN NORTH AMERICA, INC.
    CAUTION:
    • Never subject it to impact by dropping or hitting it.
    • Never disassemble.
    • Never allow metal filings, etc. to get on the sensor's front edge magnetic area.
    • Never place in an area affected by magnetism.
  21. As shown in the figure below, use the drift to drive rear oil seal into the rear extension (2WD) (A) or adapter case (AWD) (B) until it is flush.
    Fig 20: Identifying Rear Oil Seal
    G08649621Courtesy of NISSAN NORTH AMERICA, INC.
    CAUTION:
    • Never reuse rear oil seal.
    • Apply ATF to rear oil seal.
  22. Install return spring (1) to parking pawl (2).
    Fig 21: Identifying Return Spring And Parking Pawl
    G04875965Courtesy of NISSAN NORTH AMERICA, INC.
  23. Install parking pawl (with return spring) and pawl shaft to rear extension (2WD) or adapter case (AWD).
    Fig 22: Installing Parking Pawl (With Return Spring) And Pawl Shaft To Rear Extension
    G04875964Courtesy of NISSAN NORTH AMERICA, INC.
  24. Install parking actuator support to rear extension (2WD) or adapter case (AWD).
    Fig 23: Installing Parking Actuator Support
    G04875963Courtesy of NISSAN NORTH AMERICA, INC.
  25. Install needle bearing (1) to rear extension (2WD) or adapter case (AWD).
    CAUTION: Check the direction of needle bearing. Refer to "LOCATION OF NEEDLE BEARINGS AND BEARING RACES ".
    Fig 24: Identifying Needle Bearing
    G04875973Courtesy of NISSAN NORTH AMERICA, INC.
  26. Install rear extension assembly (2WD) or adapter case assembly (AWD) according to the following procedures.
    1. 2WD 
      1. Install seal rings (1) to output shaft.
        Fig 25: Identifying Output Shaft Seal Rings
        G07023069Courtesy of NISSAN NORTH AMERICA, INC.
      2. Install parking gear (1) to output shaft (2).
        Fig 26: Installing Parking Gear To Output Shaft
        G05218658Courtesy of NISSAN NORTH AMERICA, INC.
      3. Install output shaft to transmission case.
        CAUTION: Be careful not to mistake front for rear because both sides looks similar. (Thinner end is front side.)
        Fig 27: Installing Output Shaft To Transmission Case
        G04876062Courtesy of NISSAN NORTH AMERICA, INC.
      4. Install bearing race to output shaft.
        Fig 28: Installing Bearing Race To Output Shaft
        G04875958Courtesy of NISSAN NORTH AMERICA, INC.
      5. Apply recommended sealant to rear extension assembly as shown in the figure below.
        Fig 29: Identifying Sealant
        G08649630Courtesy of NISSAN NORTH AMERICA, INC.

        Sealant starting point and end point (A): Start and finish point shall be in the center of two bolts. 

        Overlap width of sealant starting point and end point (B): 3 - 5 mm (0.12 - 0.20 in) 

        Sealant width (C): 1.0 - 2.0 mm (0.04 - 0.08 in) 

        Sealant height (C): 0.4 - 1.0 mm (0.016 - 0.04 in) 

        CAUTION: Completely remove all moisture, oil and old sealant, etc. from the transmission case and rear extension assembly mounting surfaces.
      6. Install rear extension assembly to transmission case.
        CAUTION: Insert the tip of parking rod between the parking pawl and the parking actuator support when assembling the rear extension assembly.
        Fig 30: Installing Rear Extension Assembly
        G04876060Courtesy of NISSAN NORTH AMERICA, INC.
      7. Tighten rear extension assembly bolts to the specified torque.
        Fig 31: Identifying Rear Extension Assembly Bolts
        G08217479Courtesy of NISSAN NORTH AMERICA, INC.
    2. AWD 
      1. Install seal rings (1) to output shaft.
        Fig 32: Identifying Output Shaft Seal Rings
        G07023069Courtesy of NISSAN NORTH AMERICA, INC.
      2. Install parking gear (1) to output shaft (2).
        Fig 33: Installing Parking Gear To Output Shaft
        G05218658Courtesy of NISSAN NORTH AMERICA, INC.
      3. Install output shaft to transmission case.
        CAUTION: Be careful not to mistake front for rear because both sides looks similar. (Thinner end is front side.)
        Fig 34: Installing Output Shaft To Transmission Case
        G04876062Courtesy of NISSAN NORTH AMERICA, INC.
      4. Install bearing race to output shaft.
        Fig 35: Installing Bearing Race To Output Shaft
        G04875958Courtesy of NISSAN NORTH AMERICA, INC.
      5. Install gasket onto transmission case.
        CAUTION:
        • Completely remove all moisture, oil and old gasket, etc. from the transmission case and adapter case assembly mounting surfaces.
        • Never reuse gasket.
        Fig 36: Installing Gasket Onto Transmission Case
        G04901220Courtesy of NISSAN NORTH AMERICA, INC.
      6. Install adapter case assembly to transmission case.
        CAUTION: Insert the tip of parking rod between the parking pawl and the parking actuator support when assembling the adapter case assembly.
        Fig 37: Installing Adapter Case Assembly
        G04898168Courtesy of NISSAN NORTH AMERICA, INC.
      7. Tighten adapter case assembly bolts to the specified torque.
        Fig 38: Identifying Adapter Case Assembly Bolts
        G08649639Courtesy of NISSAN NORTH AMERICA, INC.
  27. Install needle bearing to drum support.
    CAUTION: Check the direction of needle bearing. Refer to "LOCATION OF NEEDLE BEARINGS AND BEARING RACES ".
    Fig 39: Identifying Needle Bearing
    G04876041Courtesy of NISSAN NORTH AMERICA, INC.
  28. Install direct clutch assembly to reverse brake.
    CAUTION: Make sure that drum support edge surface and direct clutch inner boss edge surface come to almost same place.
    Fig 40: Identifying Direct Clutch Assembly
    G04876040Courtesy of NISSAN NORTH AMERICA, INC.
  29. Install high and low reverse clutch assembly to direct clutch.
    Fig 41: Identifying High And Low Reverse Clutch Assembly
    G04876039Courtesy of NISSAN NORTH AMERICA, INC.
  30. Align the drive plate using a flat-bladed screwdriver.
    Fig 42: Aligning Drive Plate Using Flat-Bladed Screwdriver
    G04876188Courtesy of NISSAN NORTH AMERICA, INC.
  31. Install high and low reverse clutch hub, mid sun gear assembly, and rear sun gear assembly as a unit.
    Fig 43: Identifying Mid And Rear Sun Gear Assembly
    G04876038Courtesy of NISSAN NORTH AMERICA, INC.
    CAUTION: Make sure that portion "A" of high and low reverse clutch drum protrudes approximately 2 mm (0.08 in) beyond portion "B" of rear sun gear.
    Fig 44: Identifying Portion A & B
    G04876190Courtesy of NISSAN NORTH AMERICA, INC.
  32. Install needle bearing to rear carrier assembly.
    CAUTION: Check the direction of needle bearing. Refer to "LOCATION OF NEEDLE BEARINGS AND BEARING RACES ".
    Fig 45: Installing Needle Bearing To Rear Carrier Assembly
    G04876037Courtesy of NISSAN NORTH AMERICA, INC.
  33. Install bearing race to rear carrier assembly.
    CAUTION: Check the direction of needle bearing. Refer to "LOCATION OF NEEDLE BEARINGS AND BEARING RACES ".
    Fig 46: Installing Bearing Race To Rear Carrier Assembly
    G04876036Courtesy of NISSAN NORTH AMERICA, INC.
  34. Install rear carrier assembly to direct clutch drum.
    Fig 47: Identifying Rear Carrier Assembly
    G04876193Courtesy of NISSAN NORTH AMERICA, INC.
  35. Install needle bearing (rear side) to mid carrier assembly.
    CAUTION: Check the direction of needle bearing. Refer to "LOCATION OF NEEDLE BEARINGS AND BEARING RACES ".
    Fig 48: Installing Needle Bearing (Rear Side) To Mid Carrier Assembly
    G04876035Courtesy of NISSAN NORTH AMERICA, INC.
  36. Install needle bearing (front side) to mid carrier assembly.
    CAUTION: Check the direction of needle bearing. Refer to "LOCATION OF NEEDLE BEARINGS AND BEARING RACES ".
    Fig 49: Installing Needle Bearing (Front Side) To Mid Carrier Assembly
    G04876034Courtesy of NISSAN NORTH AMERICA, INC.
  37. Install mid carrier assembly to rear carrier assembly.
    Fig 50: Identifying Mid Carrier Assembly
    G04876032Courtesy of NISSAN NORTH AMERICA, INC.
  38. Install seal rings (1) to input clutch assembly.
    Fig 51: Identifying Input Clutch Assembly Seal Rings
    G07016116Courtesy of NISSAN NORTH AMERICA, INC.
  39. Install needle bearing (1) to front carrier assembly.
    CAUTION: Check the direction of needle bearing. Refer to "LOCATION OF NEEDLE BEARINGS AND BEARING RACES ".
    Fig 52: Identifying Front Carrier Assembly Needle Bearing
    G07016115Courtesy of NISSAN NORTH AMERICA, INC.
  40. Install input clutch assembly (with front carrier assembly and rear internal gear) (1) to transmission case.
    CAUTION: Check that the needle bearing (2) is securely positioned. If the needle bearing position is misaligned, adjust it to the specified position.
    Fig 53: Installing Input Clutch Assembly
    G07013673Courtesy of NISSAN NORTH AMERICA, INC.
  41. Install 1st one-way clutch (1) to front brake hub (with under drive carrier) (2).
  42. Check operation of 1st one-way clutch.
    1. Hold 1st one-way clutch.
    2. Check front brake hub for correct locking and unlocking directions.
      Fig 54: Identifying 1st One-Way Clutch And Front Brake Hub (With Under Drive Carrier)
      G08649655Courtesy of NISSAN NORTH AMERICA, INC.
    CAUTION: If not shown in figure below, check installation direction of 1st one-way clutch.
  43. Install under drive carrier (with 1st one-way clutch) (1) to transmission case.
    Fig 55: Identifying Under Drive Carrier (With 1st One-Way Clutch)
    G07013675Courtesy of NISSAN NORTH AMERICA, INC.
  44. Install snap ring (1) to transmission case.
    CAUTION: Be careful not to damage snap ring.
    Fig 56: Identifying Snap Ring
    G07016111Courtesy of NISSAN NORTH AMERICA, INC.
  45. Install front brake component part (retaining plates, drive plates and driven plate) to transmission case.
    Fig 57: Identifying Front Brake Components (Retaining Plates, Drive Plates And Driven Plate)
    G08649658Courtesy of NISSAN NORTH AMERICA, INC.
    CAUTION: Check order of plates.
  46. Install needle bearing (1) to under drive carrier assembly.
    CAUTION: Check the direction of needle bearing. Refer to "LOCATION OF NEEDLE BEARINGS AND BEARING RACES ".
    Fig 58: Identifying Under Drive Carrier Assembly Needle Bearing
    G07016109Courtesy of NISSAN NORTH AMERICA, INC.
  47. Install under drive sun gear (1) to under drive carrier assembly.
    Fig 59: Identifying Under Drive Sun Gear & Under Drive Carrier Assembly
    G07016107Courtesy of NISSAN NORTH AMERICA, INC.
  48. Adjustment of total end play "T".
    • Measure clearance between bearing race (1) and oil pump cover (2).
    • Select proper thickness of bearing race so that end play is within specifications.
      Fig 60: Measuring Clearance Between Bearing Race And Oil Pump Cover
      G07013680Courtesy of NISSAN NORTH AMERICA, INC.
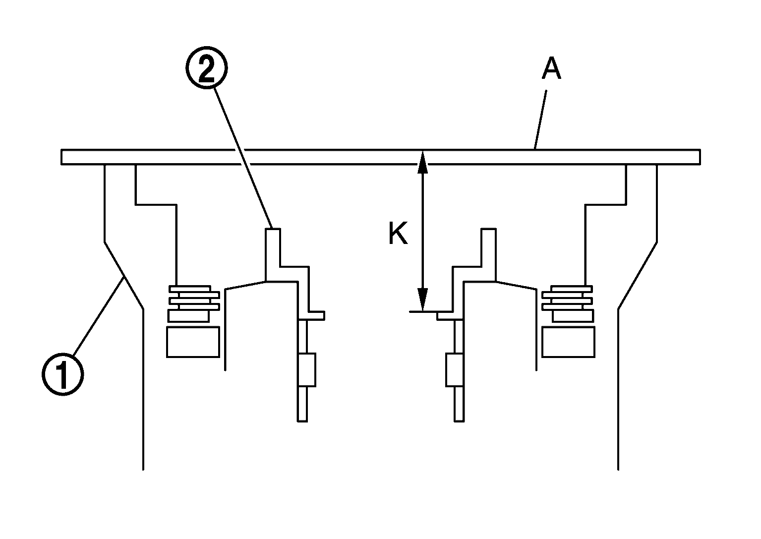
    1. Measure dimensions "K" and "L", and calculate dimension "J".
      Fig 61: Measuring Dimensions K And L, And Calculate Dimension J
      G08649662Courtesy of NISSAN NORTH AMERICA, INC.

      "J": Distance between the oil pump fitting surface of transmission case and the needle bearing mating surface of under drive sun gear. 

      J = K - L 

      1. Measure dimension "K" between the converter housing fitting surface of transmission case and the needle bearing mating surface of under drive sun gear.
        CAUTION:
        • Never change the straightedge (A) installation position before the completion of "L" measurement.
        • Measure dimension "K" in at least three places, and take the average.
        Fig 62: Measuring Dimension Between Converter Housing Fitting Surface Of Transmission Case And Needle Bearing Mating Surface
        G07013682Courtesy of NISSAN NORTH AMERICA, INC.
      2. Measure dimension "L" between the converter housing fitting surface of transmission case and the oil pump fitting surface of transmission case.
        Fig 63: Measuring Dimension L Between Converter Housing Fitting Surface Of Transmission Case And Oil Pump Fitting Surface Of Transmission Case
        G08649664Courtesy of NISSAN NORTH AMERICA, INC.
        CAUTION: Measure dimension "L" in at least three places, and take the average.
      3. Measure dimension "K" and "L" in at least three places, and take the average.
      4. Calculate dimension "J".

        J = K - L 

    2. Measure dimensions "M1" and "M2", and calculate dimension "M".
      Fig 64: Identifying Distance Between Transmission Case Fitting Surface Of Oil Pump And Needle Bearing On Oil Pump
      G08649665Courtesy of NISSAN NORTH AMERICA, INC.

      "M": Distance between the transmission case fitting surface of oil pump and the needle bearing on oil pump. 

      M = M1-M2 

      1. Place bearing race (1) and needle bearing (2) on oil pump assembly (3).
        Fig 65: Identifying Bearing Race, Needle Bearing And Oil Pump Assembly
        G07013685Courtesy of NISSAN NORTH AMERICA, INC.
      2. Measure dimension "M1" between the transmission case fitting surface of oil pump and the end of oil pump.
        Fig 66: Measuring Dimension M1 Between Transmission Case Fitting Surface Of Oil Pump And End Of Oil Pump
        G08649667Courtesy of NISSAN NORTH AMERICA, INC.
        CAUTION: Measure dimension "M1" in at least three places, and take the average.
      3. Measure dimension "M2" between the needle bearing on oil pump and the end of oil pump.
        Fig 67: Measuring Dimension M2 Between Needle Bearing On Oil Pump And End Of Oil Pump
        G08649668Courtesy of NISSAN NORTH AMERICA, INC.
        CAUTION: Measure dimension "M2" in at least three places, and take the average.
      4. Calculate dimension "M".

        M = M1-M2 

    3. Adjust total end play "T".
      Fig 68: Measuring Dimension M2 In At Least Three Places
      G08649669Courtesy of NISSAN NORTH AMERICA, INC.

      T = J - M 

      Total end play "T": Refer to  "TOTAL END PLAY ".

      • Select proper thickness of bearing race so that total end play is within specifications.

        Bearing races: Refer to  "TOTAL END PLAY ".

  49. Adjustment of front brake clearance "C".
    • Measure clearance between front brake piston (1) and front brake retaining plate (2).
    • Select proper thickness of front brake retaining plat so that clearance is within specifications.
      Fig 69: Identifying Front Brake Clearance
      G07013689Courtesy of NISSAN NORTH AMERICA, INC.
      1. Measure dimensions "O" and "P", and calculate dimension "N".
        Fig 70: Identifying Distance Between Oil Pump Fitting Surface Of Transmission Case And Front Brake Retaining Plate
        G08649671Courtesy of NISSAN NORTH AMERICA, INC.

        "N": Distance between the oil pump fitting surface of transmission case and the front brake retaining plate. 

        N = O - P 

        1. Measure dimension "O" between the converter housing fitting surface of transmission case (1) and the front brake retaining plate (2).
          CAUTION:
          • Never change the straightedge (A) installation position before the completion of "P" measurement.
          • Measure dimension "O" in at least three places, and take the average.
          Fig 71: Measuring Dimension Between Converter Housing Fitting Surface Of Transmission Case And Front Brake Retaining Plate
          G08104256Courtesy of NISSAN NORTH AMERICA, INC.
        2. Measure dimension "P" between the converter housing fitting surface of transmission case and the oil pump fitting surface of transmission case.
          Fig 72: Measuring Dimension P Between Converter Housing Fitting Surface Of Transmission Case And Oil Pump Fitting Surface Of Transmission Case
          G08649673Courtesy of NISSAN NORTH AMERICA, INC.
          CAUTION: Measure dimension "P" in at least three places, and take the average.
        3. Calculate dimension "N".

          N = O-P 

      2. Measure dimensions "Q1" and "Q2", and calculate dimension "Q".
        Fig 73: Measuring Dimensions Q1 And Q2
        G08649674Courtesy of NISSAN NORTH AMERICA, INC.

        "Q": Distance between the transmission case fitting surface of oil pump and the front brake piston. 

        Q = Q1-Q2 

        1. Measure dimension "Q1" between the transmission case fitting surface of oil pump and the straightedge on front brake piston.
          Fig 74: Measuring Dimension Q1 Between Transmission Case Fitting Surface Of Oil Pump And Straightedge On Front Brake Piston
          G08649675Courtesy of NISSAN NORTH AMERICA, INC.
          CAUTION: Measure dimension "Q1" in at least three places, and take the average.
        2. Measure dimension "Q2" of the straightedge.
          Fig 75: Measuring Dimension Q2 Of Straightedge
          G08649676Courtesy of NISSAN NORTH AMERICA, INC.
        3. Calculate dimension "Q".

          Q = Q1-Q2 

      3. Adjust front brake clearance "C".
        Fig 76: Identifying Front Brake Clearance C
        G08649677Courtesy of NISSAN NORTH AMERICA, INC.

        C = N - Q 

        Front brake clearance "C": Refer to  "FRONT BRAKE CLEARANCE ".

        • Select proper thickness of retaining plate so that front brake clearance is within specifications.

          Retaining plate: Refer to  "FRONT BRAKE CLEARANCE ".

  50. Remove under drive sun gear (1) from under drive carrier assembly.
    Fig 77: Identifying Under Drive Sun Gear & Under Drive Carrier Assembly
    G07016107Courtesy of NISSAN NORTH AMERICA, INC.
  51. Install needle bearing (1) to under drive sun gear.
    CAUTION: Check the direction of needle bearing. Refer to "LOCATION OF NEEDLE BEARINGS AND BEARING RACES ".
    Fig 78: Installing Needle Bearing To Under Drive Sun Gear
    G07016108Courtesy of NISSAN NORTH AMERICA, INC.
  52. Install O-ring (1) to oil pump assembly.
    Fig 79: Identifying Oil Pump Assembly O-Ring
    G07023136Courtesy of NISSAN NORTH AMERICA, INC.
  53. Install seal ring (1) to oil pump assembly.
    Fig 80: Identifying Oil Pump Assembly Seal Ring
    G07023138Courtesy of NISSAN NORTH AMERICA, INC.
  54. Install bearing race (1) to oil pump assembly.
    Fig 81: Identifying Oil Pump Assembly Bearing Race
    G07016105Courtesy of NISSAN NORTH AMERICA, INC.
  55. Install under drive sun gear (with needle bearing) (1) to oil pump assembly (2).
    Fig 82: Identifying Under Drive Sun Gear And Oil Pump Assembly
    G07013702Courtesy of NISSAN NORTH AMERICA, INC.
  56. Install oil pump assembly (with under drive sun gear) to transmission case.
    CAUTION: Apply ATF to oil pump bearing.
    Fig 83: Installing Oil Pump Assembly (With Under Drive Sun Gear)
    G04876217Courtesy of NISSAN NORTH AMERICA, INC.
  57. Apply recommended sealant to oil pump assembly as shown in the figure below.
    Fig 84: Applying Recommended Sealant To Oil Pump Assembly
    G08649685Courtesy of NISSAN NORTH AMERICA, INC.
    CAUTION: Completely remove all moisture, oil and old sealant, etc. from the oil pump mounting bolts and oil pump mounting bolt mounting surfaces.
    Fig 85: Identifying Oil Pump Bolts
    G07013606Courtesy of NISSAN NORTH AMERICA, INC.
  58. Tighten oil pump bolts (<==) to the specified torque.
  59. Install O-ring to input clutch assembly.
    Fig 86: Identifying O-Ring
    G04876020Courtesy of NISSAN NORTH AMERICA, INC.
  60. Install converter housing to transmission case, and tighten converter housing bolts (<==) to the specified torque.
    • VQ37VHR models
      Fig 87: Locating Converter Housing Bolts (VQ37VHR)
      G07013604Courtesy of NISSAN NORTH AMERICA, INC.
    • VK56VD models
      Fig 88: Locating Converter Housing Bolts (VK56VD)
      G07023132Courtesy of NISSAN NORTH AMERICA, INC.
  61. Connect TCM connector (A) to joint connector.
    Fig 89: Identifying TCM Connector
    G07016135Courtesy of NISSAN NORTH AMERICA, INC.
  62. Install joint connector (1) to the control valve & TCM.
    CAUTION: Apply ATF to O-ring of joint connector.
    Fig 90: Installing Joint Connector To Control Valve
    G07023294Courtesy of NISSAN NORTH AMERICA, INC.
  63. Install the control valve & TCM (1) to transmission case.
    Fig 91: Installing Control Valve & TCM To Transmission Case
    G07016133Courtesy of NISSAN NORTH AMERICA, INC.
    CAUTION:
    • Make sure that input speed sensor securely installs input speed sensor holes (A).
    • Hang down output speed sensor harness toward outside so as not to disturb installation of the control valve & TCM.
    • Adjust joint connector of the control valve & TCM to terminal hole of transmission case.
      Fig 92: Identifying Input Speed Sensor Holes
      G07013524Courtesy of NISSAN NORTH AMERICA, INC.
    • Assemble it so that manual valve cutout is engaged with manual plate projection.
    Fig 93: Identifying Manual Valve Cutout & Manual Plate Projection
    G04876230Courtesy of NISSAN NORTH AMERICA, INC.
  64. Install bolts and clip (1) to the control valve & TCM. Tighten bolt (E) to the specified torque before tightening the other than bolts.
    Fig 94: Identifying Control Valve & TCM Bolt Orientation
    G08649695Courtesy of NISSAN NORTH AMERICA, INC.
    Bolt symbol Length mm (in) Number of bolts
    A 43 (1.69) 3
    B 40 (1.57) 2
    C 54 (2.13) 6
    D 50 (1.97) 2
    E(1) 50 (1.97) 1
    (1) Reamer bolt
  65. Connect output speed sensor connector (A).
  66. Engage output speed sensor harness with terminal clips (<==).
    Fig 95: Identifying Output Speed Sensor Connector And Terminal Clips
    G07013520Courtesy of NISSAN NORTH AMERICA, INC.
  67. Pull down joint connector (1).
    CAUTION: Be careful not to damage connector.
    Fig 96: Pulling Down Joint Connector
    G07013715Courtesy of NISSAN NORTH AMERICA, INC.
  68. Install snap ring (1) to joint connector (2).
    Fig 97: Identifying Snap Ring And Joint Connector
    G07013716Courtesy of NISSAN NORTH AMERICA, INC.
  69. Install magnets (1) to oil pan.
  70. Install oil pan gasket to transmission case.
    CAUTION:
    • Never reuse oil pan gasket.
    • Install it in the direction to align hole positions.
    • Completely remove all moisture, oil and old gasket, etc. from oil pan gasket mounting surface.
    Fig 98: Identifying Oil Pan Magnets
    G05218607Courtesy of NISSAN NORTH AMERICA, INC.
  71. Install oil pan (2) and clips (1) to transmission case.
    Fig 99: Identifying Oil Pan & Clips
    G08649700Courtesy of NISSAN NORTH AMERICA, INC.
    CAUTION:
    • Be careful not to pinch harnesses.
    • Completely remove all moisture, oil and old gasket, etc. from oil pan mounting surface.
  72. Tighten oil pan mounting bolts to the specified torque in numerical order shown in the figure below after temporarily tightening them. Tighten oil pan mounting bolts to the specified torque.
    Fig 100: Transmission Oil Pan Mounting Bolt Tightening Sequence
    G08649701Courtesy of NISSAN NORTH AMERICA, INC.
    CAUTION: Never reuse oil pan mounting bolts.
  73. Install drain plug to oil pan. Tighten drain plug to the specified torque.
    CAUTION: Never reuse drain plug gasket.
  74. Pour ATF into torque converter.
    • Approximately 2 liter (2-1/8 US qt, 1-3/4 Imp qt) of ATF is required for a new torque converter. 
    • When reusing old torque converter, add the same amount of ATF as was drained. 
      Fig 101: Pouring ATF Into Torque Converter
      G04876241Courtesy of NISSAN NORTH AMERICA, INC.
  75. Install torque converter while aligning notches of torque converter with notches of oil pump.
    CAUTION: Install torque converter while rotating it.
    Fig 102: Installing Torque Converter
    G04876017Courtesy of NISSAN NORTH AMERICA, INC.
  76. Measure dimension "A" to make sure that torque converter is in proper position.
    Fig 103: Measuring Dimension A
    G08649704Courtesy of NISSAN NORTH AMERICA, INC.

    Dimension "A": Refer to  "TORQUE CONVERTER ".