lemon-mirror:
Home >> Infiniti >> 2012 >> M37 Base >> Repair and Diagnosis >> Transmission >> Automatic Transmission >> Unit Disassembly And Assembly >> Transmission Assembly >> Disassembly

Transmission Assembly: Disassembly

CAUTION: Never disassemble parts behind drum support. Refer to "CROSS-SECTIONAL VIEW ".
  1. Drain ATF through drain plug.
  2. Remove torque converter by holding it firmly and turning while pulling straight out.
    Fig 1: Removing Torque Converter
    G04876017Courtesy of NISSAN NORTH AMERICA, INC.
  3. Remove tightening bolts (<==) for converter housing and transmission case.
    • VQ37VHR models
      Fig 2: Locating Converter Housing Bolts (VQ37VHR)
      G07013604Courtesy of NISSAN NORTH AMERICA, INC.
    • VK56VD models
      Fig 3: Locating Converter Housing Bolts (VK56VD)
      G07023132Courtesy of NISSAN NORTH AMERICA, INC.
  4. Remove converter housing from transmission case.
    CAUTION: Be careful not to scratch converter housing.
  5. Remove O-ring from input clutch assembly.
    Fig 4: Identifying O-Ring
    G04876020Courtesy of NISSAN NORTH AMERICA, INC.
  6. Remove tightening bolts (<==) for oil pump assembly and transmission case.
    Fig 5: Identifying Oil Pump Bolts
    G07013606Courtesy of NISSAN NORTH AMERICA, INC.
  7. Attach the sliding hammers [SST: ST25850000 (J-25721-A)] (A) to oil pump assembly (1) and extract it evenly from transmission case.
    Fig 6: Attaching Sliding Hammers To Oil Pump Assembly
    G08649531Courtesy of NISSAN NORTH AMERICA, INC.
    CAUTION:
    • Fully tighten the sliding hammer screws.
    • Make sure that bearing race is installed to the oil pump assembly edge surface.
  8. Remove O-ring (1) from oil pump assembly.
    Fig 7: Identifying Oil Pump Assembly O-Ring
    G07023136Courtesy of NISSAN NORTH AMERICA, INC.
  9. Remove bearing race (1) from oil pump assembly.
    Fig 8: Identifying Oil Pump Assembly Bearing Race
    G07016105Courtesy of NISSAN NORTH AMERICA, INC.
  10. Remove seal ring (1) from oil pump assembly.
    Fig 9: Identifying Oil Pump Assembly Seal Ring
    G07023138Courtesy of NISSAN NORTH AMERICA, INC.
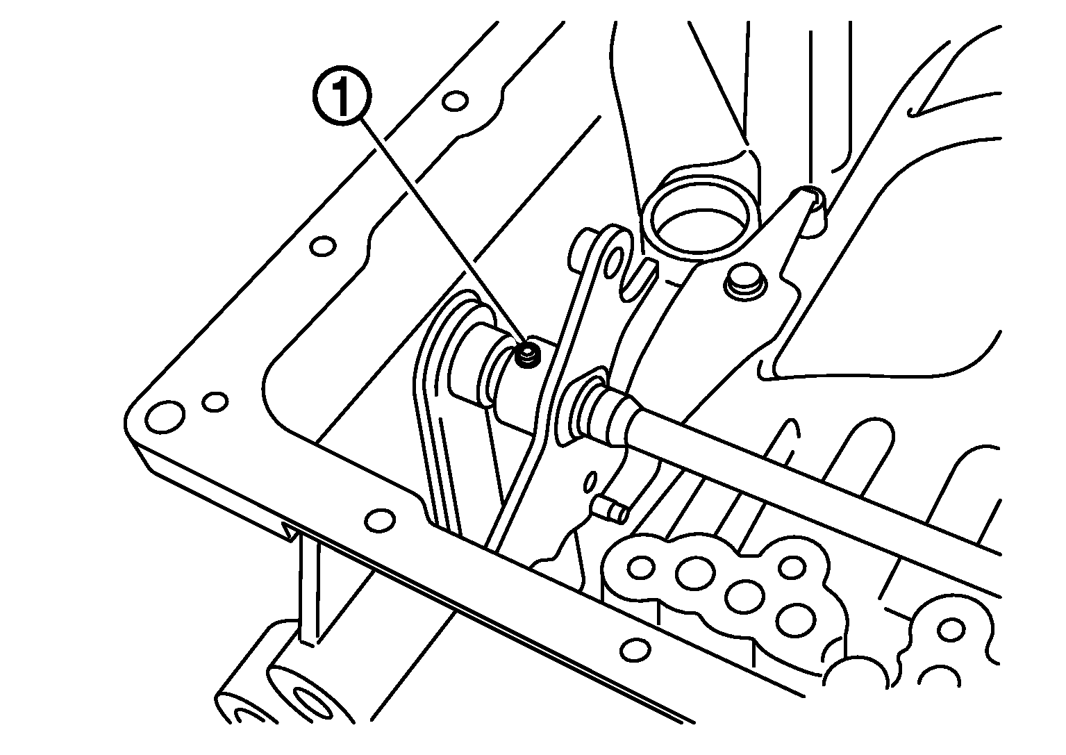
  11. Remove under drive sun gear (1) from under drive carrier assembly.
    Fig 10: Identifying Under Drive Sun Gear
    G07016107Courtesy of NISSAN NORTH AMERICA, INC.
  12. Remove needle bearing (1) from under drive sun gear.
    Fig 11: Removing Needle Bearing From Under Drive Sun Gear
    G07016108Courtesy of NISSAN NORTH AMERICA, INC.
  13. Remove needle bearing (1) from under drive carrier assembly.
    Fig 12: Identifying Under Drive Carrier Assembly Needle Bearing
    G07016109Courtesy of NISSAN NORTH AMERICA, INC.
  14. Remove front brake component part (retaining plates, drive plates and driven plate) from transmission case by using a wire (A) with its tip bent like a hook.
    Fig 13: Removing Front Brake Components Using Wire
    G07016110Courtesy of NISSAN NORTH AMERICA, INC.
  15. Remove snap ring (1) from transmission case using a flat-bladed screwdriver.
    CAUTION:
    • Be careful not to scratch transmission case and 1st one-way clutch.
    • Be careful not to damage snap ring.
    Fig 14: Identifying Snap Ring
    G07016111Courtesy of NISSAN NORTH AMERICA, INC.
  16. Remove input clutch assembly (with 1st one-way clutch, under drive carrier assembly, front brake hub, front carrier assembly, and rear internal gear) (1) from transmission case.
    Fig 15: Removing Input Clutch Assembly
    G07016112Courtesy of NISSAN NORTH AMERICA, INC.
  17. Remove 1st one-way clutch (1) from front brake hub.
    Fig 16: Identifying 1st One-Way Clutch
    G07016113Courtesy of NISSAN NORTH AMERICA, INC.
  18. Remove under drive carrier assembly (with front brake hub) (1) from front carrier assembly.
    Fig 17: Identifying Under Drive Carrier Assembly
    G07016114Courtesy of NISSAN NORTH AMERICA, INC.
  19. Remove needle bearing (1) from front carrier assembly.
    Fig 18: Identifying Front Carrier Assembly Needle Bearing
    G07016115Courtesy of NISSAN NORTH AMERICA, INC.
  20. Remove seal rings (1) from input clutch assembly.
    Fig 19: Identifying Input Clutch Assembly Seal Rings
    G07023148Courtesy of NISSAN NORTH AMERICA, INC.
  21. Remove mid carrier assembly and rear carrier assembly as a unit.
    Fig 20: Identifying Mid Carrier Assembly
    G04876032Courtesy of NISSAN NORTH AMERICA, INC.
  22. Remove mid carrier assembly from rear carrier assembly.
    Fig 21: Removing Mid Carrier Assembly From Rear Carrier Assembly
    G04876033Courtesy of NISSAN NORTH AMERICA, INC.
  23. Remove needle bearing (front side) from mid carrier assembly.
    Fig 22: Removing Needle Bearing (Front Side) From Mid Carrier Assembly
    G04876034Courtesy of NISSAN NORTH AMERICA, INC.
  24. Remove needle bearing (rear side) from mid carrier assembly.
    Fig 23: Removing Needle Bearing (Rear Side) From Mid Carrier Assembly
    G04876035Courtesy of NISSAN NORTH AMERICA, INC.
  25. Remove bearing race from rear carrier assembly.
    Fig 24: Removing Bearing Race From Rear Carrier Assembly
    G04876036Courtesy of NISSAN NORTH AMERICA, INC.
  26. Remove needle bearing from rear carrier assembly.
    Fig 25: Removing Needle Bearing From Rear Carrier Assembly
    G04876037Courtesy of NISSAN NORTH AMERICA, INC.
  27. Remove mid sun gear assembly, rear sun gear assembly, and high and low reverse clutch hub as a unit.
    CAUTION: Be careful to remove then with bearing race and needle bearing.
    Fig 26: Identifying Mid And Rear Sun Gear Assembly
    G04876038Courtesy of NISSAN NORTH AMERICA, INC.
  28. Remove high and low reverse clutch assembly from direct clutch assembly.
    CAUTION: Make sure that needle bearing is installed to the high and low reverse clutch assembly edge surface.
    Fig 27: Identifying High And Low Reverse Clutch Assembly
    G04876039Courtesy of NISSAN NORTH AMERICA, INC.
  29. Remove direct clutch assembly from reverse brake.
    Fig 28: Identifying Direct Clutch Assembly
    G04876040Courtesy of NISSAN NORTH AMERICA, INC.
  30. Remove needle bearing from drum support.
    Fig 29: Identifying Needle Bearing
    G04876041Courtesy of NISSAN NORTH AMERICA, INC.
  31. Remove snap ring (1) from joint connector (A).
    Fig 30: Removing Snap Ring From Joint Connector
    G05218604Courtesy of NISSAN NORTH AMERICA, INC.
  32. Push joint connector (A).
    CAUTION: Be careful not to damage connector.
    Fig 31: Pushing Joint Connector
    G05218605Courtesy of NISSAN NORTH AMERICA, INC.
  33. Remove oil pan mounting bolts (<==).
    Fig 32: Locating Oil Pan Mounting Bolts
    G08649557Courtesy of NISSAN NORTH AMERICA, INC.
  34. Remove oil pan (2) and oil pan gasket.
  35. Remove magnets (1) from oil pan.
    Fig 33: Identifying Oil Pan Magnets
    G05218607Courtesy of NISSAN NORTH AMERICA, INC.
  36. Disconnect output speed sensor connector (A).
    CAUTION: Be careful not to damage connector.
  37. Disengage terminal clips (<==).
    Fig 34: Identifying Output Speed Sensor Connector And Terminal Clips
    G07013520Courtesy of NISSAN NORTH AMERICA, INC.
  38. Remove control valve & TCM mounting bolts and clip (1) from the control valve & TCM.
    Fig 35: Identifying Control Valve & TCM Mounting Bolts And Clip
    G08649560Courtesy of NISSAN NORTH AMERICA, INC.
    Bolt symbol Length mm (in) Number of bolts
    A 43 (1.69) 3
    B 40 (1.57) 2
    C 54 (2.13) 6
    D 50 (1.97) 2
    E(1) 50 (1.97) 1
    (1) Reamer bolt
  39. Remove the control valve & TCM (1) from transmission case.
    CAUTION: When removing, never with the manual valve notch and manual plate height. Remove it vertically.
    Fig 36: Removing Control Valve & TCM From Transmission Case
    G07016133Courtesy of NISSAN NORTH AMERICA, INC.
  40. Remove joint connector (1) from the control valve & TCM using a flat-bladed screwdriver (A).
    Fig 37: Removing Joint Connector From Control Valve & TCM Using Flat-Bladed Screwdriver
    G07016134Courtesy of NISSAN NORTH AMERICA, INC.
  41. Disconnect TCM connector (A).
    CAUTION: Be careful not to damage connector.
    Fig 38: Identifying TCM Connector
    G07016135Courtesy of NISSAN NORTH AMERICA, INC.
  42. Remove rear extension assembly (2WD) or adapter case assembly (AWD) according to the following procedures.
    1. 2WD 
      1. Remove tightening bolts for rear extension assembly and transmission case.
        Fig 39: Identifying Rear Extension Assembly Bolts
        G08649564Courtesy of NISSAN NORTH AMERICA, INC.
      2. Tap rear extension assembly using a soft hammer.
        CAUTION: Be careful not to damage rear extension.
        Fig 40: Tapping Rear Extension Assembly
        G04876059Courtesy of NISSAN NORTH AMERICA, INC.
      3. Remove rear extension assembly from transmission case. (With needle bearing.)
        Fig 41: Removing Rear Extension Assembly From Transmission Case
        G04876060Courtesy of NISSAN NORTH AMERICA, INC.
      4. Remove bearing race from output shaft.
        Fig 42: Removing Bearing Race From Output Shaft
        G04875958Courtesy of NISSAN NORTH AMERICA, INC.
      5. Remove output shaft from transmission case by rotating left/right.
        Fig 43: Removing Output Shaft From Transmission Case
        G04876062Courtesy of NISSAN NORTH AMERICA, INC.
      6. Remove parking gear (1) from output shaft (2).
        Fig 44: Removing Parking Gear From Output Shaft
        G05218658Courtesy of NISSAN NORTH AMERICA, INC.
      7. Remove seal rings (1) from output shaft.
        Fig 45: Identifying Output Shaft Seal Rings
        G07023069Courtesy of NISSAN NORTH AMERICA, INC.
    2. AWD 
      1. Remove tightening bolts for adapter case assembly and transmission case.
        Fig 46: Identifying Adapter Case Assembly Bolts
        G08649571Courtesy of NISSAN NORTH AMERICA, INC.
      2. Tap adapter case assembly using a soft hammer.
        CAUTION: Be careful not to damage adapter case.
        Fig 47: Taping Adapter Case Assembly
        G04898167Courtesy of NISSAN NORTH AMERICA, INC.
      3. Remove adapter case assembly from transmission case. (With needle bearing)
        Fig 48: Removing Adapter Case Assembly From Transmission Case
        G04898168Courtesy of NISSAN NORTH AMERICA, INC.
      4. Remove bearing race from output shaft.
        Fig 49: Removing Bearing Race From Output Shaft
        G04875958Courtesy of NISSAN NORTH AMERICA, INC.
      5. Remove output shaft from transmission case by rotating left/right.
        Fig 50: Removing Output Shaft From Transmission Case
        G04876062Courtesy of NISSAN NORTH AMERICA, INC.
      6. Remove gasket from transmission case.
        Fig 51: Removing Gasket From Transmission Case
        G04901220Courtesy of NISSAN NORTH AMERICA, INC.
      7. Remove parking gear (1) from output shaft (2).
        Fig 52: Removing Parking Gear From Output Shaft
        G05218658Courtesy of NISSAN NORTH AMERICA, INC.
      8. Remove seal rings (1) from output shaft.
        Fig 53: Identifying Output Shaft Seal Rings
        G07023069Courtesy of NISSAN NORTH AMERICA, INC.
  43. Remove needle bearing from transmission case.
    Fig 54: Identifying Needle Bearing In Transmission Case
    G04876065Courtesy of NISSAN NORTH AMERICA, INC.
  44. Remove output speed sensor (1) from transmission case.
    Fig 55: Locating Output Speed Sensor & Bolt
    G08649580Courtesy of NISSAN NORTH AMERICA, INC.
    CAUTION:
    • Never subject it to impact by dropping or hitting it.
    • Never disassemble.
    • Never allow metal filings, etc. to get on the sensor's front edge magnetic area.
    • Never place in an area affected by magnetism.
  45. Remove reverse brake snap ring (fixing plate) with 2 flat-bladed screwdrivers.
    CAUTION:
    • Be careful not to scratch transmission case and reverse brake retaining plate.
    • Be careful not to damage snap ring.
    NOTE: Press out snap ring from the transmission case oil pan side gap with a flat-bladed screwdriver, and remove it using a another screwdriver.
    Fig 56: Removing Reverse Brake Snap Ring (Fixing Plate) Using Flat-Bladed Screwdrivers
    G04876067Courtesy of NISSAN NORTH AMERICA, INC.
  46. Remove reverse brake retaining plate from transmission case.
  47. Remove N-spring from transmission case.
    Fig 57: Identifying N-Spring, Transmission Case, Driven Plate And Drive Plate
    G07016154Courtesy of NISSAN NORTH AMERICA, INC.
  48. Remove reverse brake component part (drive plates, driven plates, dish plates and retaining plate) from transmission case.
    Fig 58: Removing Reverse Brake Component Part From Transmission Case
    G04876069Courtesy of NISSAN NORTH AMERICA, INC.
  49. Remove snap ring (fixing spring retainer) using a flat-bladed screwdriver.
    CAUTION:
    • Be careful not to scratch transmission case and spring retainer.
    • Be careful not to damage snap ring.
    Fig 59: Identifying Snap Ring
    G04876070Courtesy of NISSAN NORTH AMERICA, INC.
  50. Remove reverse brake spring retainer and reverse brake return spring from transmission case.
    Fig 60: Identifying Spring Retainer
    G04876071Courtesy of NISSAN NORTH AMERICA, INC.
  51. Remove seal rings from drum support.
    Fig 61: Identifying Seal Rings
    G04876072Courtesy of NISSAN NORTH AMERICA, INC.
  52. Remove needle bearing from drum support edge surface.
    Fig 62: Identifying Needle Bearing
    G04876073Courtesy of NISSAN NORTH AMERICA, INC.
  53. Remove reverse brake piston (1) from transmission case with compressed air. Refer to "OIL CHANNEL ".
    Fig 63: Removing Reverse Brake Piston Using Compressed Air
    G08649588Courtesy of NISSAN NORTH AMERICA, INC.
    CAUTION: Care should be taken not to abruptly blow air. It makes pistons incline, as the result, it becomes hard to disassemble the pistons.
  54. Remove D-rings from reverse brake piston.
    Fig 64: Identifying D-Rings In Reverse Brake Piston
    G04876075Courtesy of NISSAN NORTH AMERICA, INC.
  55. Remove manual shaft retaining pin with pair of nippers.
    CAUTION: Be careful not to cut retaining pin.
    Fig 65: Removing Manual Shaft Retaining Pin
    G04876077Courtesy of NISSAN NORTH AMERICA, INC.
  56. Remove manual plate (1) from detent spring (2).
  57. Remove parking rod (3) from manual plate.
  58. Install manual plate to detent spring.
    Fig 66: Identifying Manual Plate, Detent Spring And Parking Rod
    G07013610Courtesy of NISSAN NORTH AMERICA, INC.
  59. Use a pin punch [4 mm (0.16 in) dia. commercial service tool] to knock out retaining pin (1).
    Fig 67: Identifying Retaining Pin
    G07013611Courtesy of NISSAN NORTH AMERICA, INC.
  60. Remove manual plate from manual shaft.
    Fig 68: Identifying Manual Plate And Manual Shaft
    G04876078Courtesy of NISSAN NORTH AMERICA, INC.
  61. Remove manual shaft from transmission case.
    Fig 69: Removing Manual Shaft From Transmission Case
    G04876080Courtesy of NISSAN NORTH AMERICA, INC.
  62. Remove manual shaft oil seals using a flat-bladed screwdriver.
    CAUTION: Be careful not to scratch transmission case.
    Fig 70: Removing Manual Shaft Oil Seals
    G04876081Courtesy of NISSAN NORTH AMERICA, INC.
  63. Remove detent spring (1) from transmission case.
    Fig 71: Identifying Detent Spring
    G08649596Courtesy of NISSAN NORTH AMERICA, INC.
  64. Remove needle bearing (1) from rear extension (2WD) or adapter case (AWD).
    Fig 72: Identifying Needle Bearing
    G04875973Courtesy of NISSAN NORTH AMERICA, INC.
  65. Remove parking actuator support from rear extension (2WD) or adapter case (AWD).
    Fig 73: Removing Parking Actuator Support From Rear Extension
    G04875963Courtesy of NISSAN NORTH AMERICA, INC.
  66. Remove parking pawl (with return spring) and pawl shaft from rear extension (2WD) or adapter case (AWD).
    Fig 74: Removing Parking Pawl (With Return Spring) And Pawl Shaft From Rear Extension (2WD) Or Adapter Case (AWD)
    G04875964Courtesy of NISSAN NORTH AMERICA, INC.
  67. Remove return spring (1) from parking pawl (2).
    Fig 75: Identifying Return Spring And Parking Pawl
    G04875965Courtesy of NISSAN NORTH AMERICA, INC.
  68. Remove rear oil seal from rear extension (B) or adapter case (C) using a flat-bladed screwdriver (A).
    Fig 76: Removing Rear Oil Seal
    G08649601Courtesy of NISSAN NORTH AMERICA, INC.
    CAUTION: Be careful not to scratch rear extension or adapter case.