lemon-mirror:
Home >> Infiniti >> 2013 >> EX37 Base, AWD >> Repair and Diagnosis >> Electrical >> Body Electrical >> Power Control System (IPDM/Er) >> System Description >> Relay Control System >> System Diagram

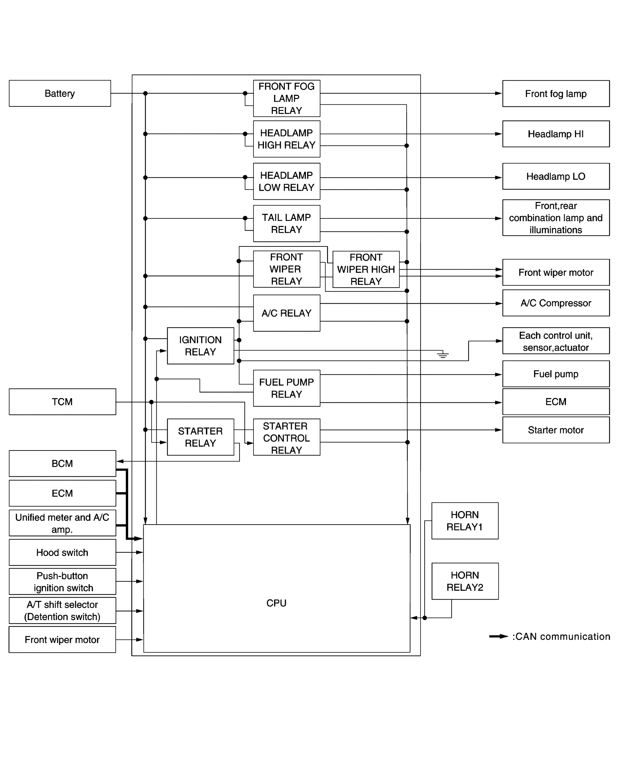
System Diagram

Fig 1: Relay Control System Diagram
G08198611Courtesy of NISSAN DIESEL MOTOR CO., LTD.