lemon-mirror:
Home >> Infiniti >> 2013 >> FX50 >> Repair and Diagnosis >> Electrical >> Body Electrical >> Power Control System (IPDM/Er) >> System Description >> Relay Control System >> System Diagram

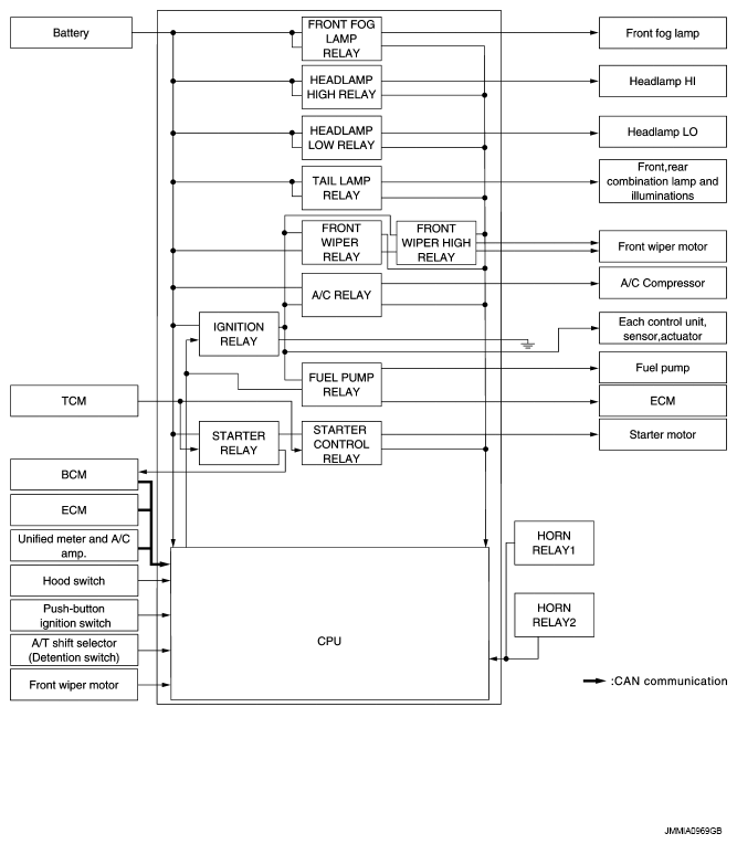
System Diagram

Fig 1: Relay Control System Diagram
G09004556Courtesy of NISSAN NORTH AMERICA, INC.