lemon-mirror:
Home >> Infiniti >> 2013 >> FX50 >> Repair and Diagnosis >> Transmission >> Automatic Transmission >> System Description >> A/T Control System >> System Diagram

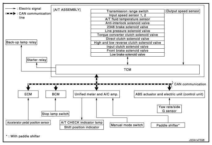
System Diagram

Fig 1: A/T Control System Diagram
G09002132Courtesy of NISSAN NORTH AMERICA, INC.