lemon-mirror:
Home >> Infiniti >> 2013 >> FX50 >> Repair and Diagnosis >> Transmission >> Automatic Transmission >> System Description >> Shift Change Control >> System Diagram

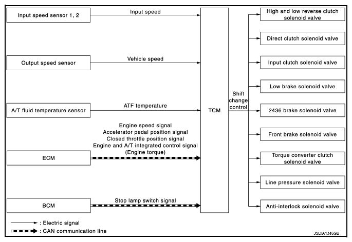
System Diagram

Fig 1: Shift Change Control System Diagram
G09002140Courtesy of NISSAN NORTH AMERICA, INC.