lemon-mirror:
Home >> Infiniti >> 2013 >> G37 Base >> Repair and Diagnosis >> Brakes >> Traction Control >> Brake Control System (Convertible) >> VDC/TCS/Abs >> System Description >> Abs >> System Diagram

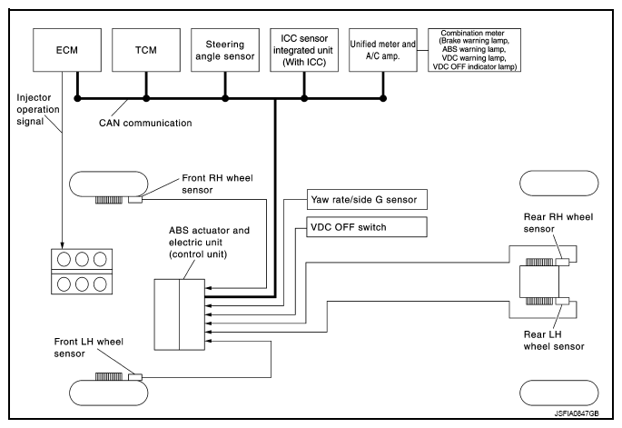
System Diagram

Fig 1: ABS - System Diagram
G08449969Courtesy of NISSAN NORTH AMERICA, INC.