lemon-mirror:
Home >> Infiniti >> 2013 >> JX35 FWD >> Repair and Diagnosis >> Body & Frame >> Windows >> Power Window Control System >> System Description >> System >> System Diagram

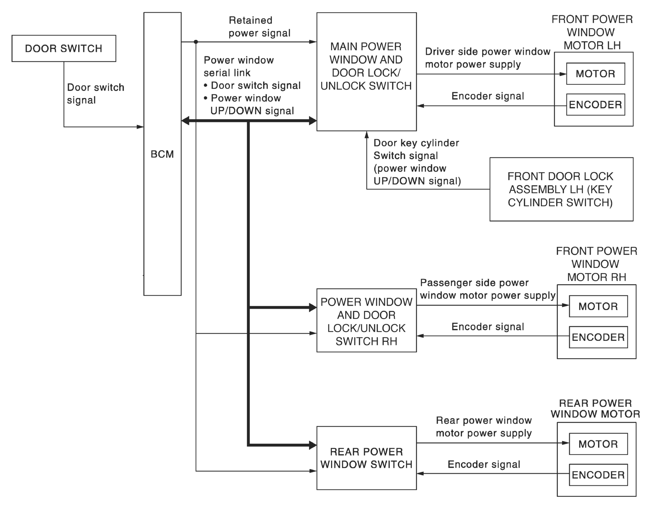
System Diagram

Fig 1: Power Window Control System Diagram
G08852104Courtesy of NISSAN NORTH AMERICA, INC.