lemon-mirror:
Home >> Infiniti >> 2013 >> M56 Base >> Repair and Diagnosis >> Brakes >> Traction Control >> Brake Control System (With VDC) >> System Description >> System >> System Description >> System Diagram

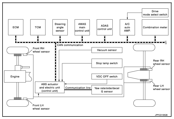
System Diagram

Fig 1: Brake Control System Diagram
G07019475Courtesy of NISSAN NORTH AMERICA, INC.