lemon-mirror:
Home >> Infiniti >> 2014 >> QX80 AWD >> Repair and Diagnosis >> Electrical >> Body Electrical >> Power Control System (IPDM/Er) >> System Description >> System >> Relay Control System >> RELAY CONTROL SYSTEM: System Diagram

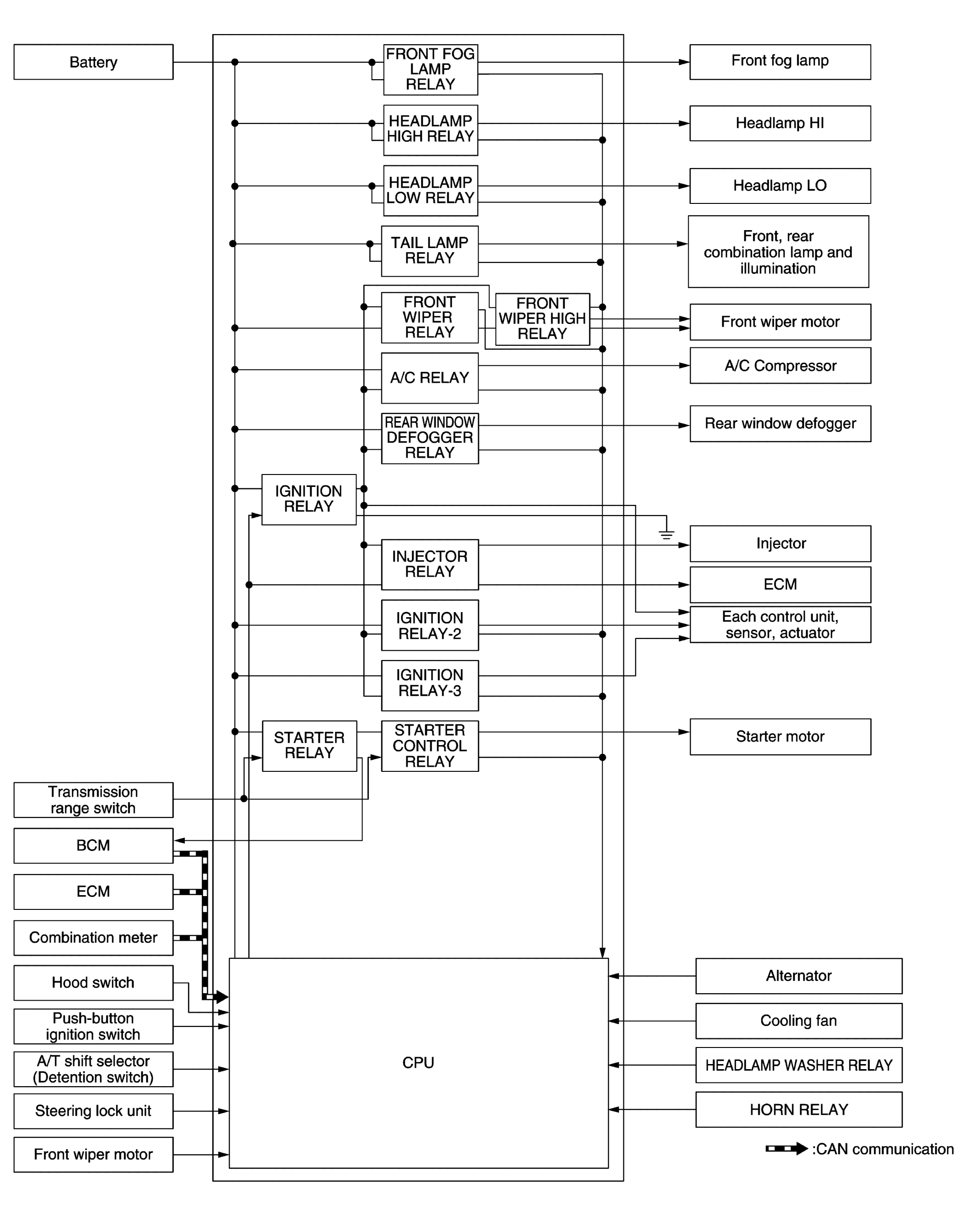
RELAY CONTROL SYSTEM: System Diagram

Fig 1: Relay Control System Diagram
G08258170Courtesy of NISSAN NORTH AMERICA, INC.