lemon-mirror:
Home >> Infiniti >> 2015 >> Q40 AWD >> Repair and Diagnosis >> Transmission >> Automatic Trans >> Automatic Transmission (Introduction) >> Unit Disassembly And Assembly >> Transmission Assembly >> Assembly

Transmission Assembly: Assembly

  1. As shown in the figure below, use a drift [22 mm (0.87 in) dia. commercial service tool] to drive manual shaft oil seals into the transmission case until it is flush.
    Fig 1: Driving Manual Shaft Oil Seals Into Transmission Case
    G04075911Courtesy of NISSAN NORTH AMERICA, INC.
    CAUTION:
    • Never reuse manual shaft oil seals.
    • Apply ATF to manual shaft oil seals.
  2. Install detent spring to transmission case and tighten detent spring mounting bolt (→) to the specified torque.
    Fig 2: Locating Detent Spring Mounting Bolt
    G08217844Courtesy of NISSAN NORTH AMERICA, INC.
  3. Install manual shaft to transmission case.
    Fig 3: Removing Manual Shaft From Transmission Case
    G04075833Courtesy of NISSAN NORTH AMERICA, INC.
  4. Install parking rod (1) to manual plate (2).
    Fig 4: Installing Parking Rod To Manual Plate
    G07013624Courtesy of NISSAN NORTH AMERICA, INC.
  5. Install manual plate (with parking rod) to manual shaft.
    Fig 5: Installing Manual Plate (With Parking Rod) To Manual Shaft
    G04075831Courtesy of NISSAN NORTH AMERICA, INC.
  6. Install retaining pin (1) into the manual plate and manual shaft.
    Fig 6: Identifying Retaining Pin
    G07013626Courtesy of NISSAN NORTH AMERICA, INC.
    1. Fit pinhole of the manual plate to pinhole of the manual shaft with a pin punch.
    2. Use a hammer to tap the retaining pin into the manual plate.
      A : Approx. 2 mm (0.08 in)
      CAUTION:

      Drive retaining pin to 2+-0.5 mm (0.08+-0.020 in) over the manual plate.

  7. Install retaining pin into the transmission case and manual shaft.
    Fig 7: Identifying Retaining Pin In Transmission Case And Manual Shaft
    G04075917Courtesy of NISSAN NORTH AMERICA, INC.
    1. Fit pinhole of the transmission case to pinhole of the manual shaft with a pin punch.
    2. Use a hammer to tap the retaining pin into the transmission case.
      CAUTION:

      Drive retaining pin to 5+-1 mm (0.20+-0.04 in) over the transmission case.

  8. Install D-rings in reverse brake piston.
    Fig 8: Identifying D-Rings In Reverse Brake Piston
    G04121002Courtesy of NISSAN NORTH AMERICA, INC.
  9. Install reverse brake piston in transmission case.
    Fig 9: Identifying Reverse Brake Piston
    G04075923Courtesy of NISSAN NORTH AMERICA, INC.
  10. Install needle bearing to drum support edge surface.
    Fig 10: Identifying Needle Bearing
    G04075924Courtesy of NISSAN NORTH AMERICA, INC.
    CAUTION:

    Check the direction of needle bearing. Refer to LOCATION OF NEEDLE BEARINGS AND BEARING RACES .

  11. Install seal rings to drum support.
    Fig 11: Identifying Seal Rings
    G04075925Courtesy of NISSAN NORTH AMERICA, INC.
  12. Install reverse brake spring retainer and reverse brake return spring in transmission case.
    Fig 12: Identifying Spring Retainer
    G04075824Courtesy of NISSAN NORTH AMERICA, INC.
  13. Set the clutch spring compressor on reverse brake spring retainer and install snap ring (fixing spring retainer) in transmission case while compressing return spring.
    Fig 13: Setting SST On Spring Retainer
    G07013633Courtesy of NISSAN NORTH AMERICA, INC.
    CAUTION:
    • Securely assemble them using a flat-bladed screwdriver so that snap ring tension is slightly weak.
    • Be careful not to damage snap ring.
  14. Install reverse brake component part (drive plates, driven plates, and dish plates) in transmission case.
    Fig 14: Reverse Brake Component Parts Installation Orientation
    GNSJPDIA1135ZZ-135Courtesy of NISSAN NORTH AMERICA, INC.
    1 : Snap ring
    2 : Retaining plate
    3 : Drive plate (six pieces)
    4 : Driven plate (six pieces)
    5 : Dish plate
    6 : Dish plate
    CAUTION:

    Check order of plates.

  15. Assemble N-spring.
    Fig 15: Assembling N-Spring
    G04121100Courtesy of NISSAN NORTH AMERICA, INC.
  16. Install reverse brake retaining plate in transmission case.
  17. Install snap ring in transmission case.
    Fig 16: Identifying Snap Ring In Transmission Case
    G04075931Courtesy of NISSAN NORTH AMERICA, INC.
    CAUTION:

    Be careful not to damage snap ring.

  18. Measure clearance between retaining plate and snap ring. If not within specified clearance, select proper retaining plate.
    Fig 17: Identifying Clearance Between Retaining Plate And Snap Ring
    G04075932Courtesy of NISSAN NORTH AMERICA, INC.
    Specified clearance "A"
      Standard: Refer to REVERSE BRAKE CLEARANCE .
    Retaining plate: Refer to REVERSE BRAKE CLEARANCE 
  19. Install needle bearing to transmission case.
    Fig 18: Identifying Needle Bearing
    G04075818Courtesy of NISSAN NORTH AMERICA, INC.
    CAUTION:

    Check the direction of needle bearing. Refer to LOCATION OF NEEDLE BEARINGS AND BEARING RACES .

  20. Install output speed sensor (1) to transmission case and tighten output speed sensor mounting bolt (→) to the specified torque.
    Fig 19: Locating Output Speed Sensor
    G06578129Courtesy of NISSAN NORTH AMERICA, INC.
    CAUTION:
    • Never subject it to impact by dropping or hitting it.
    • Never disassemble.
    • Never allow metal filings, etc. to get on the sensor's front edge magnetic area.
    • Never place in an area affected by magnetism.
  21. As shown in the figure below, use the drift to drive rear oil seal into the rear extension (2WD) (A) or adapter case (AWD) (B) until it is flush.
    Fig 20: Installing Rear Oil Seal Into Rear Extension (2WD Models) Or Adapter Case (4WD Models) Using Drift
    G00498564Courtesy of NISSAN NORTH AMERICA, INC.
    1 : Drift [SST: 33400001 (J-26082)]
    2 : Drift [Commercial service tool Ø64 mm (2.52 in)]
    CAUTION:
    • Never reuse rear oil seal.
    • Apply ATF to rear oil seal.
  22. Install return spring (1) to parking pawl (2).
    Fig 21: Identifying Return Spring And Parking Pawl
    G04075844Courtesy of NISSAN NORTH AMERICA, INC.
  23. Install parking pawl (with return spring) and pawl shaft to rear extension (2WD) or adapter case (AWD).
    Fig 22: Identifying Parking Pawl And Pawl Shaft
    G04075697Courtesy of NISSAN NORTH AMERICA, INC.
  24. Install parking actuator support to rear extension (2WD) or adapter case (AWD).
    Fig 23: Identifying Parking Actuator Support
    G04075696Courtesy of NISSAN NORTH AMERICA, INC.
  25. Install needle bearing (1) to rear extension (2WD) or adapter case (AWD).
    Fig 24: Identifying Needle Bearing
    G04120872Courtesy of NISSAN NORTH AMERICA, INC.
    CAUTION:

    Check the direction of needle bearing. Refer to LOCATION OF NEEDLE BEARINGS AND BEARING RACES .

  26. Install rear extension assembly (2WD) or adapter case assembly (AWD) according to the following procedures.
    1. 2WD 
      1. Install seal rings (1) to output shaft.
        Fig 25: Identifying Output Shaft Seal Rings
        G05218659Courtesy of NISSAN NORTH AMERICA, INC.
      2. Install parking gear (1) to output shaft (2).
        Fig 26: Removing Parking Gear From Output Shaft
        G05218658Courtesy of NISSAN NORTH AMERICA, INC.
      3. Install output shaft in transmission case.
        Fig 27: Removing Output Shaft From Transmission Case
        G04075815Courtesy of NISSAN NORTH AMERICA, INC.
        CAUTION:

        Be careful not to mistake front for rear because both sides looks similar. (Thinner end is front side.)

      4. Install bearing race to output shaft.
        Fig 28: Removing Bearing Race From Output Shaft
        G04075692Courtesy of NISSAN NORTH AMERICA, INC.
      5. Apply recommended sealant (Genuine Anaerobic Liquid Gasket or equivalent. Refer to RECOMMENDED CHEMICAL PRODUCTS AND SEALANTS .) to rear extension assembly as shown in the figure below.
        Fig 29: Identifying Overlap Width Of Sealant Starting Point And End Point
        G07013558Courtesy of NISSAN NORTH AMERICA, INC.
        Sealant starting point and end-point (A) : Start and finish point shall be in the center of two bolts.
        Overlap width of sealant starting point and end-point (B) : 3 - 5 mm (0.12 - 0.20 in)
        Sealant width (C) : 1.0 - 2.0 mm (0.04 - 0.08 in)
        Sealant height (C) : 0.4 - 1.0 mm (0.016 - 0.04 in)
        CAUTION:

        Completely remove all moisture, oil and old sealant, etc. from the transmission case and rear extension assembly mounting surfaces.

      6. Install rear extension assembly to transmission case.
        Fig 30: Identifying Rear Extension Assembly
        G04075809Courtesy of NISSAN NORTH AMERICA, INC.
        CAUTION:

        Insert the tip of parking rod between the parking pawl and the parking actuator support when assembling the rear extension assembly.

      7. Tighten rear extension assembly bolts to the specified torque.
        Fig 31: Identifying Rear Extension Assembly And Transmission Case Mounting Bolts
        G08217479Courtesy of NISSAN NORTH AMERICA, INC.
        A : Bolt
        B : Self-sealing bolt
    2. AWD 
      1. Install seal rings (1) to output shaft.
        Fig 32: Identifying Output Shaft Seal Rings
        G05218659Courtesy of NISSAN NORTH AMERICA, INC.
      2. Install parking gear (1) to output shaft (2).
        Fig 33: Removing Parking Gear From Output Shaft
        G05218658Courtesy of NISSAN NORTH AMERICA, INC.
      3. Install output shaft in transmission case.
        Fig 34: Removing Output Shaft From Transmission Case
        G04075815Courtesy of NISSAN NORTH AMERICA, INC.
        CAUTION:

        Be careful not to mistake front for rear because both sides looks similar. (Thinner end is front side.)

      4. Install bearing race to output shaft.
        Fig 35: Removing Bearing Race From Output Shaft
        G04075692Courtesy of NISSAN NORTH AMERICA, INC.
      5. Install gasket onto transmission case.
        Fig 36: Removing Gasket From Transmission Case
        G04075813Courtesy of NISSAN NORTH AMERICA, INC.
        CAUTION:
        • Completely remove all moisture, oil and old gasket, etc. from the transmission case and adapter case assembly mounting surfaces.
        • Never reuse gasket.
      6. Install adapter case assembly to transmission case.
        Fig 37: Installing Adapter Case Assembly To Transmission Case
        G04075812Courtesy of NISSAN NORTH AMERICA, INC.
        CAUTION:

        Insert the tip of parking rod between the parking pawl and the parking actuator support when assembling the adapter case assembly.

      7. Tighten adapter case assembly bolts to the specified torque.
        Fig 38: Locating Adapter Bolts
        GNSJPDIA1137ZZ-137Courtesy of NISSAN NORTH AMERICA, INC.
        1 : Bracket
        A : Bolt
        B : Self-sealing bolt
  27. Install needle bearing in drum support.
    Fig 39: Identifying Needle Bearing And Drum Support
    G04075789Courtesy of NISSAN NORTH AMERICA, INC.
    CAUTION:

    Check the direction of needle bearing. Refer to LOCATION OF NEEDLE BEARINGS AND BEARING RACES .

  28. Install direct clutch assembly in reverse brake.
    Fig 40: Identifying Direct Clutch Assembly
    G04075788Courtesy of NISSAN NORTH AMERICA, INC.
    CAUTION:

    Make sure that drum support edge surface and direct clutch inner boss edge surface come to almost same place.

  29. Install high and low reverse clutch assembly in direct clutch.
    Fig 41: Identifying High And Low Reverse Clutch Assembly
    G04075787Courtesy of NISSAN NORTH AMERICA, INC.
  30. Align the drive plate using a flat-bladed screwdriver.
    Fig 42: Aligning Drive Plate Using Flat-Bladed Screwdriver
    G04075954Courtesy of NISSAN NORTH AMERICA, INC.
  31. Install high and low reverse clutch hub, mid sun gear assembly, and rear sun gear assembly as a unit.
    Fig 43: Identifying Mid Sun Gear Assembly And Rear Sun Gear Assembly
    G04075786Courtesy of NISSAN NORTH AMERICA, INC.
    CAUTION:

    Make sure that portion "A" of high and low reverse clutch drum protrudes approximately 2 mm (0.08 in) beyond portion "B" of rear sun gear.

    Fig 44: Identifying Portion Of High And Low Reverse Clutch Drum
    G04075956Courtesy of NISSAN NORTH AMERICA, INC.
  32. Install needle bearing in rear carrier assembly.
    Fig 45: Removing Needle Bearing From Rear Carrier Assembly
    G04075785Courtesy of NISSAN NORTH AMERICA, INC.
    CAUTION:

    Check the direction of needle bearing. Refer to LOCATION OF NEEDLE BEARINGS AND BEARING RACES .

  33. Install bearing race in rear carrier assembly.
    Fig 46: Removing Bearing Race From Rear Carrier Assembly
    G04075784Courtesy of NISSAN NORTH AMERICA, INC.
    CAUTION:

    Check the direction of needle bearing. Refer to LOCATION OF NEEDLE BEARINGS AND BEARING RACES .

  34. Install rear carrier assembly in direct clutch drum.
    Fig 47: Identifying Rear Carrier Assembly
    G04075959Courtesy of NISSAN NORTH AMERICA, INC.
  35. Install needle bearing (rear side) to mid carrier assembly.
    Fig 48: Installing Needle Bearing (Rear Side) To Mid Carrier Assembly
    G04075783Courtesy of NISSAN NORTH AMERICA, INC.
    CAUTION:

    Check the direction of needle bearing. Refer to LOCATION OF NEEDLE BEARINGS AND BEARING RACES .

  36. Install needle bearing (front side) to mid carrier assembly.
    Fig 49: Removing Needle Bearing (Front Side) From Mid Carrier Assembly
    G04075782Courtesy of NISSAN NORTH AMERICA, INC.
    CAUTION:

    Check the direction of needle bearing. Refer to LOCATION OF NEEDLE BEARINGS AND BEARING RACES .

  37. Install mid carrier assembly in rear carrier assembly.
    Fig 50: Identifying Mid Carrier Assembly
    G04075780Courtesy of NISSAN NORTH AMERICA, INC.
  38. Install seal rings (1) to input clutch assembly.
    Fig 51: Identifying Input Clutch Assembly Seal Rings
    G07016116Courtesy of NISSAN NORTH AMERICA, INC.
  39. Install needle bearing (1) to front carrier assembly.
    Fig 52: Identifying Front Carrier Assembly Needle Bearing
    G07016115Courtesy of NISSAN NORTH AMERICA, INC.
    CAUTION:

    Check the direction of needle bearing. Refer to LOCATION OF NEEDLE BEARINGS AND BEARING RACES .

  40. Install input clutch assembly (with front carrier assembly and rear internal gear) (1) to transmission case.
    Fig 53: Installing Input Clutch Assembly To Transmission Case
    G07013673Courtesy of NISSAN NORTH AMERICA, INC.
    CAUTION:

    Check that the needle bearing (2) is securely positioned. If the needle bearing position is misaligned, adjust it to the specified position.

  41. Install 1st one-way clutch (1) to front brake hub (with under drive carrier) (2).
    Fig 54: Identifying Front Brake Hub Correct Locking And Unlocking Directions
    G07233702Courtesy of NISSAN NORTH AMERICA, INC.
  42. Check operation of 1st one-way clutch.
    1. Hold 1st one-way clutch.
    2. Check front brake hub for correct locking and unlocking directions.
        : Unlocked
        : Locked
      CAUTION:

      If not shown in figure below, check installation direction of 1st one-way clutch.

  43. Install under drive carrier (with 1st one-way clutch) (1) to transmission case.
    Fig 55: Identifying Under Drive Carrier (With 1st One-Way Clutch)
    G07013675Courtesy of NISSAN NORTH AMERICA, INC.
  44. Install snap ring (1) to transmission case.
    Fig 56: Identifying Transmission Case Snap Ring
    G07016111Courtesy of NISSAN NORTH AMERICA, INC.
    CAUTION:

    Be careful not to damage snap ring.

  45. Install front brake component part (retaining plates, drive plates and driven plate) to transmission case.
    Fig 57: Identifying Front Brake Component Parts Installation Orientation
    GNSJPDIA1154ZZ-154Courtesy of NISSAN NORTH AMERICA, INC.
    1 : Retaining plate (thin)
    2 : Drive plate
    3 : Driven plate
    4 : Retaining plate (thick)
      : Front
    CAUTION:

    Check order of plates.

  46. Install needle bearing (1) to under drive carrier assembly.
    Fig 58: Identifying Drive Carrier Assembly Needle Bearing
    G07016109Courtesy of NISSAN NORTH AMERICA, INC.
    CAUTION:

    Check the direction of needle bearing. Refer to LOCATION OF NEEDLE BEARINGS AND BEARING RACES .

  47. Install under drive sun gear (1) to under drive carrier assembly.
    Fig 59: Identifying Under Drive Sun Gear
    G07016107Courtesy of NISSAN NORTH AMERICA, INC.
  48. Adjustment of total end play "T".
    Fig 60: Measuring Clearance Between Bearing Race And Oil Pump Cover
    G07013680Courtesy of NISSAN NORTH AMERICA, INC.
    • Measure clearance between bearing race (1) and oil pump cover (2).
    • Select proper thickness of bearing race so that end play is within specifications.
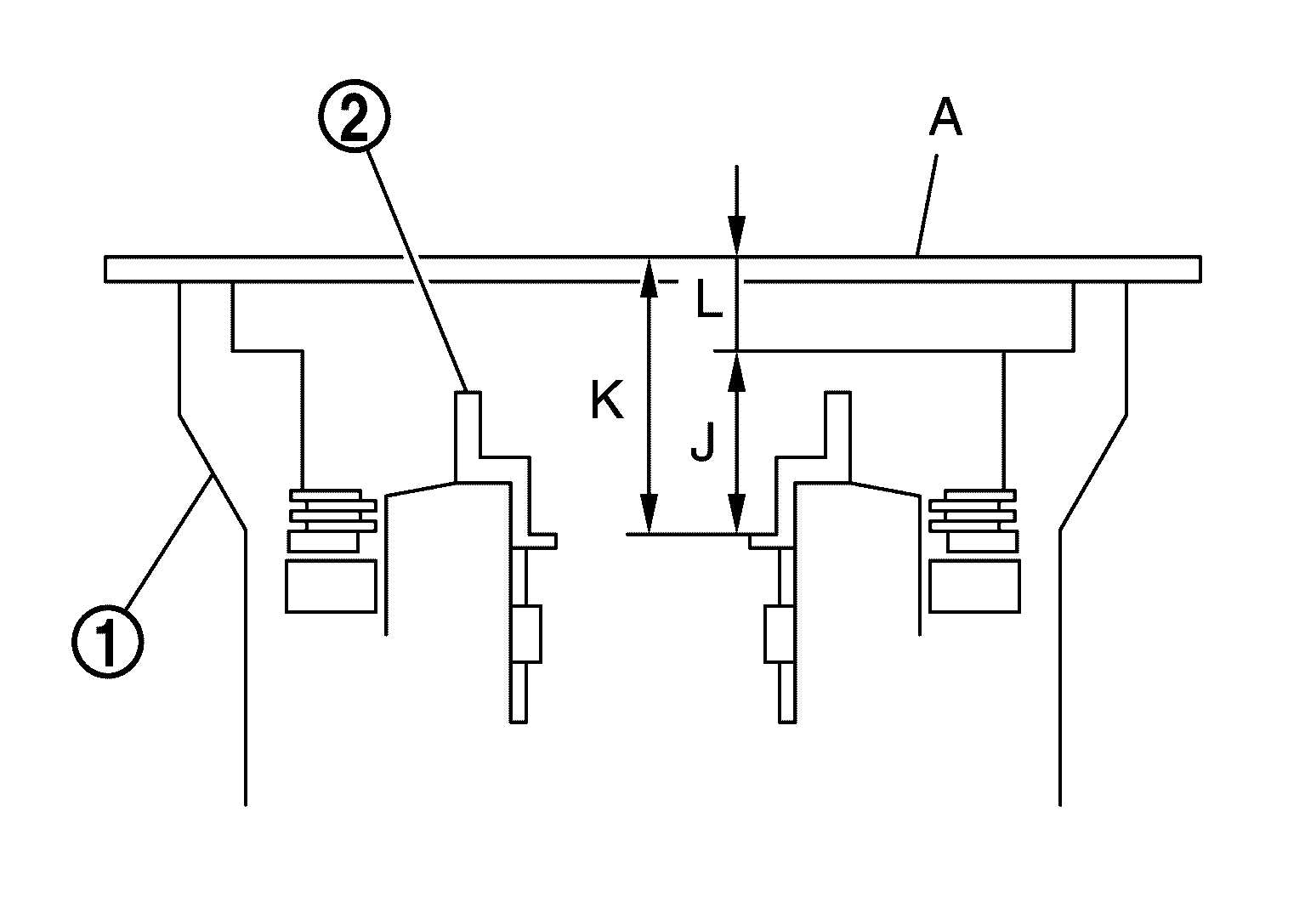
    1. Measure dimensions "K" and "L", and calculate dimension "J".
      Fig 61: Identifying Dimension Between Oil Pump Fitting Surface Of Transmission Case And Needle Bearing Mating Surface Of Under Drive Sun Gear
      G07160532Courtesy of NISSAN NORTH AMERICA, INC.
      1 : Transmission case
      2 : Under drive sun gear
      A : Straightedge
      "J" : Distance between the oil pump fitting surface of transmission case and the needle bearing mating surface of under drive sun gear.
      J = K - L
      1. Measure dimension "K" between the converter housing fitting surface of transmission case (1) and the needle bearing mating surface of under drive sun gear (2).
        Fig 62: Measuring Dimension Between Converter Housing Fitting Surface Of Transmission Case And Needle Bearing Mating Surface
        G07013682Courtesy of NISSAN NORTH AMERICA, INC.
        CAUTION:
        • Never change the straightedge (A) installation position before the completion of "L" measurement.
        • Measure dimension "K" in at least three places, and take the average.
      2. Measure dimension "L" between the converter housing fitting surface of transmission case and the oil pump fitting surface of transmission case.
        Fig 63: Identifying Dimension Between Converter Housing Fitting Surface And Oil Pump Fitting Surface Of Transmission Case
        G07013683Courtesy of NISSAN NORTH AMERICA, INC.
        1 : Transmission case
        A : Straightedge
        CAUTION:

        Measure dimension "L" in at least three places, and take the average.

      3. Calculate dimension "J".
        J = K - L
    2. Measure dimensions "M1 " and "M2 ", and calculate dimension "M".
      Fig 64: Checking Distance Between Transmission Case Fitting Surface Of Oil Pump And Needle Bearing On Oil Pump
      G07174127Courtesy of NISSAN NORTH AMERICA, INC.
      1 : Bearing race
      2 : Needle bearing
      3 : Oil pump assembly
      A : Straightedge
      "M" : Distance between the transmission case fitting surface of oil pump and the needle bearing on oil pump.
      M = M1 - M2
      1. Place bearing race (1) and needle bearing (2) on oil pump assembly (3).
        Fig 65: Identifying Bearing Race, Needle Bearing And Oil Pump Assembly
        G07013685Courtesy of NISSAN NORTH AMERICA, INC.
      2. Measure dimension "M1 " between the transmission case fitting surface of oil pump and the end of oil pump.
        Fig 66: Identifying Distance Between Transmission Case Fitting Surface Of Oil Pump And End Of Oil Pump
        G08240495Courtesy of NISSAN NORTH AMERICA, INC.
        1 : Bearing race
        2 : Needle bearing
        3 : Oil pump assembly
        A : Straightedge
        CAUTION:

        Measure dimension "M1 " in at least three places, and take the average.

      3. Measure dimension "M2 " between the needle bearing on oil pump and the end of oil pump.
        Fig 67: Measuring Dimensions "M1" & "M2"
        GNSJSDIA1703ZZ-703Courtesy of NISSAN NORTH AMERICA, INC.
        1 : Bearing race
        2 : Needle bearing
        3 : Oil pump assembly
        A : Straightedge
        CAUTION:

        Measure dimension "M2 " in at least three places, and take the average.

      4. Calculate dimension "M".
        M = M1 - M2
    3. Adjust total end play "T".
      Fig 68: Measuring Clearance Between Bearing Race And Oil Pump Cover
      G07013680Courtesy of NISSAN NORTH AMERICA, INC.
      1 : Bearing race
      2 : Oil pump assembly
      T = J - M
      Total end play "T" : Refer to TOTAL END PLAY .
      • Select proper thickness of bearing race so that total end play is within specifications.
        Bearing races : Refer to TOTAL END PLAY .
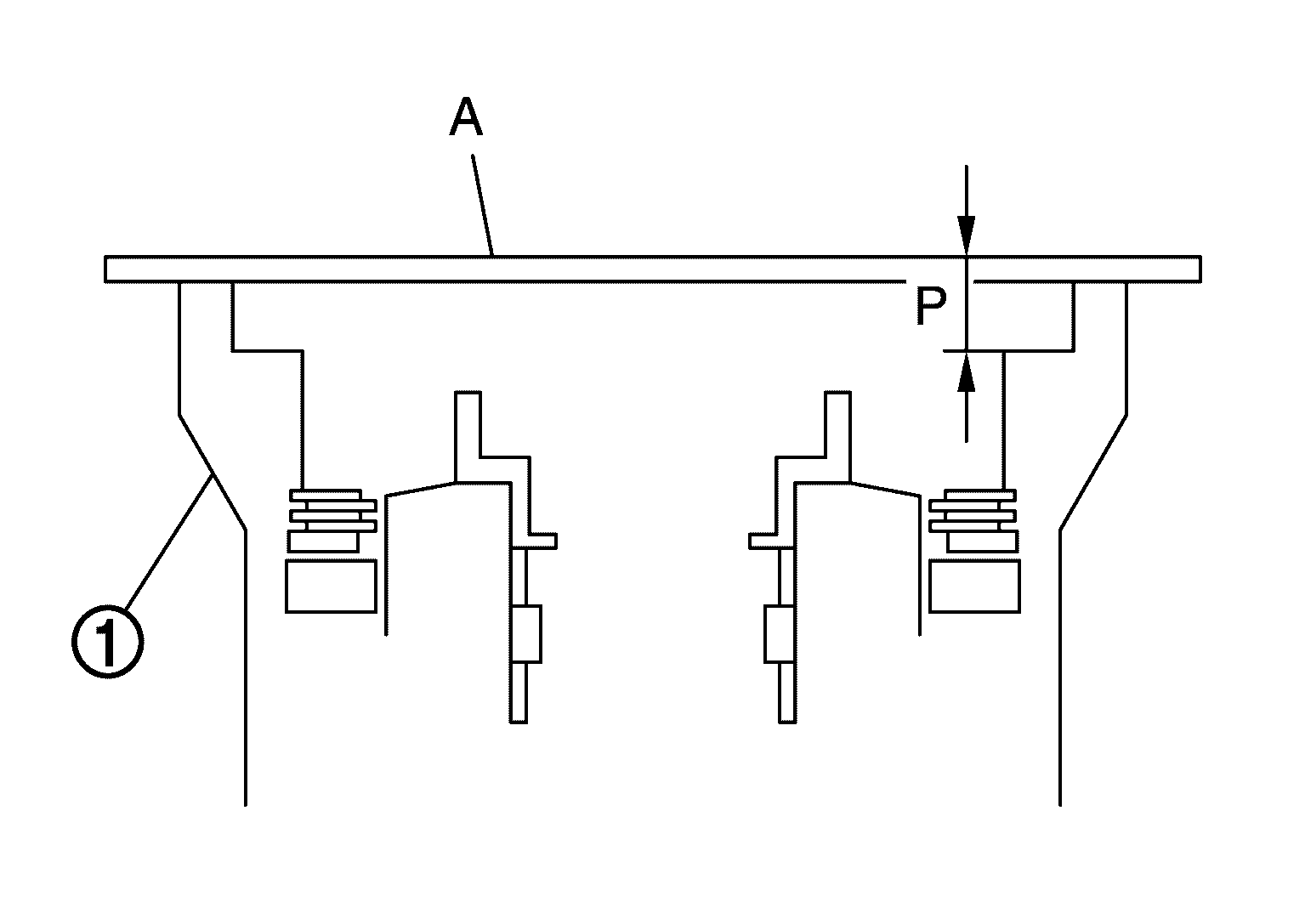
  49. Adjustment of front brake clearance "C".
    Fig 69: Identifying Front Brake Clearance
    G07013689Courtesy of NISSAN NORTH AMERICA, INC.
    • Measure clearance between front brake piston (1) and front brake retaining plate (2).
    • Select proper thickness of front brake retaining plat so that clearance is within specifications.
    1. Measure dimensions "O" and "P", and calculate dimension "N".
      Fig 70: Measuring Dimensions "O" & "P"
      GNSJSDIA1705ZZ-705Courtesy of NISSAN NORTH AMERICA, INC.
      1 : Transmission case
      2 : Front brake retaining plate
      A : Straightedge
      "N" : Distance between the oil pump fitting surface of transmission case and the front brake retaining plate.
      N = O - P
      1. Measure dimension "O" between the converter housing fitting surface of transmission case (1) and the front brake retaining plate (2).
        Fig 71: Measuring Dimension Between Converter Housing Fitting Surface Of Transmission Case And Front Brake Retaining Plate
        G08104256Courtesy of NISSAN NORTH AMERICA, INC.
        CAUTION:
        • Never change the straightedge (A) installation position before the completion of "P" measurement.
        • Measure dimension "O" in at least three places, and take the average.
      2. Measure dimension "P" between the converter housing fitting surface of transmission case and the oil pump fitting surface of transmission case.
        Fig 72: Measuring Dimension "P"
        GNSJSDIA1707ZZ-707Courtesy of NISSAN NORTH AMERICA, INC.
        1 : Transmission case
        A : Straightedge
        CAUTION:

        Measure dimension "P" in at least three places, and take the average.

      3. Calculate dimension "N".
        N = O - P
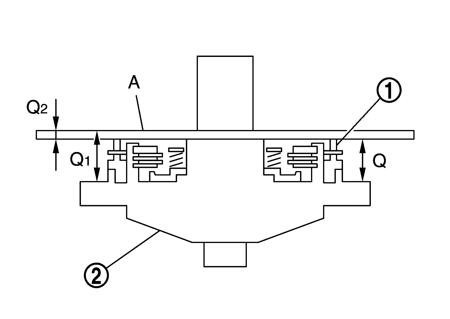
    2. Measure dimensions "Q1 " and "Q2 ", and calculate dimension "Q".
      Fig 73: Measuring Dimensions "Q1" & "Q2"
      GNSJSDIA1708ZZ-708Courtesy of NISSAN NORTH AMERICA, INC.
      1 : Front brake piston
      2 : Oil pump assembly
      A : Straightedge
      "Q" : Distance between the transmission case fitting surface of oil pump and the front brake piston.
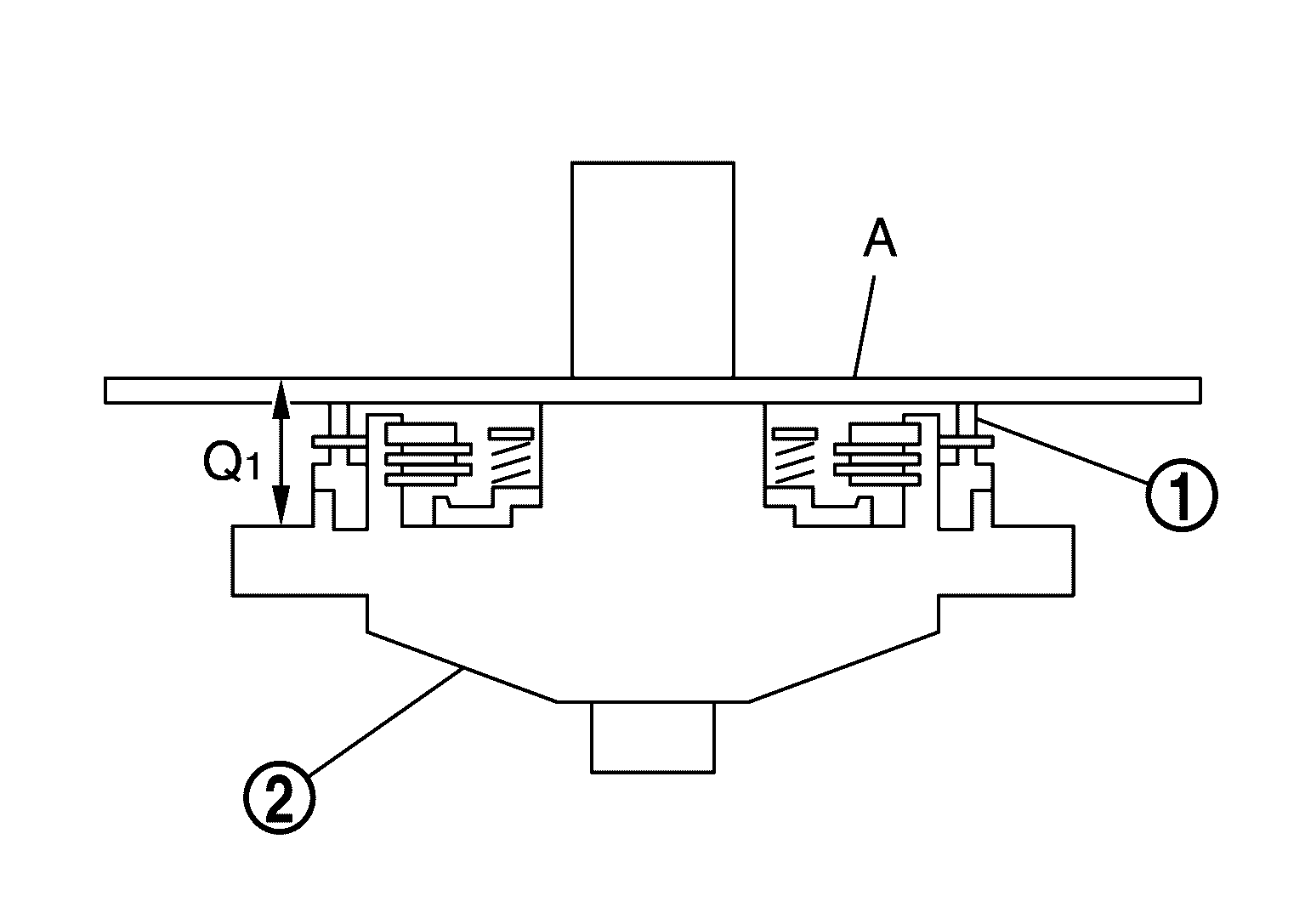
      Q = Q1 - Q2
      1. Measure dimension "Q1 " between the transmission case fitting surface of oil pump and the straightedge on front brake piston.
        Fig 74: Measuring Dimension "Q1"
        GNSJSDIA1709ZZ-709Courtesy of NISSAN NORTH AMERICA, INC.
        1 : Front brake piston
        2 : Oil pump assembly
        A : Straightedge
        CAUTION:

        Measure dimension "Q1 " in at least three places, and take the average.

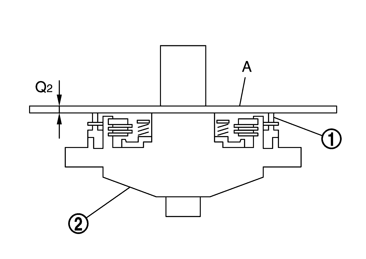
      2. Measure dimension "Q2 " of the straightedge.
        Fig 75: Measuring Dimensions "Q1" & "Q2"
        GNSJSDIA1711ZZ-711Courtesy of NISSAN NORTH AMERICA, INC.
        1 : Front brake piston
        2 : Oil pump assembly
        A : Straightedge
      3. Calculate dimension "Q".
        Q = Q1 - Q2
    3. Adjust front brake clearance "C".
      Fig 76: Identifying Front Brake Clearance
      G07013689Courtesy of NISSAN NORTH AMERICA, INC.
      1 : Front brake piston
      2 : Front brake retaining plate
      C = N - Q
      Front brake clearance "C" : Refer to FRONT BRAKE CLEARANCE .
      • Select proper thickness of retaining plate so that front brake clearance is within specifications.
        Retaining plate : Refer to FRONT BRAKE CLEARANCE .
  50. Remove under drive sun gear (1) from under drive carrier assembly.
    Fig 77: Identifying Under Drive Sun Gear
    G07016107Courtesy of NISSAN NORTH AMERICA, INC.
  51. Install needle bearing (1) to under drive sun gear.
    Fig 78: Installing Needle Bearing To Under Drive Sun Gear
    G07016108Courtesy of NISSAN NORTH AMERICA, INC.
    CAUTION:

    Check the direction of needle bearing. Refer to LOCATION OF NEEDLE BEARINGS AND BEARING RACES .

  52. Install O-ring (1) to oil pump assembly.
    Fig 79: Identifying Oil Pump Assembly O-Ring
    G07016104Courtesy of NISSAN NORTH AMERICA, INC.
  53. Install seal ring (1) to oil pump assembly.
    Fig 80: Identifying Oil Pump Assembly Seal Ring
    G07016106Courtesy of NISSAN NORTH AMERICA, INC.
  54. Install bearing race (1) to oil pump assembly.
    Fig 81: Identifying Oil Pump Assembly Bearing Race
    G07016105Courtesy of NISSAN NORTH AMERICA, INC.
  55. Install under drive sun gear (with needle bearing) (1) to oil pump assembly (2).
    Fig 82: Identifying Under Drive Sun Gear And Oil Pump Assembly
    G07013702Courtesy of NISSAN NORTH AMERICA, INC.
  56. Install oil pump assembly (with under drive sun gear) to transmission case.
    Fig 83: Installing Oil Pump Assembly In Transmission Case
    G04075983Courtesy of NISSAN NORTH AMERICA, INC.
    CAUTION:

    Apply ATF to oil pump bearing.

  57. Apply recommended sealant to oil pump assembly as shown in the figure below.
    Fig 84: Identifying Sealant Applying Area On Oil Pump Assembly
    G07013704Courtesy of NISSAN NORTH AMERICA, INC.
      : Genuine RTV silicone sealant or equivalent. Refer to RECOMMENDED CHEMICAL PRODUCTS AND SEALANTS .
    CAUTION:

    Completely remove all moisture, oil and old sealant, etc. from the oil pump mounting bolts and oil pump mounting bolt mounting surfaces.

  58. Tighten oil pump bolts (→) to the specified torque.
    Fig 85: Locating Oil Pump Bolts
    G07013606Courtesy of NISSAN NORTH AMERICA, INC.
  59. Install O-ring to input clutch assembly.
    Fig 86: Identifying O-Ring
    G04075768Courtesy of NISSAN NORTH AMERICA, INC.
  60. Install converter housing to transmission case, and tighten converter housing bolts (→) to the specified torque.
    Fig 87: Locating Converter Housing And Transmission Case Bolts
    G07013604Courtesy of NISSAN NORTH AMERICA, INC.
  61. Connect TCM connector (A) to joint connector.
    Fig 88: Identifying TCM Connector
    G07016135Courtesy of NISSAN NORTH AMERICA, INC.
  62. Install joint connector (1) to the control valve & TCM.
    Fig 89: Installing Joint Connector To Control Valve And TCM
    G07013709Courtesy of NISSAN NORTH AMERICA, INC.
    CAUTION:

    Apply ATF to O-ring of joint connector.

  63. Install the control valve & TCM (1) to transmission case.
    Fig 90: Removing Control Valve And TCM From Transmission Case
    G07016133Courtesy of NISSAN NORTH AMERICA, INC.
    CAUTION:
    • Make sure that input speed sensor securely installs input speed sensor holes (A).
      Fig 91: Identifying Input Speed Sensor Holes
      G07013524Courtesy of NISSAN NORTH AMERICA, INC.
    • Hang down output speed sensor harness toward outside so as not to disturb installation of the control valve & TCM.
    • Adjust joint connector of the control valve & TCM to terminal hole of transmission case.
    • Assemble it so that manual valve cutout is engaged with manual plate projection.
      Fig 92: Identifying Manual Valve And Manual Plate
      G04075996Courtesy of NISSAN NORTH AMERICA, INC.
  64. Install bolts and clip (1) to the control valve & TCM. Tighten bolt (E) to the specified torque before tightening the other than bolts.
    Fig 93: Identifying Control Valve And TCM Bolts And Clips
    G07023164Courtesy of NISSAN NORTH AMERICA, INC.
      : Front
    Bolt symbol Length mm (in) Number of bolts
    A 43 (1.69) 3
    B 40 (1.57) 2
    C 54 (2.13) 6
    D 50 (1.97) 2
    E* 50 (1.97) 1

    *: Reamer bolt

  65. Connect output speed sensor connector (A).
    Fig 94: Locating Output Speed Sensor Connector Terminal Clips
    G07013520Courtesy of NISSAN NORTH AMERICA, INC.
  66. Engage output speed sensor harness with terminal clips (→).
  67. Pull down joint connector (1).
    Fig 95: Pulling Down Joint Connector
    G07013715Courtesy of NISSAN NORTH AMERICA, INC.
    CAUTION:

    Be careful not to damage connector.

  68. Install snap ring (1) to joint connector (2).
    Fig 96: Installing Snap Ring To Joint Connector
    G07013716Courtesy of NISSAN NORTH AMERICA, INC.
  69. Install magnets (1) in oil pan.
    Fig 97: Identifying Oil Pan Magnets
    G05218607Courtesy of NISSAN NORTH AMERICA, INC.
  70. Install oil pan gasket to transmission case.
    CAUTION:
    • Never reuse oil pan gasket.
    • Install it in the direction to align hole positions.
    • Completely remove all moisture, oil and old gasket, etc. from oil pan gasket mounting surface.
  71. Install oil pan (2) and clips (1) to transmission case.
    Fig 98: Identifying Oil Pan Mounting Bolts
    G07160391Courtesy of NISSAN NORTH AMERICA, INC.
      : Front
      : Oil pan mounting bolt
    CAUTION:
    • Be careful not to pinch harnesses.
    • Completely remove all moisture, oil and old gasket, etc. from oil pan mounting surface.
  72. Tighten oil pan mounting bolts to the specified torque in numerical order shown in the figure below after temporarily tightening them. Tighten oil pan mounting bolts to the specified torque.
    Fig 99: Oil Pan Mounting Bolt Tightening Sequence
    G05980481Courtesy of NISSAN NORTH AMERICA, INC.
      : Front
    CAUTION:

    Never reuse oil pan mounting bolts.

  73. Install drain plug to oil pan. Tighten drain plug to the specified torque.
    CAUTION:

    Never reuse drain plug gasket.

  74. Pour ATF into torque converter.
    Fig 100: Pouring ATF Into Torque Converter
    G04076008Courtesy of NISSAN NORTH AMERICA, INC.
    • Approximately 2 liter (2-1/8 US qt, 1-3/4 Imp qt) of ATF is required for a new torque converter. 
    • When reusing old torque converter, add the same amount of ATF as was drained. 
  75. Install torque converter while aligning notches of torque converter with notches of oil pump.
    Fig 101: Removing Torque Converter
    G04075765Courtesy of NISSAN NORTH AMERICA, INC.
    CAUTION:

    Install torque converter while rotating it.

  76. Measure dimension "A" to make sure that torque converter is in proper position.
    Fig 102: Checking Torque Converter Installation Depth
    G05218710Courtesy of NISSAN NORTH AMERICA, INC.
    B : Scale
    C : Straightedge
    Dimension "A" : Refer to TORQUE CONVERTER .