lemon-mirror:
Home >> Infiniti >> 2015 >> Q40 AWD >> Repair and Diagnosis >> Transmission >> Automatic Trans >> Automatic Transmission (Introduction) >> Unit Disassembly And Assembly >> Transmission Assembly >> Exploded View With Torque Specifications >> AWD Models

AWD Models

Fig 1: Exploded View Of Transmission Assembly With Torque Specifications (AWD) (1 Of 5)
G07233578Courtesy of NISSAN NORTH AMERICA, INC.
1. Torque converter 2. Converter housing 3. Oil pump housing oil seal
4. Oil pump housing 5. O-ring 6. Oil pump cover
7. O-ring 8. D-ring 9. D-ring
10. Front brake piston 11. Front brake spring retainer 12. Snap ring
13. D-ring 14. D-ring 15. 2346 brake piston
16. 2346 brake spring retainer 17. Snap ring 18. Seal ring
19. 2346 brake dish plate 20. 2346 brake driven plate 21. 2346 brake drive plate
22. 2346 brake retaining plate 23. Snap ring 24. Bearing race
25. Needle bearing 26. Under drive sun gear 27. Needle bearing
28. Front brake retaining plate 29. Front brake drive plate 30. Front brake driven plate
31. Front brake retaining plate 32. Snap ring 33. 1st one-way clutch
34. Snap ring 35. Under drive carrier assembly 36. Front brake hub assembly
: Apply Genuine RTV silicone sealant or equivalent. Refer to RECOMMENDED CHEMICAL PRODUCTS AND SEALANTS .
Refer to COMPONENTS for symbols not described on the above.
Fig 2: Exploded View Of Transmission Assembly (AWD) (2 Of 5)
GNSJPDIA1188ZZ-188Courtesy of NISSAN NORTH AMERICA, INC.
1. Needle bearing 2. Snap ring 3. Front carrier assembly
4. Needle bearing 5. O-ring 6. Seal ring
7. Input clutch assembly 8. Rear internal gear 9. Needle bearing
10. Mid carrier assembly 11. Needle bearing 12. Bearing race
13. Rear carrier assembly 14. Needle bearing 15. Mid sun gear
16. Seal ring 17. Rear sun gear 18. 2nd one-way clutch
19. Snap ring 20. Needle bearing 21. High and low reverse clutch hub
22. Snap ring 23. Bearing race 24. Needle bearing
Refer to COMPONENTS for symbols not described on the above.
Fig 3: Exploded View Of Transmission Assembly (AWD) (3 Of 5)
GNSJPDIA1190ZZ-190Courtesy of NISSAN NORTH AMERICA, INC.
1. Bearing race 2. High and low reverse clutch assembly 3. Needle bearing
4. Direct clutch assembly 5. Needle bearing 6. Reverse brake dish plate
7. Reverse brake dish plate 8. Reverse brake driven plate 9. N-spring
10. Snap ring 11. Reverse brake retaining plate 12. Reverse brake drive plate
13. Snap ring 14. Reverse brake spring retainer 15. Reverse brake return spring
16. Reverse brake piston 17. D-ring 18. D-ring
Refer to COMPONENTS for symbols in the figure.
Fig 4: Exploded View Of Transmission Assembly With Torque Specifications (AWD) (4 Of 5)
GNSJSDIA1965GB-965Courtesy of NISSAN NORTH AMERICA, INC.
1. Parking rod 2. Manual plate 3. Manual shaft
4. Retaining pin 5. Detent spring 6. Oil seal
7. Bracket 8. O-ring 9. Self - sealing bolt
10. Baffle plate 11. O-ring 12. Seal ring
13. Snap ring 14. Oil pan gasket 15. Oil pan
16. Clip 17. Oil pan mounting bolt 18. Overflow plug
19. Drain plug 20. Drain plug gasket 21. Magnet
22. Clip 23. Control valve & TCM 24. Joint connector
25. Transmission case 26. Retaining pin 27. Output speed sensor
28. Gasket 29. Needle bearing 30. Parking gear
31. Seal ring 32. Output shaft 33. Bearing race
Refer to COMPONENTS for symbols in the figure.
Fig 5: Exploded View Of Transmission Assembly With Torque Specifications (AWD) (5 Of 5)
GNSJSDIA1766GB-766Courtesy of NISSAN NORTH AMERICA, INC.
1. Parking actuator support 2. Parking pawl 3. Pawl shaft
4. Return spring 5. Needle bearing 6. Self - sealing bolt
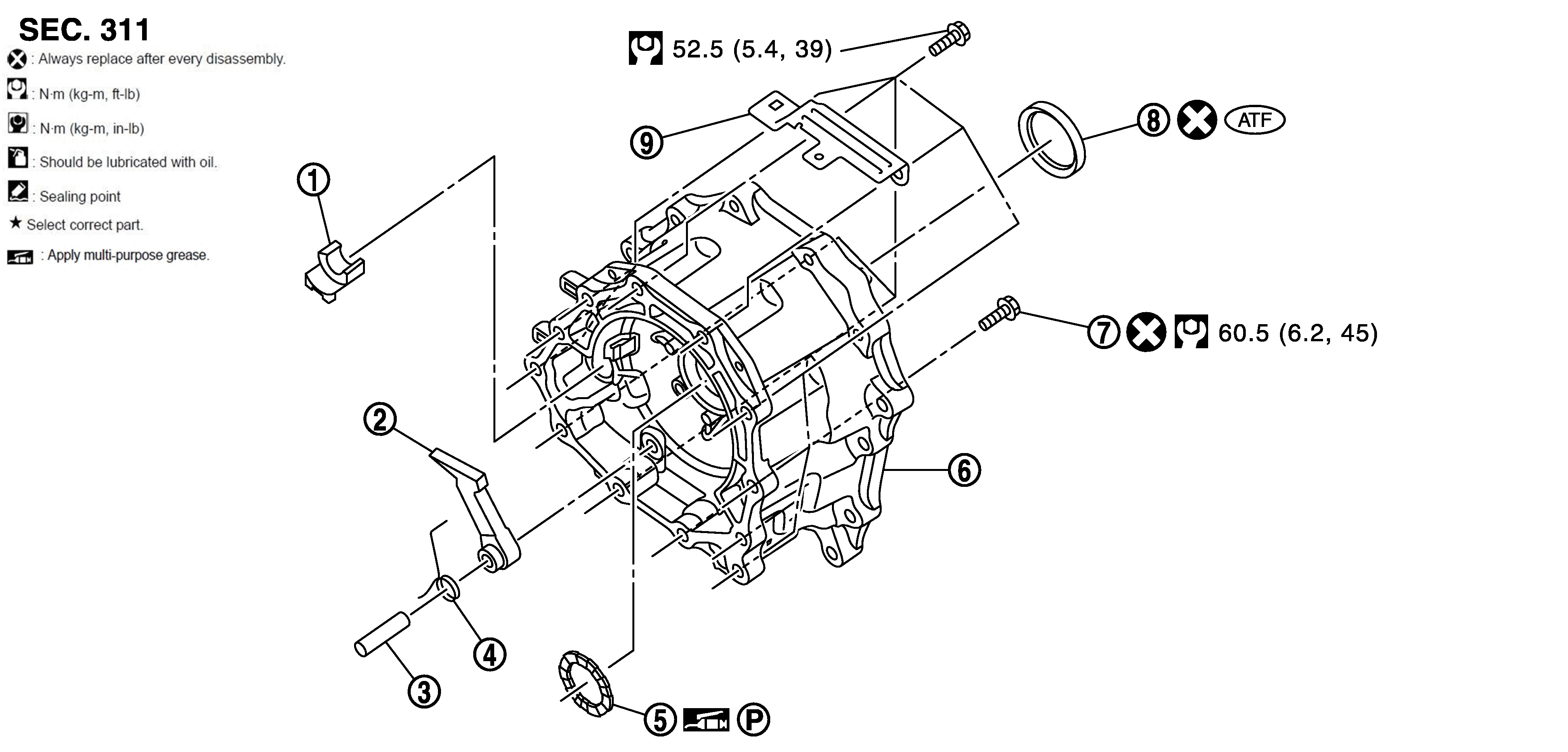
7. Rear oil seal 8. Adapter case 9. Bracket
Refer to COMPONENTS for symbols in the figure.