lemon-mirror:
Home >> Infiniti >> 2017 >> QX30 Base >> Repair and Diagnosis >> Body & Frame >> Windows >> Power Window Control System >> System Description >> System >> Circuit Diagram

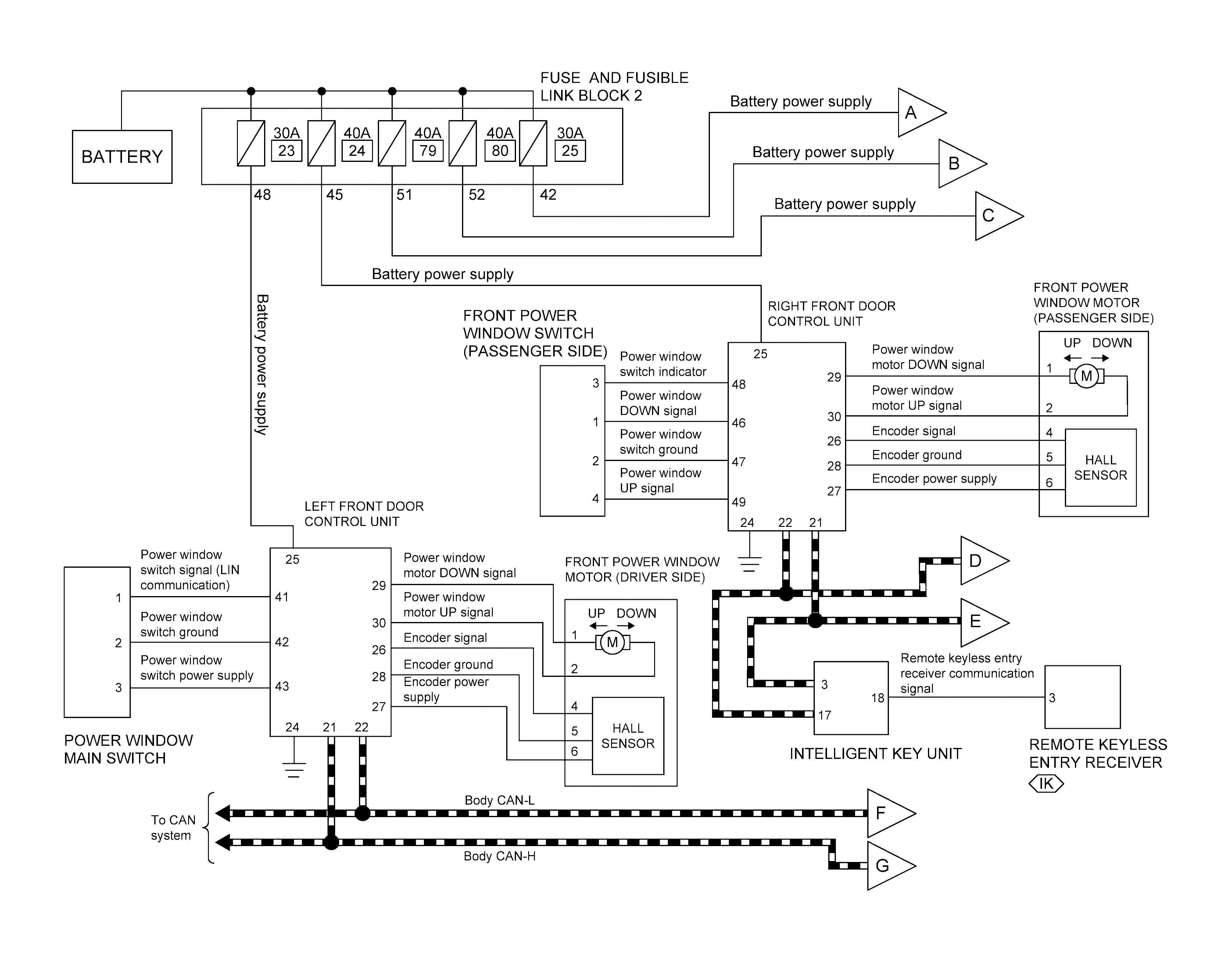
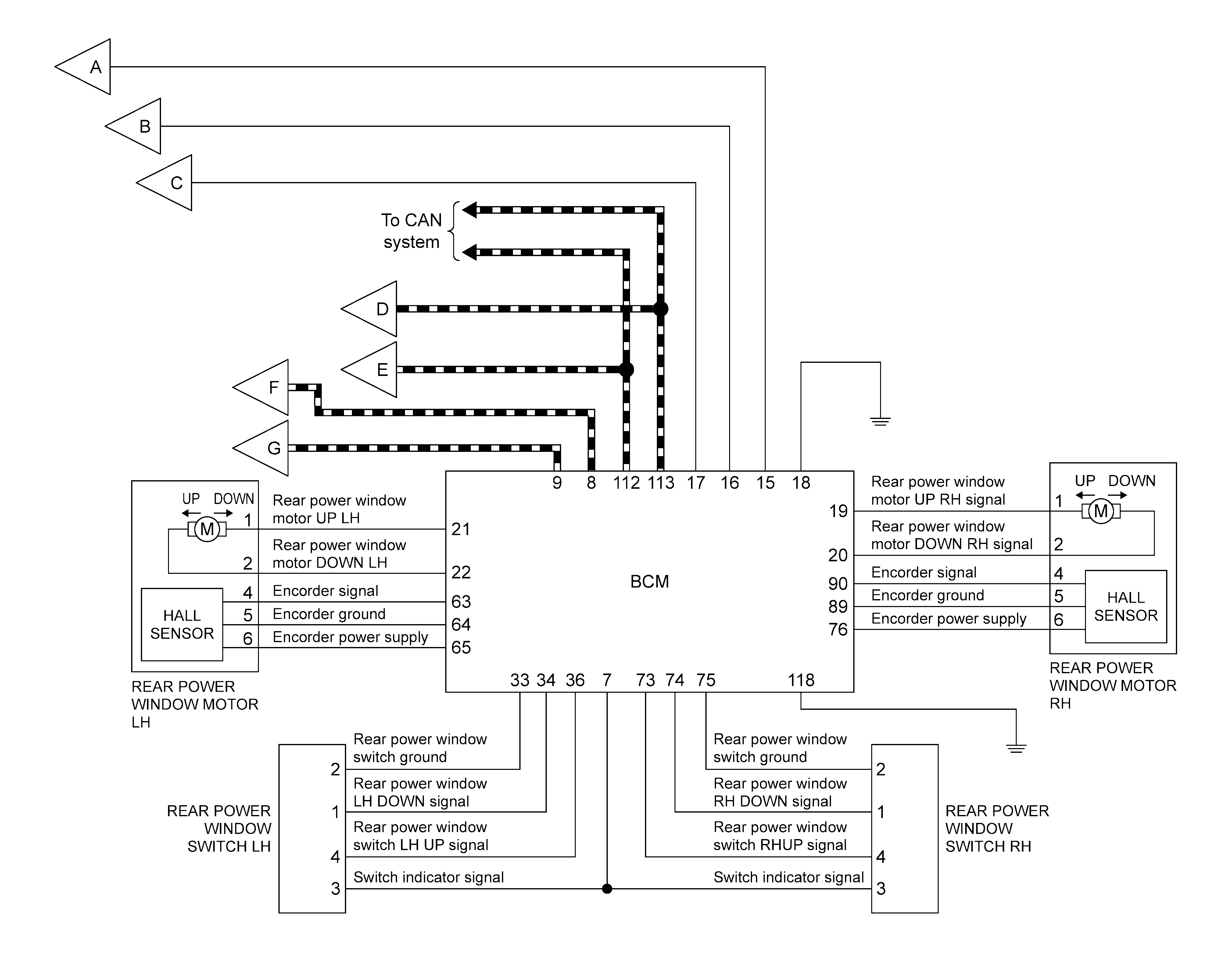
Circuit Diagram

GNSJMKIB6579GB-579Courtesy of NISSAN NORTH AMERICA, INC.
GNSJMKIB6449GB-449Courtesy of NISSAN NORTH AMERICA, INC.
GNSJMKIB6580GB-580Courtesy of NISSAN NORTH AMERICA, INC.