lemon-mirror:
Home >> Infiniti >> 2017 >> QX30 Base >> Repair and Diagnosis >> Body & Frame >> Windows >> Power Window Control System >> System Description >> System >> System Description >> System Diagram

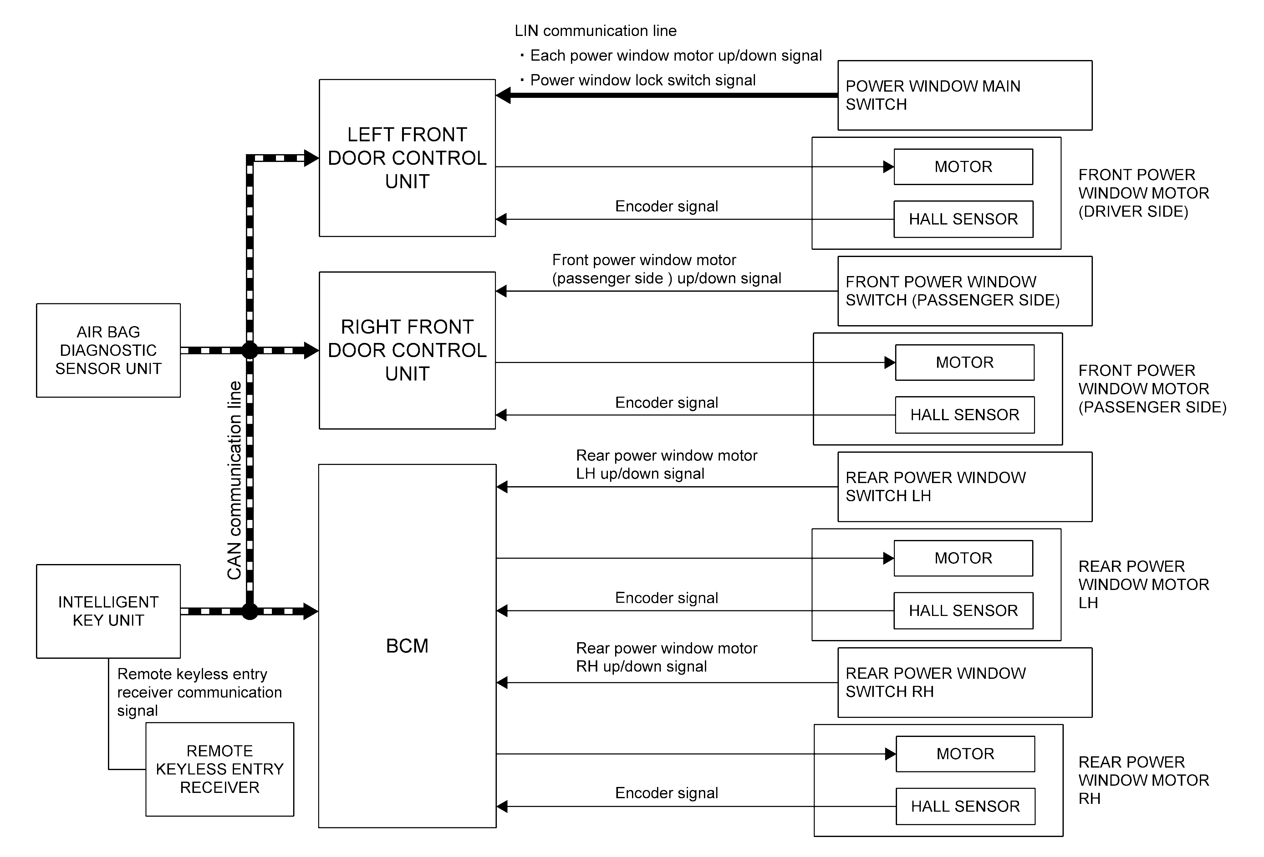
System Diagram

GNSJMKIB6622GB-622Courtesy of NISSAN NORTH AMERICA, INC.