lemon-mirror:
Home >> Infiniti >> 2017 >> QX30 Base >> Repair and Diagnosis >> Steering >> Steering Control Systems >> Steering Control System >> System Description >> System >> EPS System >> Circuit Diagram

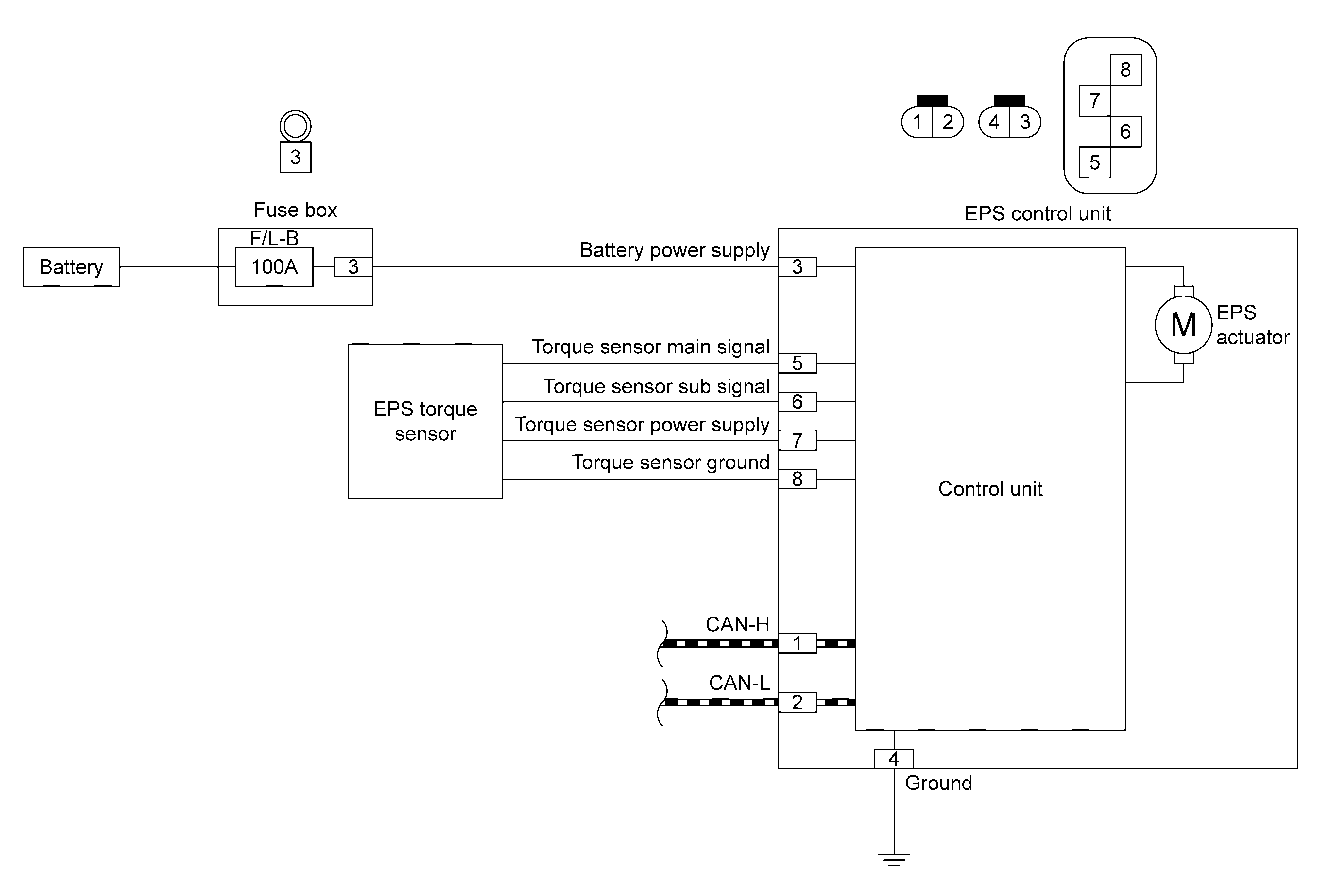
Circuit Diagram

GNSJSGIA2089GB-089Courtesy of NISSAN NORTH AMERICA, INC.