lemon-mirror:
Home >> Infiniti >> 2017 >> QX80 Base, AWD >> Repair and Diagnosis >> Body & Frame >> Door Locks >> Security Control System >> System Description >> System >> Vehicle Security System >> System Diagram

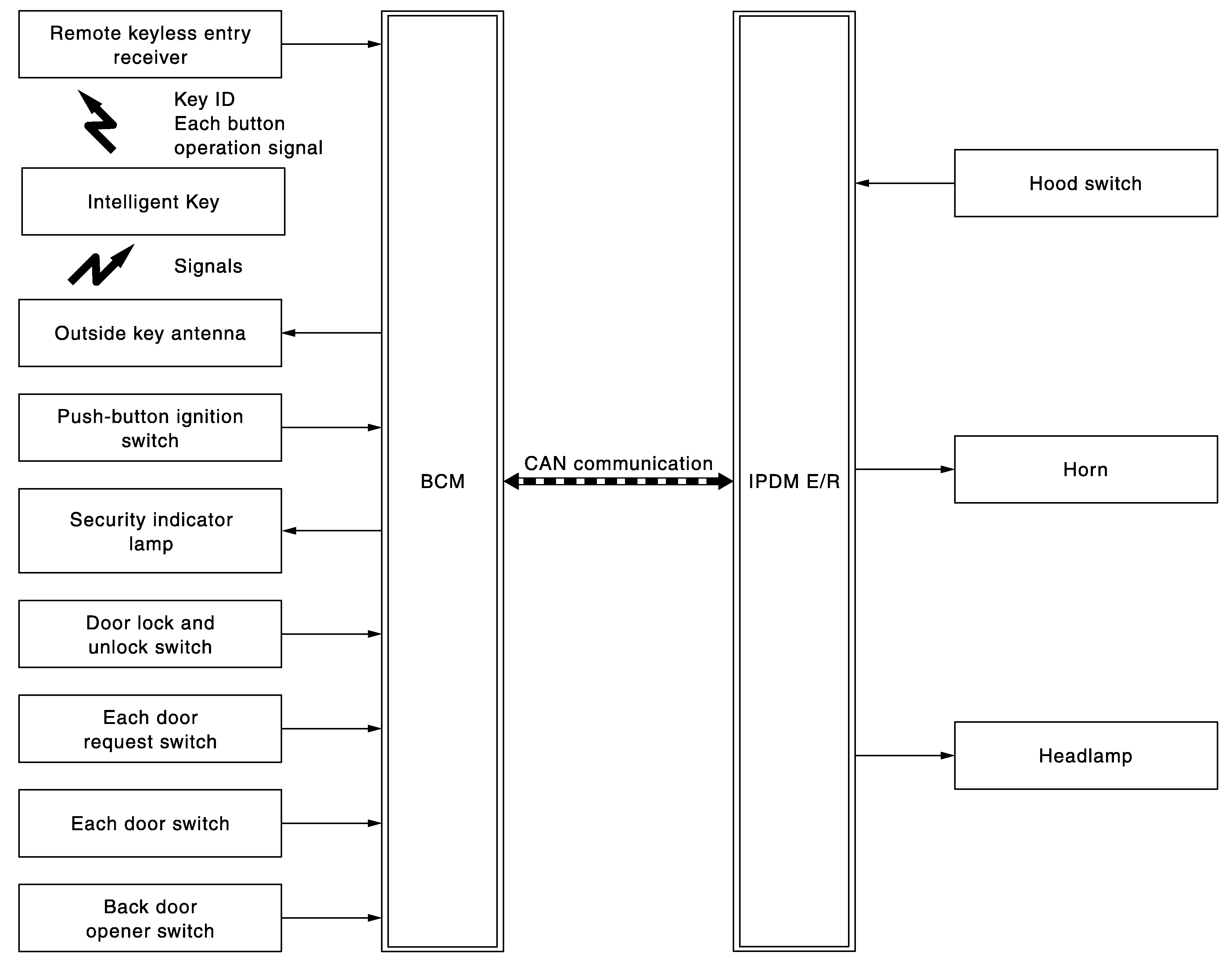
System Diagram

G07022310Courtesy of NISSAN NORTH AMERICA, INC.