lemon-mirror:
Home >> Infiniti >> 2017 >> QX80 Base, RWD >> Repair and Diagnosis >> Body & Frame >> Door Locks >> Security Control System >> System Description >> System >> Intelligent Key System/Engine Start Function >> System Diagram

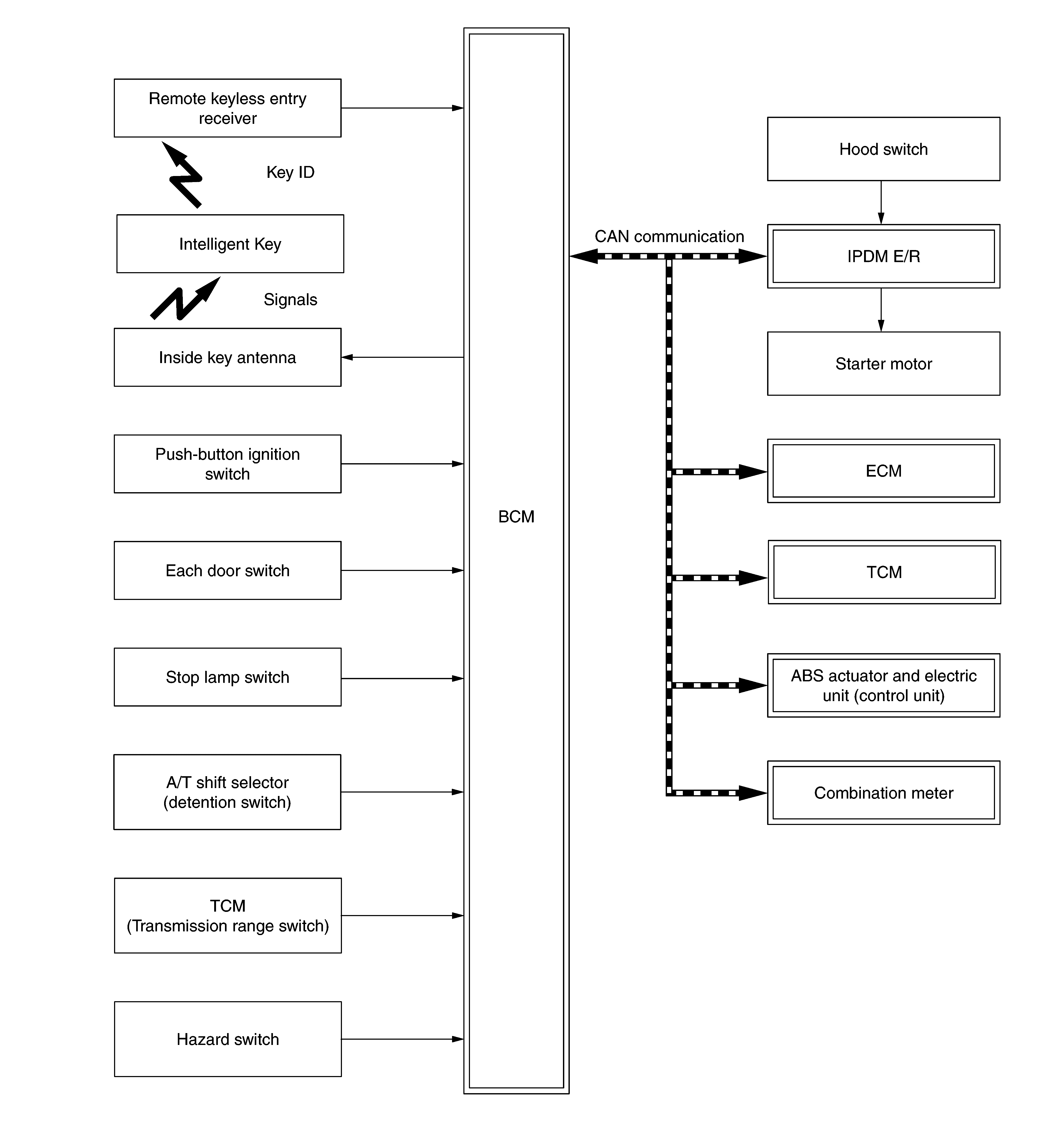
System Diagram

G08877923Courtesy of NISSAN NORTH AMERICA, INC.