lemon-mirror:
Home >> Infiniti >> 2018 >> Q60 Pure, RWD >> Repair and Diagnosis >> Body & Frame >> Windows >> Power Window Control System >> System Description >> System >> Circuit Diagram

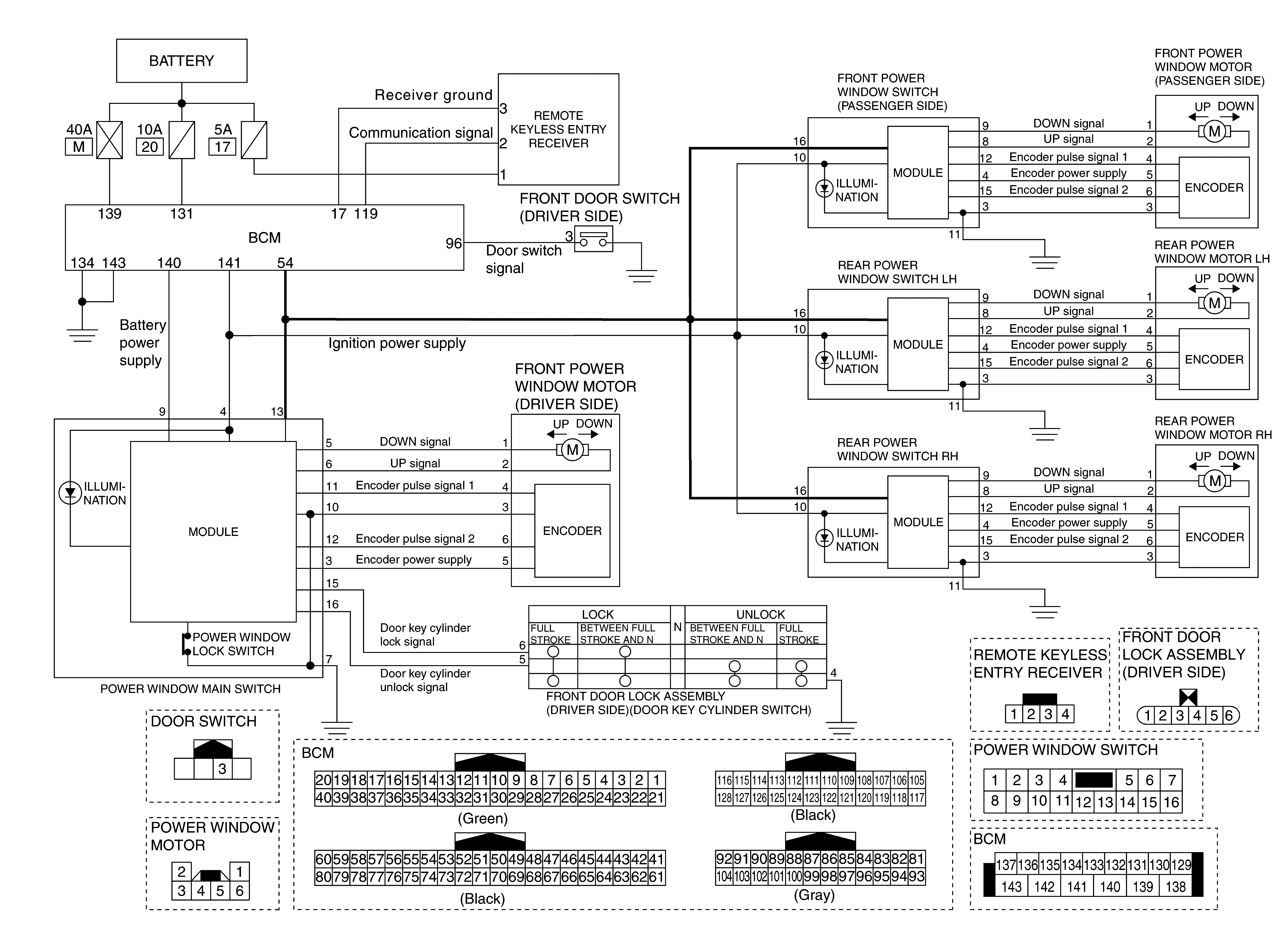
Circuit Diagram

G09159570Courtesy of NISSAN NORTH AMERICA, INC.