lemon-mirror:
Home >> Infiniti >> 2018 >> QX60 FWD >> Repair and Diagnosis >> Transmission >> Automatic Trans >> Automatic Transmission >> Removal And Installation >> TCM >> Exploded View

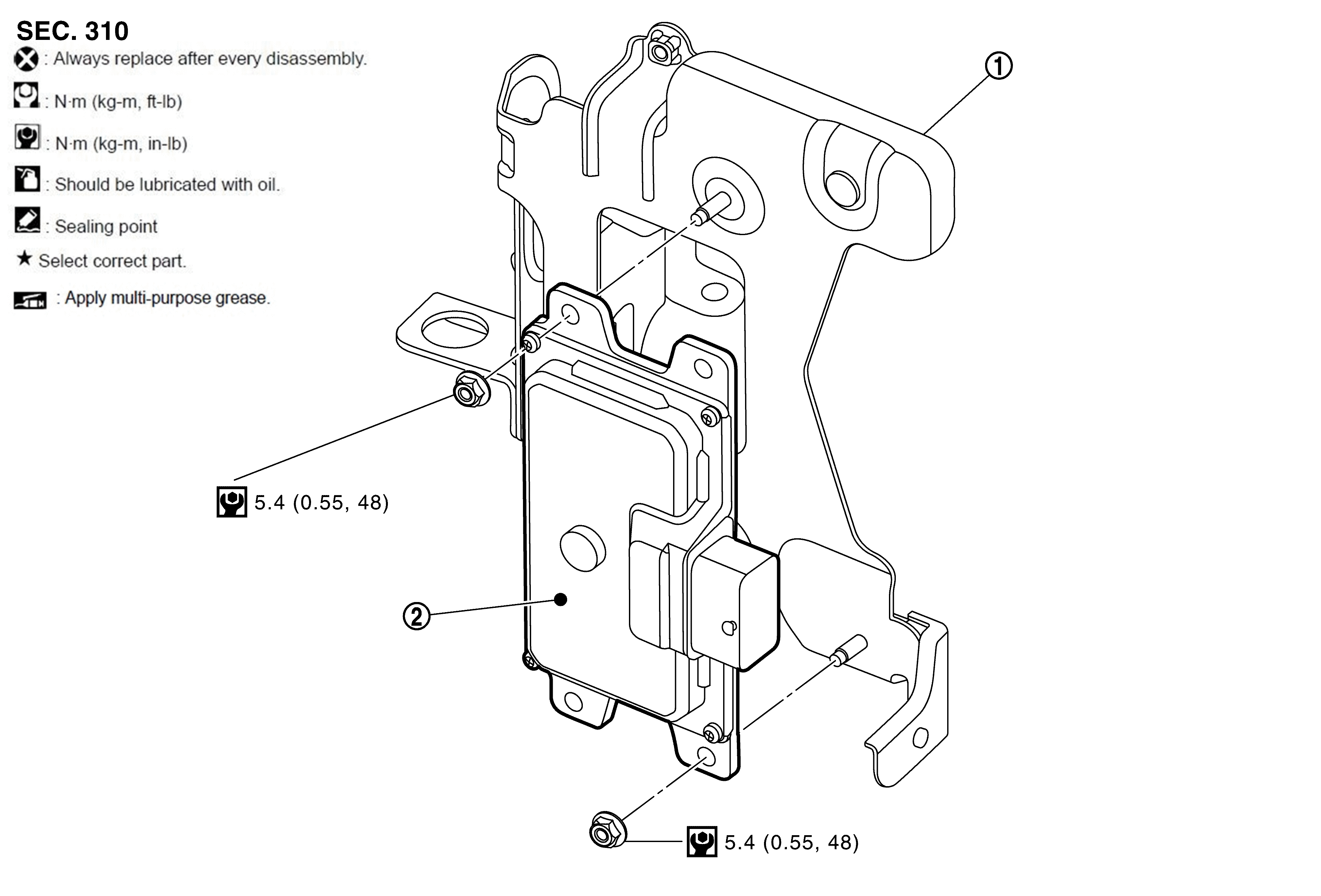
Exploded View

GNSJSDIA3618GB-618Courtesy of NISSAN NORTH AMERICA, INC.

1.

Bracket

2.

TCM