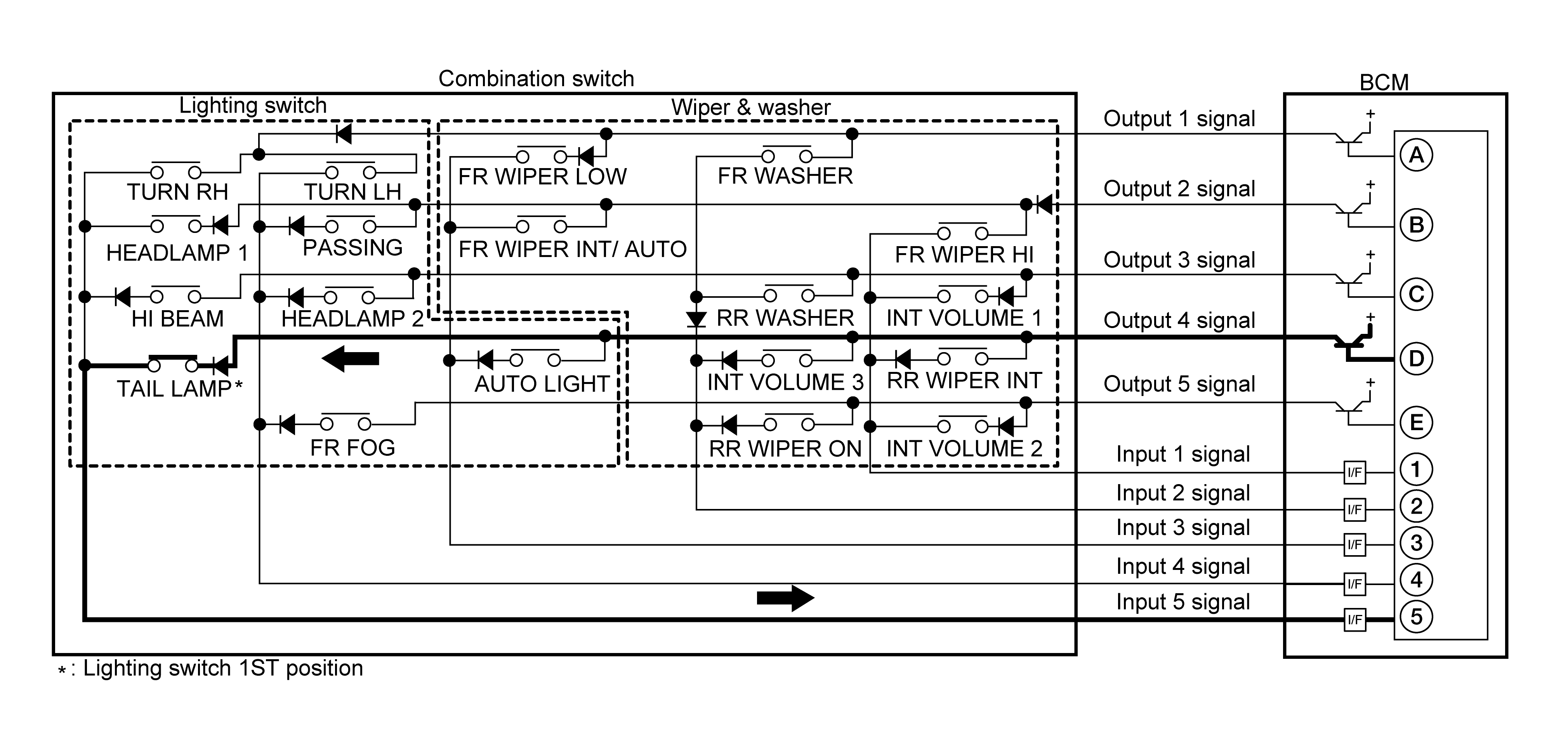
Combination Switch Reading Function
Description
- The BCM reads the status of the combination switch at 10 ms intervals normally.NOTE: The BCM reads the status of the combination switch at 60 ms intervals when the BCM is controlled at low power consumption control mode.
- The BCM operates as follows and judges the status of the combination switch.
- It operates the transistor on the OUTPUT side in the following order: OUTPUT 1 -> 2 -> 3 -> 4 -> 5, and outputs a voltage waveform.
- The voltage waveform of OUTPUT corresponding to the formed circuit is an input into the interface on the INPUT side if any (1 or more) switches are ON.
- It reads this change of voltage as the status signal of the combination switch.
Operation Example
In the following operation example, the combination of the status signals of the combination switch is replaced as follows: INPUT 1 - 5 to "1 - 5" and OUTPUT 1 - 5 to "A - E".
Example 1: When a switch (TAIL LAMP) is turned ON
- The circuit between OUTPUT 4 and INPUT 5 is formed when the TAIL LAMP switch is turned ON.
- The BCM detects the combination switch status signal "5D" when the signal of OUTPUT 4 is input to INPUT 5.
- The BCM judges that the TAIL LAMP switch is ON when the signal "5D" is detected.
Example 2: When some switches (TURN RH, TAIL LAMP) are turned ON
- The circuits between OUTPUT 1 and INPUT 5 and between OUTPUT 4 and INPUT 5 are formed when the TURN RH switch and TAIL LAMP switch are turned ON.
- The BCM detects the combination switch status signal "5AD" when the signals of OUTPUT 1 and OUTPUT 4 are an input to INPUT 5.
- The BCM judges that the TURN RH switch and TAIL LAMP switch are ON when the signal "5AD" is detected.