lemon-mirror:
Home >> Infiniti >> 2021 >> QX50 Autograph, FWD >> Repair and Diagnosis >> Engine Performance >> Fuel Delivery >> Fuel System >> Removal And Installation >> EVAP Control System Pressure Sensor >> Exploded View

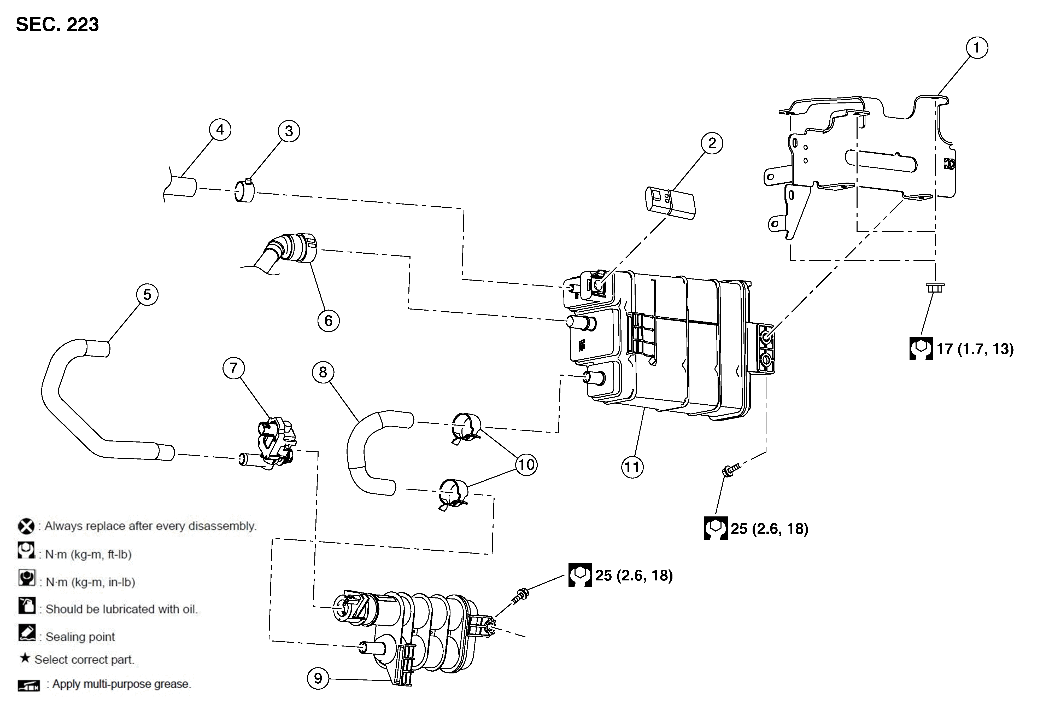
Exploded View

Fig 1: EVAP Control System Pressure Sensor Components With Torque Specifications
GNSAWBIA0488Z-488Courtesy of NISSAN NORTH AMERICA, INC.

1.

EVAP canister bracket

2.

EVAP control system pressure sensor (with O-ring)

3.

Clamp

4.

EVAP canister purge hose

5.

EVAP tube

6.

EVAP vent line

7.

EVAP canister vent control valve

8.

EVAP canister vent control valve hose

9.

Secondary EVAP canister

10.

Clamp

11.

EVAP canister