lemon-mirror:
Home >> Infiniti >> 2021 >> QX50 Essential, FWD >> Repair and Diagnosis >> Engine Performance >> Fuel Delivery >> Fuel System >> Unit Disassembly And Assembly >> Fuel Level Sensor Unit >> Disassembly and Assembly >> Disassembly

Disassembly and Assembly: Disassembly

NOTE: Before disassembly, note the proper placement of the wires to the correct terminals and correct wire routing to the terminals.
  1. Disconnect fuel level sensor unit and fuel tank temperature sensor harness connectors (A).
    GNSALBIA0198Z-198Courtesy of NISSAN NORTH AMERICA, INC.
  2. Remove wires from wire clips (B).
    CAUTION: Be careful not to damage wires when removing them from wire clips.
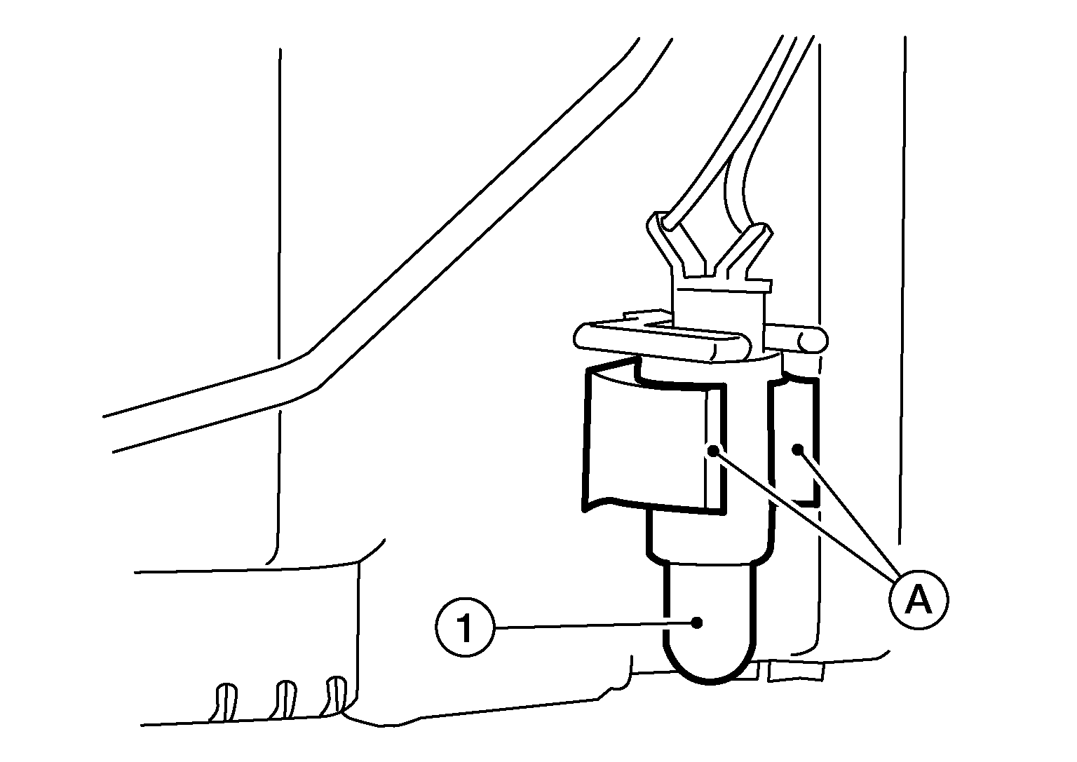
  3. Release clips (A), then remove fuel temperature sensor (1) from fuel filter and fuel pump assembly.
    GNSAWBIA0178Z-178Courtesy of NISSAN NORTH AMERICA, INC.
  4. Release tab (A) using suitable tool, then slide fuel level sensor unit (1) in direction shown, below.
    GNSALBIA0199Z-199Courtesy of NISSAN NORTH AMERICA, INC.
    NOTE: Fuel level sensor unit shown removed from fuel filter and fuel pump assembly for clarity.