Precaution for Brake System
WARNING:
Clean any dust from the front brake and rear brake using a vacuum dust collector. Do not blow by compressed air.
- Brake fluid use refer to Fluids and Lubricants .
- Do not reuse drained brake fluid.
- Do not spill or splash brake fluid on painted surfaces. Brake fluid may seriously damage paint. Wipe it off immediately and wash with water if it gets on a painted surface.
- Always clean with new brake fluid when cleaning the master cylinder, brake caliper and other components.
- Do not use mineral oils such as gasoline or light oil to clean. They may damage rubber parts and cause improper operation.
- Always loosen the brake tube flare nut with a flare nut wrench.
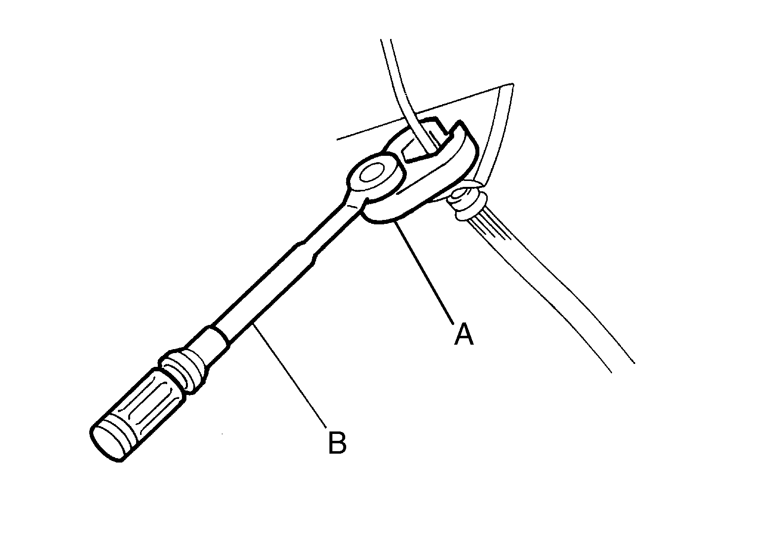
- Tighten the brake tube flare nut to the specified torque using a flare nut crowfoot (A) and a torque wrench (B).
- Always confirm the specified tightening torque when installing the brake pipes.
- Turn the ignition switch OFF and disconnect the ABS actuator and electric unit (control unit) connector or the battery negative terminal before performing the work.
- Always connect the battery terminal when moving the vehicle.
- Check that no brake fluid leakage is present after replacing the parts.
- Check for bends, cracks and damage to the brake pedal. Adjust brake pedal if it is outside the standard value.
- Burnish the brake contact surfaces after refinishing or replacing rotors, after replacing pads, or if a soft pedal occurs at very low mileage.
- Front brake: refer to Inspection and Adjustment .
- Rear brake: refer to Inspection and Adjustment .