lemon-mirror:
Home >> Infiniti >> 2022 >> QX60 Autograph, FWD >> Repair and Diagnosis >> Engine Performance >> Fuel Delivery >> Fuel System >> Disassembly And Assembly >> Fuel Level Sensor Unit >> Disassembly and Assembly >> Disassembly

Disassembly and Assembly: Disassembly

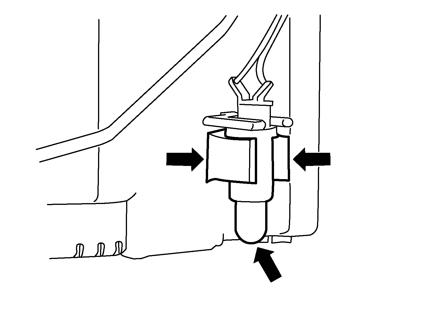
NOTE: Before disassembly, note the proper placement of the wires to the correct terminals and correct wire routing to the terminals.
  1. Disconnect the fuel level sensor unit harness connector (A) and the fuel tank temperature sensor harness connector (C). Press the tabs on the terminals to release the locking tabs.
    GNSDB17844Courtesy of NISSAN NORTH AMERICA, INC.

    (B)

    : Fuel pump harness connector

  2. Release the two clips and remove the fuel tank temperature sensor from the pump assembly.
    GNSDB17274Courtesy of NISSAN NORTH AMERICA, INC.
  3. Release the tab and slide the fuel level sensor unit and float arm assembly up to remove.