lemon-mirror:
Home >> Infiniti >> 2023 >> QX50 Autograph >> Repair and Diagnosis >> Body & Frame >> Windows >> Power Window Control System >> System Description >> System >> System Diagram

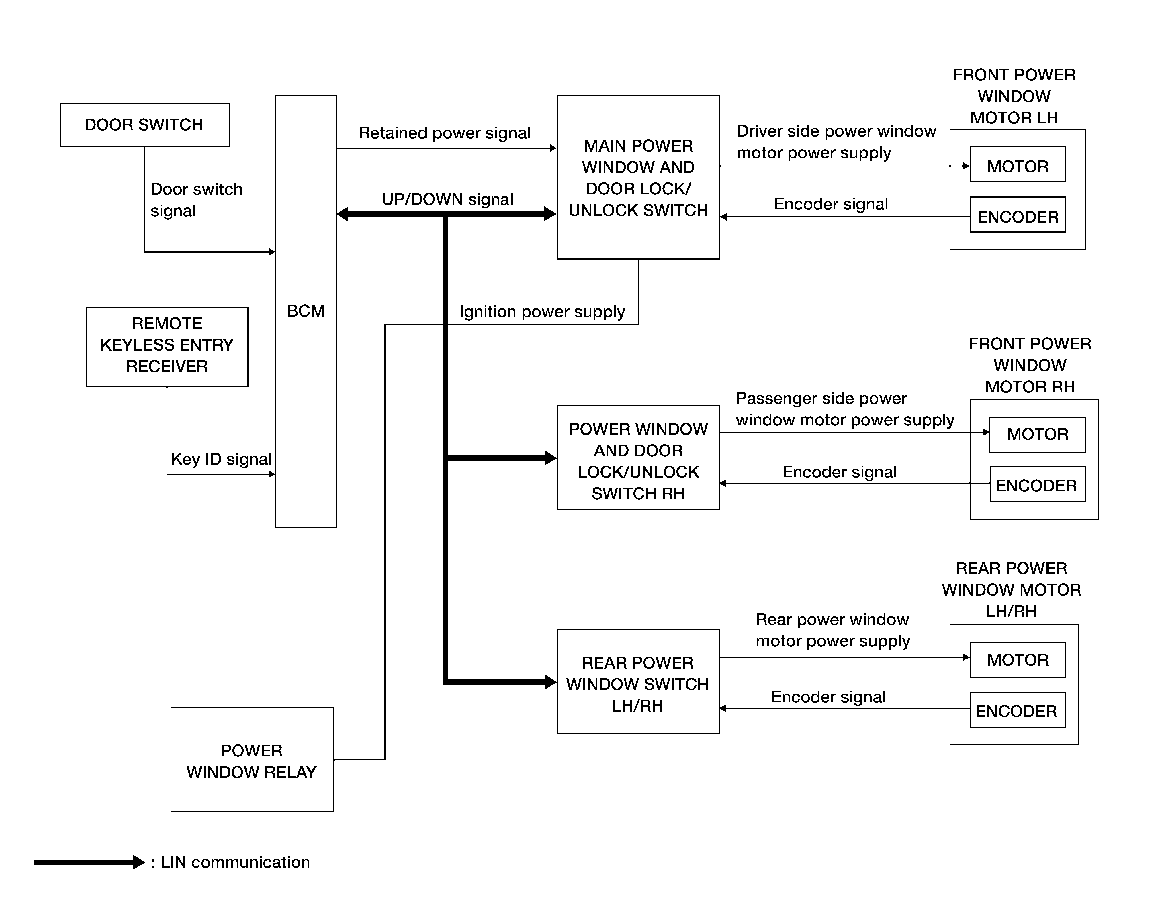
System Diagram

GNSDB58379Courtesy of NISSAN