lemon-mirror:
Home >> Infiniti >> 2023 >> QX50 Autograph >> Repair and Diagnosis >> Engine Performance >> Engine Control Systems >> Engine Control System (1 Of 2) >> Basic Inspection >> Fuel Pressure Check >> Work Procedure

Work Procedure

FUEL PRESSURE RELEASE 

  1. FUEL PRESSURE RELEASE 

    SYMBOL With CONSULT

    1. Turn ignition switch ON.
    2. Perform "ENGINE" in "WORK SUPPORT" mode with CONSULT.
    3. Start the engine.
    4. After engine stalls, crank it two or three times to release all fuel pressure.
    5. Turn ignition switch OFF.

    SYMBOL Without CONSULT

    1. Remove fuel pump fuse located in IPDM E/R.
    2. Start the engine.
    3. After engine stalls, crank it two or three times to release all fuel pressure.
    4. Turn ignition switch OFF.
    5. Reinstall fuel pump fuse after servicing fuel system.

    >>

    INSPECTION END

FUEL PRESSURE CHECK 

  1. FUEL PRESSURE CHECK 
    1. Release fuel pressure.
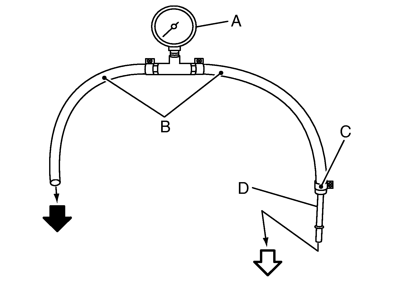
    2. Connect fuel hose for fuel pressure check (B) to fuel pressure gauge (A). Then, connect fuel hose for fuel pressure check to fuel tube adapter (SST: KV10120000) (D) with hose clamp (C).
      GNSDB32900Courtesy of NISSAN
      SYMBOL : To high pressure fuel pump
      SYMBOL : To quick connector
      CAUTION:
      • Use suitable fuel hose for fuel pressure check (genuine NISSAN fuel hose)
      • To avoid unnecessary force or tension to hose, use moderately long fuel hose for fuel pressure check.
      • Wipe off oil or dirt from hose insertion part using cloth moistened with gasoline.
      • Apply proper amount of gasoline on the hose insertion part.
      • Use NISSAN genuine hose clamp (part number: 16439 N4710 or 16439 N4710)
      • Install hose clamp to the hose end position within 1- 2 mm (0.04 - 0.08 in) and tighten hose clamp to the specified torque.
      Tightening torque: 1 - 1.5 N.m (0.1 - 0.15 kg-m)
    3. Disconnect quick connector and disconnect fuel feed hose from high pressure fuel pump. Refer to Exploded View .
      CAUTION:
      • Make sure to release fuel pressure before removal of fuel line.
      • Do the following procedure in the place where ventilation is good without the combustible.
      NOTE: SYMBOL
      • Prepare pans or saucers under the disconnected fuel line because the fuel may spill out. The fuel pressure cannot be completely released because this models do not have fuel return system.
      • Use fuel tube adapter (SST: KV10120000) and fuel pressure gauge (commercial service tool) to check fuel pressure.
    4. Install fuel hose for fuel pressure check to high pressure fuel pump with hose clamp.
      GNSDB32927Courtesy of NISSAN
      CAUTION:
      • Wipe off oil or dirt from hose insertion part using cloth moistened with gasoline.
      • Apply proper amount of gasoline on the hose insertion part.
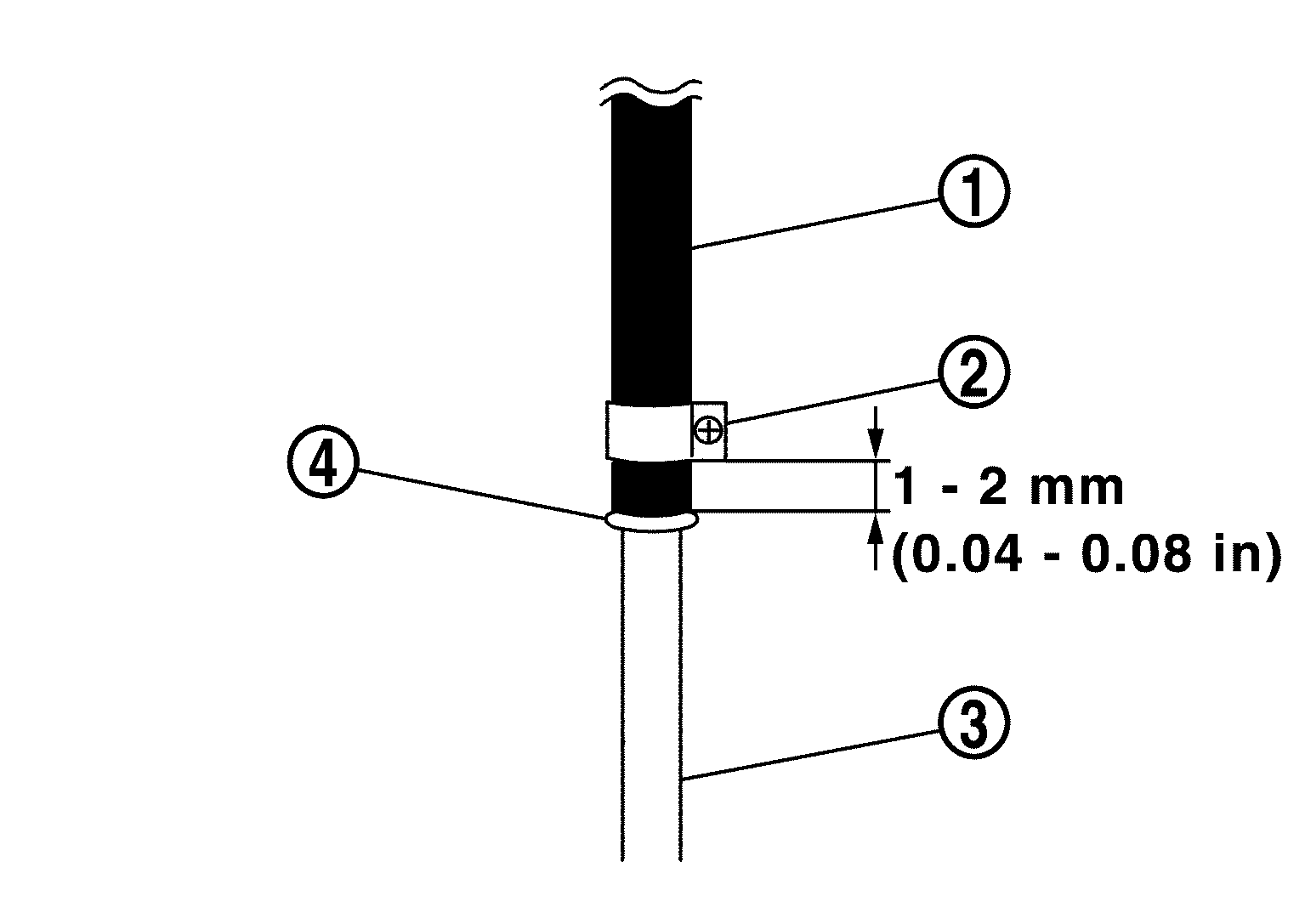
      • Insert fuel hose for fuel pressure check SYMBOL until it touches the spool SYMBOL on high pressure fuel pump SYMBOL .
      • Use NISSAN genuine hose clamp SYMBOL (part number: 16439 N4710 or 16439 40U00).
      • Install hose clamp to the hose end position within 1- 2 mm (0.04 - 0.08 in) and tighten hose clamp to the specified torque.
        Tightening torque: 1 - 1.5 N.m (0.1 - 0.15 kg-m)
      • After connecting fuel hose for fuel pressure check, pull the hose with a force of approximately 100 N (approximately 10 kg, 22 lb) to confirm fuel sub tube does not come off.
    5. Install fuel pressure check adapter to quick connector of fuel feed hose.
      GNSDB48450Courtesy of NISSAN
    6. Turn ignition switch ON and check for fuel leakage.
    7. Start engine and check for fuel leakage.
    8. Stop the engine
    9. Turn ignition switch ON and read the indication of fuel pressure gauge (A).
      At ignition switch ON : Approximately 450 kPa (4.5 bar, 4.59 kg/cm2, 65.25 psi)

    Is the inspection result normal?

    YES>>

    INSPECTION END

    NO>>

    GO TO 2.

  2. CHECK FUEL HOSE 

    Check fuel hose for clogging.

    Is the inspection result normal?

    YES>>

    Repair or replace the malfunctioning part.

    NO>>

    Replace fuel filter and fuel pump assembly. Refer to Removal and Installation .