lemon-mirror:
Home >> Infiniti >> 2023 >> QX50 Autograph >> Repair and Diagnosis >> Engine Performance >> Engine Control Systems >> Engine Control System (2 Of 2) >> Removal And Installation >> Fuel Pump Control Module (FPCM) >> Exploded View

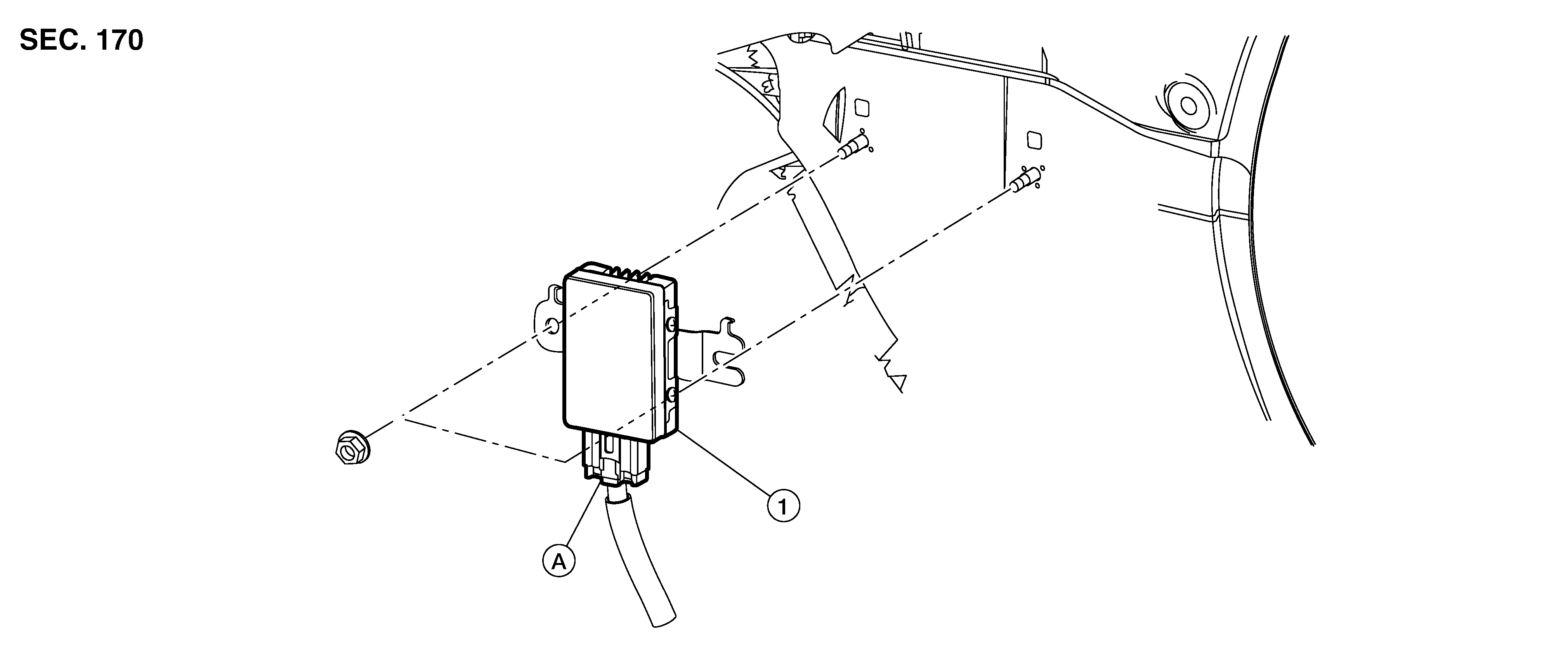
Exploded View

GNSDB59230Courtesy of NISSAN
1. Fuel pump control module A. Fuel pump control module harness