lemon-mirror:
Home >> Infiniti >> 2023 >> QX55 Essential >> Repair and Diagnosis >> Engine Performance >> Engine Control Systems >> Engine Control System (1 Of 3) >> System Description >> Component Parts >> Battery Current Sensor (With Battery Temperature Sensor) >> Component Location

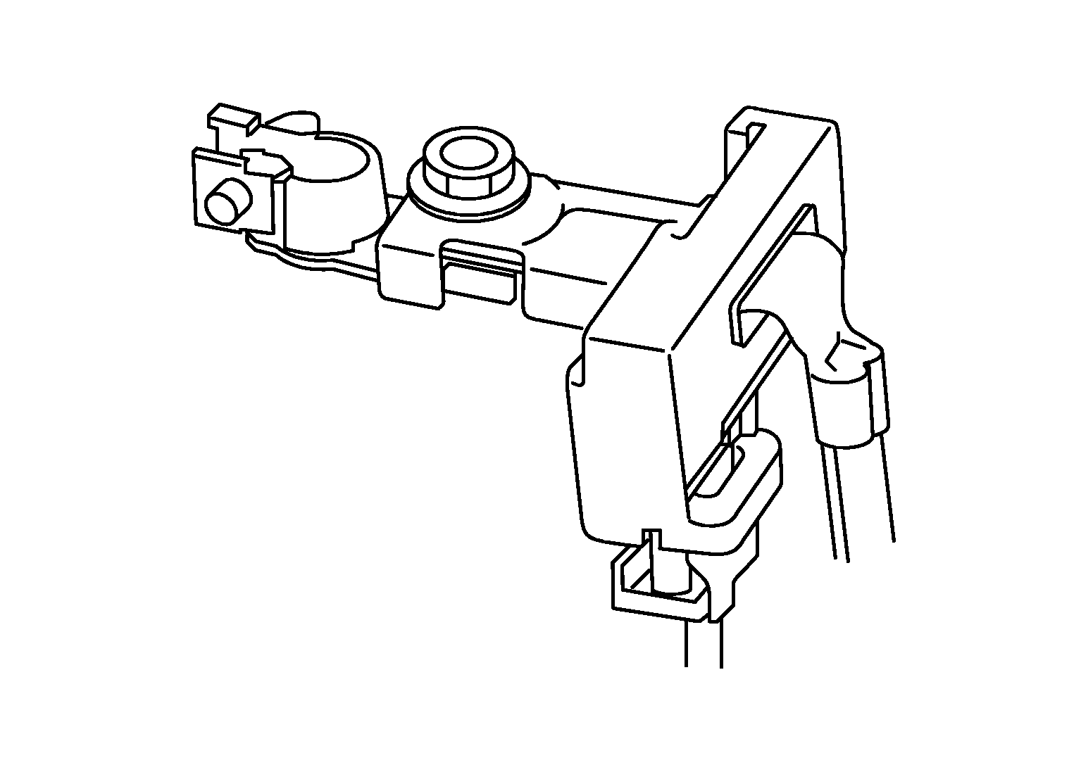
Component Location

The battery current sensor is installed on the battery negative cable.

GNSDB5631Courtesy of NISSAN NORTH AMERICA, INC.