lemon-mirror:
Home >> Infiniti >> 2024 >> QX50 Autograph >> Repair and Diagnosis >> Body & Frame >> Windows >> Power Window Control System >> System Description >> System >> System Diagram

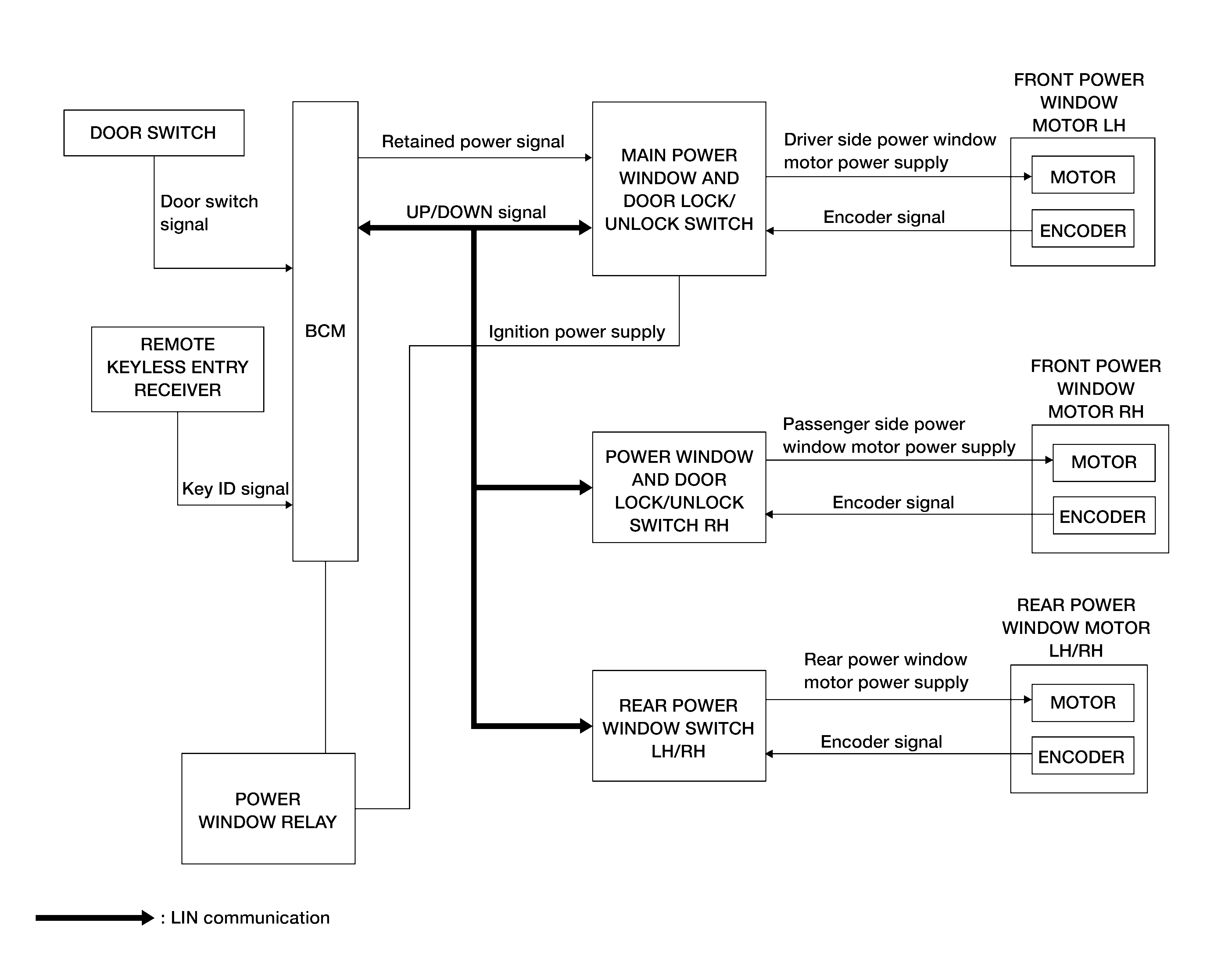
System Diagram

GNSDB138544Courtesy of NISSAN NORTH AMERICA, INC.