lemon-mirror:
Home >> Infiniti >> 2024 >> QX55 Essential >> Repair and Diagnosis >> Engine Performance >> Engine Control Systems >> Engine Control System (1 Of 2) >> System Description >> Component Parts >> Battery Current Sensor (With Battery Temperature Sensor)

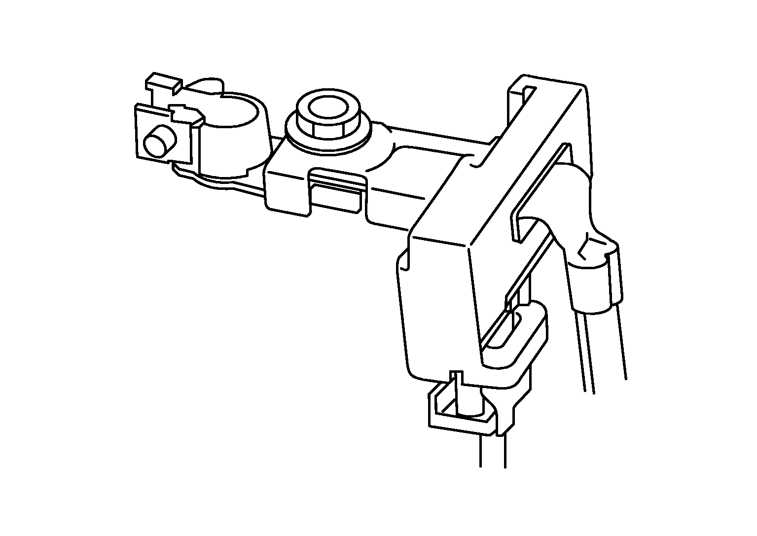
Battery Current Sensor (With Battery Temperature Sensor)

FUNCTIONS WITHIN THE SYSTEM 

The ECM judges the battery load state based on the battery current sensor and battery temperature sensor, and controls the amount of alternator power generation. As a result, it is possible to reduce the engine load.

INDIVIDUAL FUNCTION WITHIN THE SYSTEM 

Battery Current Sensor 

The battery current sensor detects the battery charge/discharge current and transmits a signal to the ECM.

Battery Temperature Sensor 

The battery temperature sensor is integrated in battery current sensor. The sensor measures temperature around the battery.

INDIVIDUAL OPERATION 

Battery Current Sensor 

CAUTION:

In this vehicle, the battery current sensor that is installed on the negative cable of the battery is used to measure the battery input/output current and perform various controls. If electrical equipment, ground wire, or other items are directly connected to the battery terminals, this may result in control errors because battery current input/output other than that measured by the battery current sensor is taking place. In the worst case, issues such as a dead battery may occur. Never directly connect electrical equipment, ground wire, or other items to the battery terminals.

Battery Temperature Sensor 

The battery temperature sensor uses a thermistor which is sensitive to the change in temperature. The electrical resistance of the thermistor decreases as temperature increases.

GNSDB110347Courtesy of NISSAN NORTH AMERICA, INC.
Reference data

Temperature [°C (°F)] Voltage* (V) Resistance (kΩ)
25 (77) 3.333 1.9 - 2.1
90 (194) 0.969 0.222 - 0.258

*: These data are reference values and are measured between ECM terminals.

COMPONENT LOCATION 

The battery current sensor is installed on the battery negative cable.

GNSDB127615Courtesy of NISSAN NORTH AMERICA, INC.