lemon-mirror:
Home >> Infiniti >> 2024 >> QX60 Autograph, FWD >> Repair and Diagnosis >> Engine Performance >> Fuel Delivery >> Fuel System >> Disassembly And Assembly >> Fuel Level Sensor Unit >> Disassembly and Assembly

Disassembly and Assembly

GNSDB136573Courtesy of NISSAN NORTH AMERICA, INC.
1. Fuel level sensor unit 2. Fuel tank temperature sensor A. Fuel level sensor unit harness connector
B. Fuel pump harness connector C. Fuel tank temperature sensor harness connector D. Float arm assembly

Disassembly 

NOTE: SYMBOL Before disassembly, note the proper placement of the wires to the correct terminals and correct wire routing to the terminals.
  1. Disconnect the fuel level sensor unit harness connector (A) and the fuel tank temperature sensor harness connector (C). Press the tabs on the terminals to release the locking tabs.
    GNSDB137750Courtesy of NISSAN NORTH AMERICA, INC.
    (B) : Fuel pump harness connector
  2. Release the two clips and remove the fuel tank temperature sensor from the pump assembly.
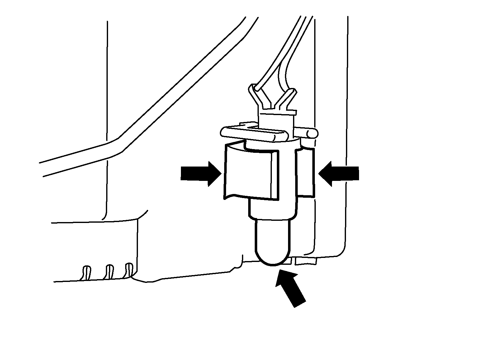
    GNSDB137056Courtesy of NISSAN NORTH AMERICA, INC.
  3. Release the tab and slide the fuel level sensor unit and float arm assembly up to remove.

Assembly 

Assembly is in the reverse order of disassembly.

NOTE: SYMBOL
  • Ensure proper placement of the wires to the correct terminals and correct wire routing to the terminals.
  • After connecting terminals, ensure they are securely locked and can not be pulled out.
  • When installing the fuel level sensor unit, push down until the tab is locked into place.