lemon-mirror:
Home >> Infiniti >> 2024 >> QX80 Premium Select, AWD >> Repair and Diagnosis >> Electrical >> Body Electrical >> Power Control System >> Description >> System >> Relay Control System >> System Description

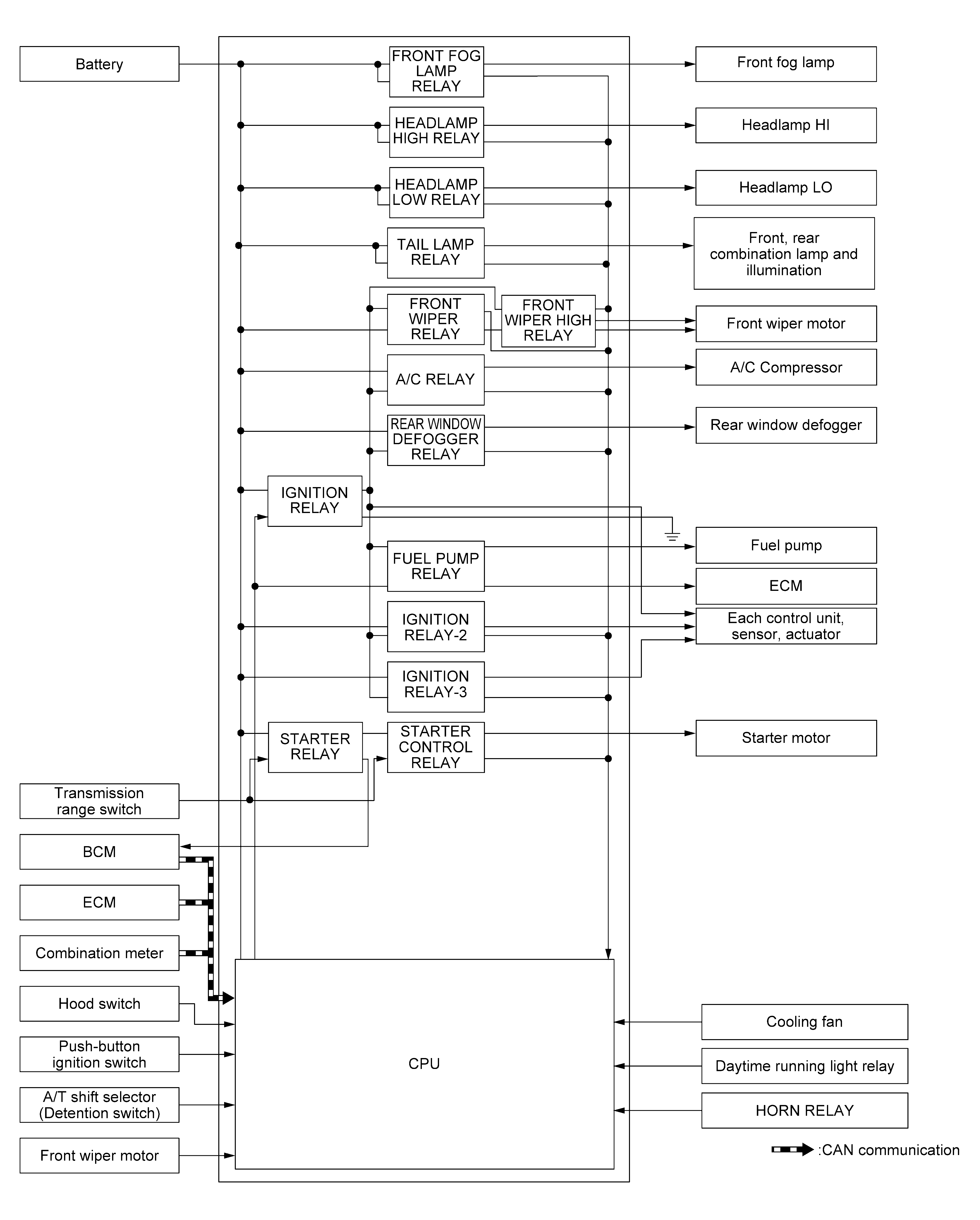
System Description

SYSTEM DIAGRAM 

GNSDB146822Courtesy of NISSAN NORTH AMERICA, INC.

IPDM E/R activates the internal control circuit to perform the relay ON-OFF control according to the input signals from various sensors and the request signals received from control units via CAN communication.

CAUTION:

IPDM E/R integrated relays cannot be removed.

Control relay Input/output Transmit unit Control part Reference
  • Headlamp low relay
  • Headlamp high relay
  • Low beam request signal
  • High beam request signal
BCM (CAN)
  • Headlamp (LO)
  • Headlamp (HI)
Refer to System Description .
Front fog lamp relay Front fog light request signal BCM (CAN) Front fog lamp Refer to System Description .
Tail lamp relay Position light request signal BCM (CAN)
  • Parking lamp
  • License plate lamp
  • Tail lamp
  • Side marker lamp
Refer to System Description .
Illuminations Refer to System Description .
  • Front wiper relay
  • Front wiper high relay
Front wiper request signal BCM (CAN) Front wiper motor Refer to System Description .
Front wiper stop position signal Front wiper motor
Rear window defogger relay Rear window defogger control signal BCM (CAN) Rear window defogger Refer to System Description .
  • Horn relay
  • Theft warning horn relay
  • Theft warning horn request signal
  • Horn reminder signal
BCM (CAN) Horn (high)
Horn (low)
Refer to System Description .
  • Starter relay
  • Starter control relay
Starter control relay signal BCM (CAN) Starter motor Refer to Component Description , Component Description .
Starter relay control signal TCM
A/C relay A/C compressor request signal ECM (CAN) A/C compressor
(Magnet clutch)
Refer to System Description .
Headlamp washer relay Headlamp washer request signal BCM (CAN) Headlamp washer pump Refer to System Description .
  • Ignition relay
  • Ignition relay-2
  • Ignition relay-3
Ignition switch ON signal BCM (CAN) Each control unit, sensor, actuator and relay (ignition power supply) Refer to DTC Description .
Vehicle speed signal Combination meter (CAN)
Push-button ignition switch signal Push-button ignition switch
NOTE: BCM controls the starter relay.