lemon-mirror:
Home >> Isuzu >> 1985 >> I-Mark 2D Hatchback, Automatic >> Repair and Diagnosis >> Engine Performance >> System >> Feedback Carburetor System >> Description

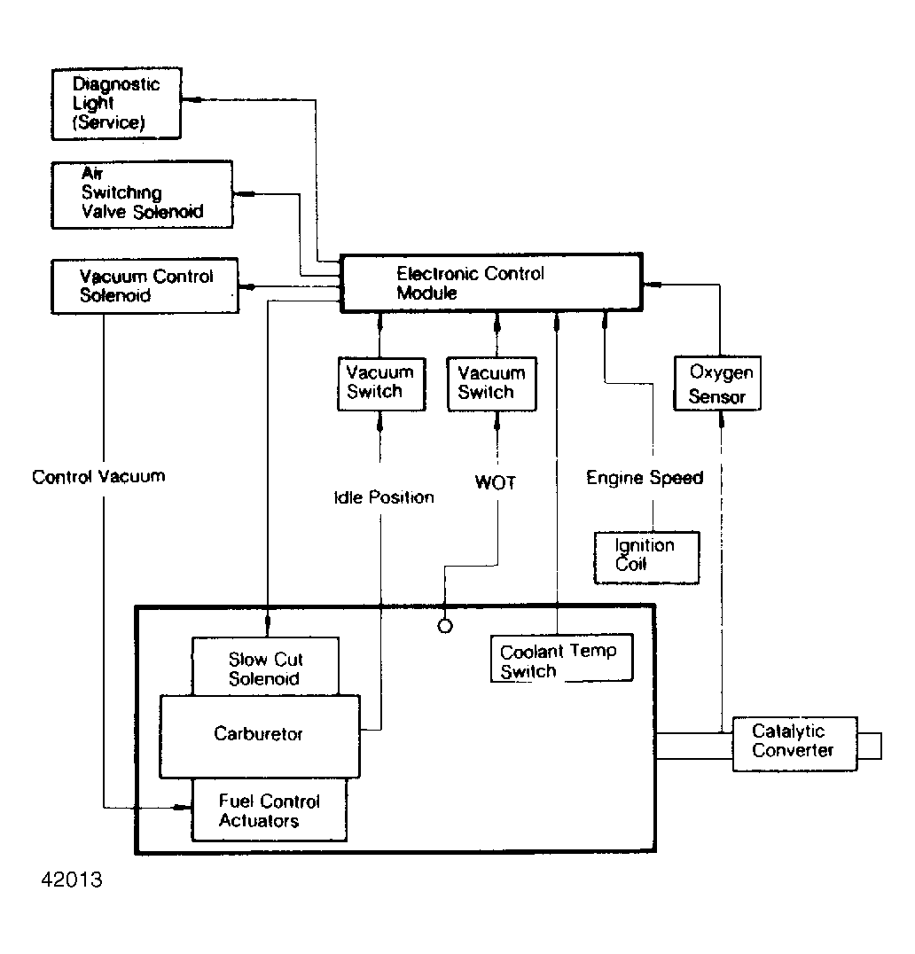
Feedback Carburetor System: Description

The Closed Loop Emission control system is an electronically controlled system. It monitors various engine/vehicle functions to control engine operation and lower emissions while maintaining good fuel economy and driveability.

The Electronic Control Module (ECM) is the brain of the system. The ECM controls the engine-related systems to constantly adjust engine operation to maintain good vehicle performance under all normal driving conditions.

The system consists of the ECM, an oxygen sensor, a coolant sensor, idle and WOT switches, a barometric switch, a feedback carburetor and a catalytic converter.

Fig 1: Closed Loop Emission Control System
G42013