lemon-mirror:
Home >> Isuzu >> 1987 >> Trooper II LS, 2.2 U >> Repair and Diagnosis >> Engine Performance >> System >> Feedback Carburetor System >> Operation >> Fuel Controls

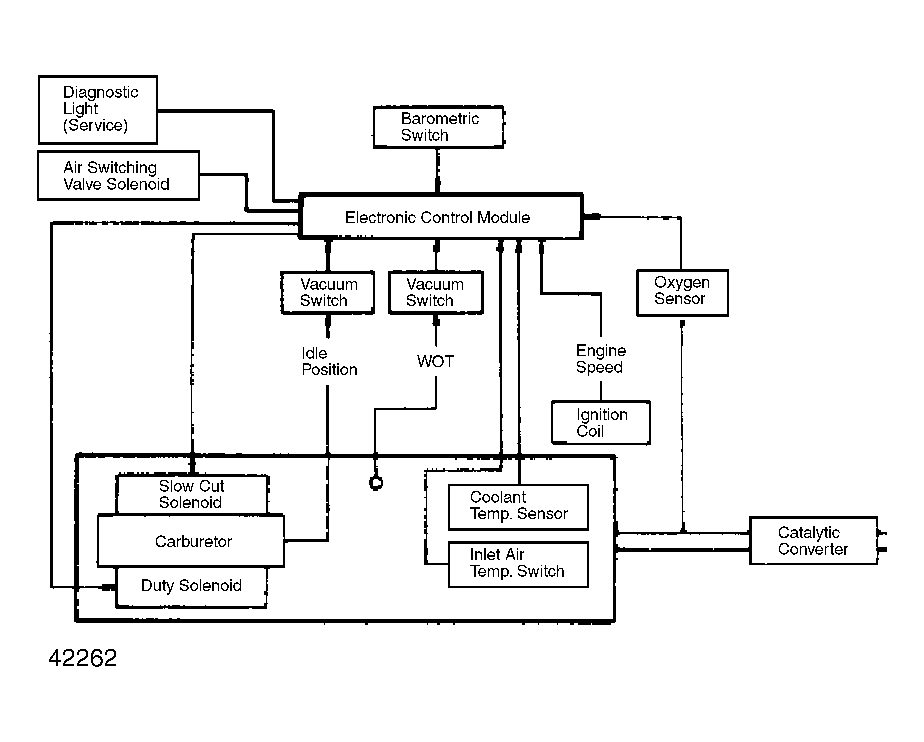
Fuel Controls

The engine is equipped with a feedback carburetor. All models use a Mixture Control (M/C) solenoid to adjust carburetor air/fuel ratio. The Electronic Control Module (ECM) responds to inputs from the system sensors and constantly adjusts the air/fuel ratio to maintain engine performance.

Fig 1: Closed Loop Emission Control System
G42262

When ECM responds to signals received from oxygen sensor, the system is in Closed Loop operation. Under certain operating conditions, the ECM may ignore inputs from various data sensors and use a pre-programmed setting to operate the engine under that particular condition.

During cold engine starts, the vacuum control or M/C solenoid is turned off by the ECM to provide a rich mixture. Operating conditions which cause the ECM to ignore oxygen sensor signals cause the system to operate in the Open Loop mode.