lemon-mirror:
Home >> Isuzu >> 1988 >> I-Mark LS >> Repair and Diagnosis >> Electrical >> Component Locations >> Electrical Component Locator >> Circuit Protection Devices

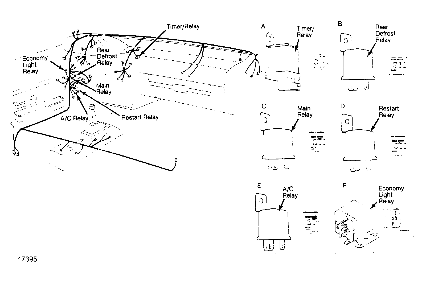
Circuit Protection Devices

CIRCUIT PROTECTION DEVICES LOCATION

Component Location
Fuse Block On left side of dash, below instrument cluster. See Figure .
Fusible Links On left fender panel, next to battery. See Figure .
Slow Blow Fuse Box On left strut tower. See Figure .