lemon-mirror:
Home >> Isuzu >> 1988 >> Trooper II Base, Automatic >> Repair and Diagnosis >> Engine Performance >> System >> I-TEC Control System >> Operation >> Turbocharger Control Unit (TCU)

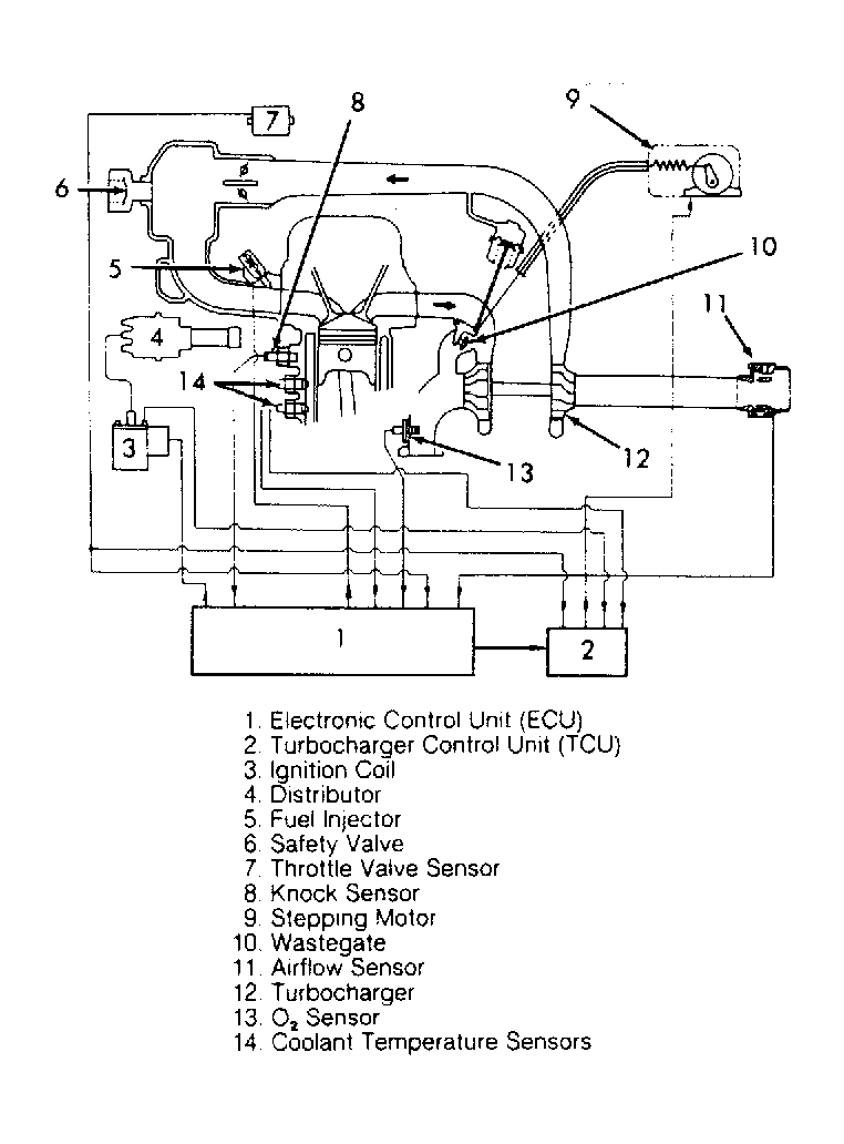
Turbocharger Control Unit (TCU)

The Impulse TCU is located next to the ECU and shares some of the ECU input information. The TCU controls an electronic stepping motor that adjusts the turbocharger boost pressure via a cable attached to the wastegate. See Fig 1 .

Fig 1: I-TEC Turbocharger Diagram
G94699