lemon-mirror:
Home >> Isuzu >> 1989 >> I-Mark LS >> Repair and Diagnosis >> Engine Performance >> System >> System/Component Tests - CARBURETED >> Fuel Control System >> Fuel Control (Feedback System Test) >> Feedback Preliminary Check

Feedback Preliminary Check

  1. Set parking brake. Place transmission in Park (A/T) or Neutral (M/T) and block wheels. Start engine. Disconnect and plug vacuum hose from charcoal canister and vent switch valve. Connect tachometer. Disconnect feedback solenoid at 3-pin carburetor connector. Ground mixture control (duty) solenoid dwell terminal.
  2. Run engine at 3000 RPM. Keep throttle constant and reconnect feedback solenoid. Note RPM. If RPM dropped more than 100 RPM, go to step 3). If RPM dropped less than 100 RPM or increased, check feedback solenoid connections or repair carburetor. Remove ground from feedback solenoid dwell terminal before returning to idle.
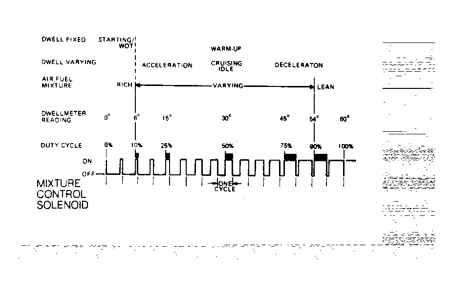
  3. Disconnect idle set connector and connect dwell meter (6-cyl. scale) to feedback solenoid dwell terminal. Warm engine at part throttle until upper radiator hose is warm. Return engine to idle and note dwell. See Fig 1 .
  4. If dwell is fixed less than 15 degrees, go to TEST 1. If dwell is fixed at 15-50 degrees, go to TEST 2. If dwell is fixed greater than 50 degrees, go to TEST 3. If dwell is varying, go to step 5).
  5. Check dwell at 3000 RPM. If dwell is varying between 10-50 degrees, check fuel-cut (slow-cut) system and vacuum leaks. If no problem is found, clear codes. See TESTS W/CODES - CARBURETED article. If dwell is not varying between 10-50 degrees, check TPS or repair carburetor. If no trouble is found, clear trouble codes.
Fig 1: Feedback Solenoid Reading & Dwell Cycling
G122315Courtesy of ISUZU MOTOR CO.